TOP
|
特許
|
意匠
|
商標
特許ウォッチ
Twitter
他の特許を見る
公開番号
2025174216
公報種別
公開特許公報(A)
公開日
2025-11-28
出願番号
2024080362
出願日
2024-05-16
発明の名称
送電装置
出願人
大成建設株式会社
,
国立大学法人豊橋技術科学大学
代理人
園田・小林弁理士法人
主分類
H02J
50/40 20160101AFI20251120BHJP(電力の発電,変換,配電)
要約
【課題】ワイヤレス給電システムの施工の効率化を図りつつ、定在波の発生を抑制する送電装置を提供する。
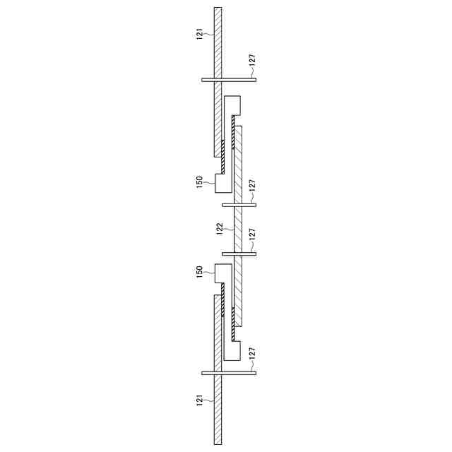
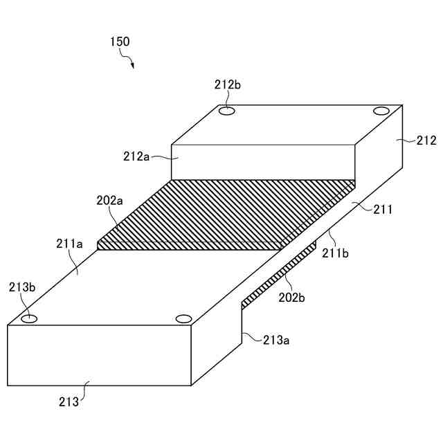
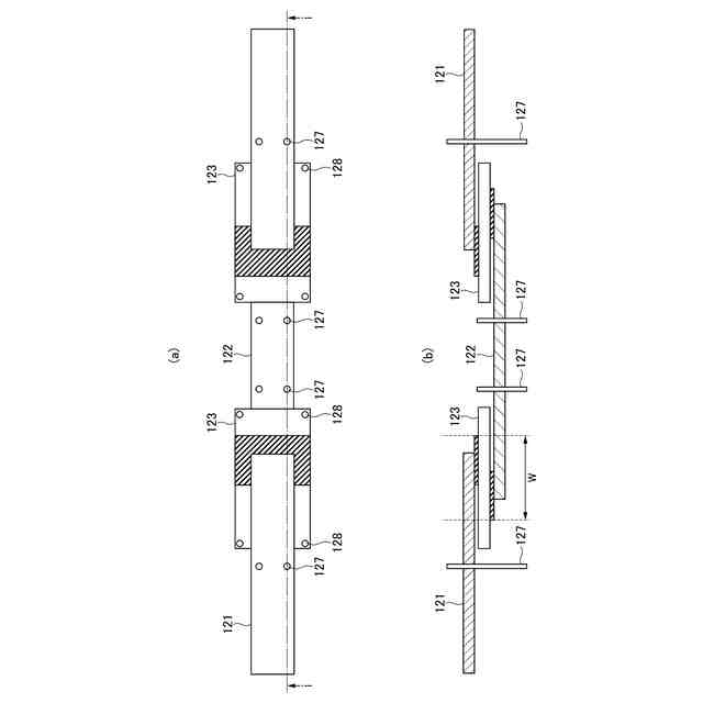
【解決手段】ワイヤレス給電システムにおいて、送電装置は、板状の導体を用いて形成される第1送電電極121と、板状の導体を用いて形成され、第1の電極の端部と重なる端部を有する第2送電電極122と、第1送電極及び第2送電電極を接続する電極接続部材123と、を有し、電極接続部材は、第1送電電極と第2送電電極との間に位置する誘電体からなる薄板部201と、薄板部の一方の面に貼付される第1の導電性テープ202aと、薄板部の他方の面に貼付され、少なくとも一部の領域Oが第1の導電性テープと重なる第2の導電性テープ202bとを有し、第1送電電極は、第1の導電性テープの外面に接着される一端から薄板部に沿って一方向に延在し、第2送電電極は、第2の導電性テープの外面に接着される一端から前記一方向の反対方向に延在する。
【選択図】図5
特許請求の範囲
【請求項1】
板状の導体を用いて形成される第1の電極と、
板状の導体を用いて形成され、前記第1の電極の端部と重なる端部を有する第2の電極と、
前記第1の電極及び前記第2の電極を接続する電極接続部材とを有し、
前記電極接続部材は、
前記第1の電極と前記第2の電極との間に位置する誘電体からなる薄板部と、
前記薄板部の一方の面に貼付される第1の導電性テープと、
前記薄板部の他方の面に貼付され、少なくとも一部の領域が前記第1の導電性テープと重なる第2の導電性テープとを有し、
前記第1の電極は、
前記第1の導電性テープの外面に接着される一端から前記薄板部に沿って一方向に延在し、
前記第2の電極は、
前記第2の導電性テープの外面に接着される一端から前記一方向の反対方向に延在する
送電装置。
続きを表示(約 600 文字)
【請求項2】
前記電極接続部材は、
前記薄板部の一方の面から起立する第1の段差面を有し、当該第1の段差面に前記第1の導電性テープの端面を当接させる第1の厚板部と、
前記薄板部の他方の面から起立する第2の段差面を有し、当該第2の段差面に前記第2の導電性テープの端面を当接させる第2の厚板部とをさらに有する
請求項1に記載の送電装置。
【請求項3】
前記第1の導電性テープは、
外面に接着される前記第1の電極の一端よりも前記反対方向側に前記第2の導電性テープと重ならない領域を有し、
前記第2の導電性テープは、
外面に接着される前記第2の電極の一端よりも前記一方向側に前記第1の導電性テープと重ならない領域を有する
請求項1に記載の送電装置。
【請求項4】
前記第1の導電性テープ及び前記第2の導電性テープの少なくとも一方は、
SUS(Steel Use Stainless)、銅、アルミニウム、亜鉛又は鉄を材料とする
請求項1に記載の送電装置。
【請求項5】
前記第1の電極、前記第2の電極又は前記電極接続部材を貫通し、前記送電装置が設置される設置面に前記第1の電極、前記第2の電極又は前記電極接続部材を固定する固定部材をさらに有する
請求項1に記載の送電装置。
発明の詳細な説明
【技術分野】
【0001】
本発明は、送電装置に関する。
続きを表示(約 1,900 文字)
【背景技術】
【0002】
近年、電力を用いて走行する電気自動車が普及しつつある。電気自動車は、車載されたバッテリに蓄えられた電力によりモータを駆動することにより、車輪を回転させて走行する。このため、バッテリの蓄電量が減少した場合には、利用者は、電気自動車を所定の充電設備に接続してバッテリの充電を行う必要がある。
【0003】
これに対し、例えば電気自動車、電動カート及びAGV(Automated Guided Vehicle)等のような電気エネルギーを動力に用いる車両に対して、ワイヤレスで電力を供給するワイヤレス給電システムが注目されている。ワイヤレス給電システムにおいては、例えば路面下に埋設された送電電極から車両に搭載された受電電極へ、無線により非接触で電力が供給される。非接触で電力が供給されるため、車両は、バッテリからの電力に頼ることなく、路面から送電される電力を用いて走行することができる。
【0004】
このようなワイヤレス給電システムの送電電極は、例えば道路に沿って延在する形状を有し、高周波電源からの高周波電圧を車両へ伝送する。このため、送電電極には、高周波電源から車両へ向かう進行波と、車両から高周波電源へ反射する反射波とが混在し、定在波が発生することがある。そして、送電電極に定在波が発生すると、定在波の節の位置においては受電電極への受電が行われないため、電力伝送効率が低下する。
【0005】
そこで、進行波及び反射波の位相を進相させるための接続回路を電化道路内の送電電極に周期的に接続し、送電電極における定在波の発生を抑制することが検討されている(例えば特許文献1)。
【0006】
しかしながら、接続回路によって定在波の発生を抑制する場合、送電電極に4分の1波長ごとの間隔で周期的に接続回路を接続する必要があるため、施工の効率が低下するとともに、コストが増大するという問題がある。すなわち、送電電極によって例えば10MHzの高周波電圧を伝送する場合、4分の1波長は7.5mであるため、電子部品を用いて構成される接続回路を7.5mごとに埋設することになる。また、接続回路は、車両が通行する路面下に埋設されるため、車両走行時の振動に耐える構造とすることが求められ、強度を確保するためのコストや接続回路の交換や維持管理のためのコストなどが必要となる。
【先行技術文献】
【特許文献】
【0007】
特開2014-227025号公報
特開2017-34919号公報
【発明の概要】
【発明が解決しようとする課題】
【0008】
本発明の目的は、ワイヤレス給電システムの施工の効率化を図りつつ、定在波の発生を抑制することができる送電装置を提供することである。
【課題を解決するための手段】
【0009】
本発明の一態様によれば、送電装置は、板状の導体を用いて形成される第1の電極と、板状の導体を用いて形成され、前記第1の電極の端部と重なる端部を有する第2の電極と、前記第1の電極及び前記第2の電極を接続する電極接続部材とを有し、前記電極接続部材は、前記第1の電極と前記第2の電極との間に位置する誘電体からなる薄板部と、前記薄板部の一方の面に貼付される第1の導電性テープと、前記薄板部の他方の面に貼付され、少なくとも一部の領域が前記第1の導電性テープと重なる第2の導電性テープとを有し、前記第1の電極は、前記第1の導電性テープの外面に接着される一端から前記薄板部に沿って一方向に延在し、前記第2の電極は、前記第2の導電性テープの外面に接着される一端から前記一方向の反対方向に延在する。
【0010】
この構成によれば、第1の電極及び第1の導電性テープを含む導体と、第2の電極及び第2の導電性テープを含む導体とが誘電体である薄板部を挟むコンデンサを形成し、このコンデンサにおいて対向する導体の面積が一定であるため、コンデンサの静電容量を一定に保つことができ、コンデンサの静電容量を正確に設定して、給電線路において定在波の発生を抑制することができる。また、第1の電極及び第2の電極の一端がそれぞれ第1の導電性テープ及び第2の導電性テープの外面に接着されればよいため、施工時の第1の電極及び第2の電極の位置ずれを許容することができ、施工効率を向上することができる。
(【0011】以降は省略されています)
この特許をJ-PlatPat(特許庁公式サイト)で参照する
関連特許
大成建設株式会社
送電装置
今日
大成建設株式会社
推定方法
1か月前
大成建設株式会社
防振床構造
今日
大成建設株式会社
風洞実験装置
18日前
大成建設株式会社
気体貯蔵放出材料
今日
大成建設株式会社
地盤計測システム
21日前
大成建設株式会社
木材性状推定システム
1か月前
大成建設株式会社
炭酸カルシウムの製造装置
今日
大成建設株式会社
木材縦弾性係数推定システム
1か月前
大成建設株式会社
足場装置および足場構築方法
1か月前
大成建設株式会社
土壌改良剤、及び土壌改良方法
1か月前
大成建設株式会社
仮設鋼床版および床版取替工法
24日前
大成建設株式会社
電力供給装置及び電力供給方法
21日前
大成建設株式会社
免震基礎構造およびその構築方法
1か月前
大成建設株式会社
中和処理システムと中和処理方法
今日
大成建設株式会社
単杭の極限先端支持力度の評価方法
1か月前
大成建設株式会社
建物の健全性モニタリングシステム
1日前
大成建設株式会社
風力発電方法および風力発電システム
8日前
大成建設株式会社
内空変位計測システム及び内空変位計測方法
1か月前
大成建設株式会社
消音設計支援システム、防振設計支援システム
1か月前
大成建設株式会社
木質構造部材の補強構造、及び木質構造部材の補強方法
23日前
大成建設株式会社
制振建物
今日
大成建設株式会社
インバート変位計測システムおよびインバート変位計測方法
1か月前
大成建設株式会社
杭基礎構造
今日
大成建設株式会社
RC壁架構
今日
大成建設株式会社
車両用ワイヤレス給電システム及び車両用ワイヤレス給電方法
8日前
大成建設株式会社
積層体部材、構造体、積層体部材を用いて構造体を構築する方法
1か月前
JFEシビル株式会社
トンネル間地盤性状の調査方法及び装置
22日前
大成建設株式会社
音源位置決定方法、音源位置決定プログラムおよび音源位置決定装置
8日前
大成建設株式会社
既設橋脚におけるアンカーボルトの施工方法およびブラケットの取付構造
1か月前
アキレス株式会社
養生シート製品、養生区画、及び養生区画の構築方法
1か月前
株式会社渋谷潜水工業
切断装置
1か月前
浙江大学
深層学習に基づく損傷判定方法
21日前
大成建設株式会社
ソイルモルタル製造システム、ソイルモルタル製造方法およびソイルモルタル打設方法
23日前
大成建設株式会社
混練材料供給装置とコンクリートプラント
29日前
大成建設株式会社
既設トンネルの拡幅構造と既設トンネルの拡幅施工方法、及び曲線パイプルーフの設計方法
23日前
続きを見る
他の特許を見る