TOP
|
特許
|
意匠
|
商標
特許ウォッチ
Twitter
他の特許を見る
公開番号
2025161006
公報種別
公開特許公報(A)
公開日
2025-10-24
出願番号
2024063823
出願日
2024-04-11
発明の名称
内空変位計測システム及び内空変位計測方法
出願人
大成建設株式会社
,
マック株式会社
代理人
弁理士法人磯野国際特許商標事務所
主分類
G01C
15/00 20060101AFI20251017BHJP(測定;試験)
要約
【課題】トンネル内空変位の計測精度を向上させる内空変位計測システム及び内空変位計測方法を提案する。
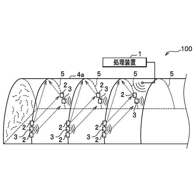
【解決手段】本発明は、トンネル4の壁面に固定される治具に配設されており、トンネル4の壁面にレーザを照射する複数のレーザ距離計と、レーザ距離計とレーザの照射位置との距離を示す距離データを解析して、トンネル4の内空変位量を計測する計測部11を備える処理装置1と、を備える内空変位計測システム100である。レーザ距離計は、レーザ距離計の照射角度を検出する角度検出部(例えば、傾斜計、エンコーダ)を備え、処理装置1は、角度検出部が検出した照射角度を用いて内空変位量の角度補正を行う角度補正部12を備えてもよい。
【選択図】図1
特許請求の範囲
【請求項1】
トンネルの壁面に固定される治具に配設されており、前記トンネルの壁面にレーザを照射する複数のレーザ距離計と、
前記レーザ距離計と前記レーザの照射位置との距離を示す距離データを解析して、前記トンネルの内空変位量を計測する計測部を備える処理装置と、を備える内空変位計測システム。
続きを表示(約 840 文字)
【請求項2】
前記レーザ距離計は、前記レーザ距離計の照射角度を検出する角度検出部を備え、
前記処理装置は、前記角度検出部が検出した照射角度を用いて前記内空変位量の角度補正を行う角度補正部を備える請求項1に記載の内空変位計測システム。
【請求項3】
前記照射角度として複数種類の水平照射角度を用意した複数断面計測を行う請求項2に記載の内空変位計測システム。
【請求項4】
前記処理装置は、
前記レーザ距離計に関する設定をする設定部と、
前記計測部が計測した内空変位量の経時変化の表示を制御する表示制御部と、をさらに備える請求項1に記載の内空変位計測システム。
【請求項5】
前記治具は、前記トンネルの壁面に密着する防振部、を備え、
前記レーザ距離計が前記防振部に連結する構造をとる請求項1に記載の内空変位計測システム。
【請求項6】
前記計測部は、前記照射位置から反射したレーザを分析し、分析結果としての計測品質を出力し、前記出力された計測品質を用いて前記レーザ距離計から取得した計測値に対するフィルタリング処理をする請求項1に記載の内空変位計測システム。
【請求項7】
前記治具に取り付けられた1又は複数のターゲットと、
トンネル坑内に配置されたトータルステーションとをさらに備えており、
前記ターゲットを用いて前記レーザ距離計の各々及び前記照射位置に座標を与える請求項1から請求項6の何れか1項に記載の内空変位計測システム。
【請求項8】
トンネルの壁面に固定される治具に配設されている複数のレーザ距離計が、前記トンネルの壁面にレーザを照射するステップと、
処理装置の計測部が、前記レーザ距離計と前記レーザの照射位置との距離を示す距離データを解析して、前記トンネルの内空変位量を計測するステップと、を備える内空変位計測方法。
発明の詳細な説明
【技術分野】
【0001】
本発明は、内空変位計測システム及び内空変位計測方法に関する。
続きを表示(約 2,200 文字)
【背景技術】
【0002】
近年、トンネル工事に用いる測量に関する技術開発が盛んであり、トンネル内空変位を計測するための測量に関する発明も知られている。例えば、特許文献1には、トンネル形状の変位測定方法について開示されている。特許文献1の発明は、測距手段の原点から照射されるレーザ光をトンネルの内周面に所定の角度毎に順次照射し、前記トンネルの内周面上の照射点で反射された前記レーザ光を前記原点において検知することで、前記原点と前記照射点との距離を所定の角度毎に順次測定する測距段階と、前記測距段階の測定結果に基づき、所定の基準点を基準として前記複数の照射点の位置データを算出することによりトンネル形状の断面データを作成する断面データ作成段階と、対象とする前記照射点の位置データが属する所定領域に含まれる複数の照射点の位置データに対し、それらの平均値をとることにより対象とする前記照射点の位置データを補正して補正位置データを算出する作業を、予め定められている複数の前記照射点について行うことによりトンネル形状の断面データを補正する断面データ補正段階とを含むトンネル形状の測定方法を行い、複数時点で前記補正された断面データを作成し、前記複数時点における補正された断面データを比較してトンネル形状の変位を検出する。
【先行技術文献】
【特許文献】
【0003】
特開2003-65755号公報
【発明の概要】
【発明が解決しようとする課題】
【0004】
特許文献1の発明において、測距手段はトンネル内の路面に設置されており、原点を中心にしてトンネルの周方向に全周回動し、トンネルの内周面にレーザ光を所定の角度毎に照射するものである。しかし、測距手段が全周回動するため、照射角度の設定が同じままであってもレーザ光の照射位置が多少なりともズレてしまうおそれがある。その結果、トンネル形状の変位の測定結果の精度を向上させることができないという問題点があった。
【0005】
このような観点から、本発明は、トンネル内空変位の計測精度を向上させる内空変位計測システム及び内空変位計測方法を提案することを課題とする。
【課題を解決するための手段】
【0006】
前記課題を解決する本発明は、トンネルの壁面に固定される治具に配設されており、前記トンネルの壁面にレーザを照射する複数のレーザ距離計と、前記レーザ距離計と前記レーザの照射位置との距離を示す距離データを解析して、前記トンネルの内空変位量を計測する計測部を備える処理装置と、を備える内空変位計測システムである。
また、本発明は、トンネルの壁面に固定される治具に配設されている複数のレーザ距離計が、前記トンネルの壁面にレーザを照射するステップと、処理装置の計測部が、前記レーザ距離計と前記レーザの照射位置との距離を示す距離データを解析して、前記トンネルの内空変位量を計測するステップと、を備える内空変位計測方法である。
本発明によれば、複数のレーザ距離計の各々を回動させずとも、レーザ照射による対応の照射位置での定点観測を実現できる。このため、一度設定した照射位置がレーザ距離計の動作に起因してズレることは無いため、トンネル内空変位の計測精度を向上させることができる。
【0007】
また、前記レーザ距離計は、前記レーザ距離計の照射角度を検出する角度検出部を備え、前記処理装置は、前記角度検出部が検出した照射角度を用いて前記内空変位量の角度補正を行う角度補正部を備えることが好ましい。特に、前記照射角度として複数種類の水平照射角度を用意した複数断面計測を行うことが好ましい。
これにより、障害物の存在等により、治具に配設されるレーザ距離計の姿勢を適宜変更した場合であっても、対応の照射位置での内空変位量を正確に計測できる。
【0008】
また、前記処理装置は、前記レーザ距離計に関する設定をする設定部と、前記計測部が計測した内空変位量の経時変化の表示を制御する表示制御部と、をさらに備えることが好ましい。
これにより、レーザ距離計に対し、露光時間や計測ピッチ等を設定したり、設定変更したりできる。また、内空変位量の経時変化を視覚的に捉えることができる。よって、設定変更したレーザ距離計を用いたときの内空変位量の経時変化を表示でき、内空変位量の経時変化に基づいてレーザ距離計の設定を最適化できる。
【0009】
また、前記治具は、前記トンネルの壁面に密着する防振部、を備え、前記レーザ距離計が前記防振部に連結する構造をとることが好ましい。
これにより、治具の防振性能を最大限に発揮することができる。
【0010】
また、前記計測部は、前記照射位置から反射したレーザを分析し、分析結果としての計測品質を出力し、前記出力された計測品質を用いて前記レーザ距離計から取得した計測値に対するフィルタリング処理をすることが好ましい。
これにより、計測品質が所定の閾値を下回る計測値を除外できる。よって、計測精度を向上できる。
(【0011】以降は省略されています)
この特許をJ-PlatPat(特許庁公式サイト)で参照する
関連特許
大成建設株式会社
推定方法
23日前
大成建設株式会社
風洞実験装置
5日前
大成建設株式会社
木質複合構造
1か月前
大成建設株式会社
地盤計測システム
8日前
大成建設株式会社
摩擦制振ダンパー
1か月前
大成建設株式会社
ペレット製造装置
1か月前
大成建設株式会社
既存建物の解体方法
1か月前
大成建設株式会社
床版接合部の設計方法
1か月前
大成建設株式会社
杭の施工方法および杭
1か月前
大成建設株式会社
木材性状推定システム
1か月前
大成建設株式会社
浚渫用施設および浚渫方法
2か月前
大成建設株式会社
足場装置および足場構築方法
24日前
大成建設株式会社
木材縦弾性係数推定システム
1か月前
大成建設株式会社
仮設鋼床版および床版取替工法
11日前
大成建設株式会社
電力供給装置及び電力供給方法
8日前
大成建設株式会社
土壌改良剤、及び土壌改良方法
1か月前
大成建設株式会社
地下水排水構造と地下水排水方法
1か月前
大成建設株式会社
免震基礎構造およびその構築方法
1か月前
大成建設株式会社
到達立坑における掘進機の回収方法
1か月前
大成建設株式会社
単杭の極限先端支持力度の評価方法
29日前
大成建設株式会社
異種コンクリートの切替り特定方法
1か月前
大成建設株式会社
水槽構造物および水槽構造物の施工方法
2か月前
大成建設株式会社
凍結地盤の掘削土の排土装置と排土方法
1か月前
大成建設株式会社
シールド到達構造およびシールド到達方法
2か月前
大成建設株式会社
既設トンネルの坑口補強構造と坑口補強方法
1か月前
大成建設株式会社
内空変位計測システム及び内空変位計測方法
22日前
大成建設株式会社
吊荷向き制御システムおよびブレード設置方法
1か月前
大成建設株式会社
消音設計支援システム、防振設計支援システム
22日前
大成建設株式会社
既設トンネルと分岐トンネルの接合構造と接合方法
1か月前
大成建設株式会社
木質構造部材の補強構造、及び木質構造部材の補強方法
10日前
大成建設株式会社
上下の既設トンネルを繋ぐ接合トンネルとその施工方法
1か月前
大成建設株式会社
上面増厚床版の非破壊評価方法及び非破壊評価システム
1か月前
大成建設株式会社
鋼管により形成される立坑の坑口補強構造と坑口補強方法
1か月前
大成建設株式会社
インバート変位計測システムおよびインバート変位計測方法
23日前
大成建設株式会社
作業環境監視システム及び作業環境監視システムの監視方法
1か月前
大成建設株式会社
遊離脂肪酸の分離方法および遊離脂肪酸生産微生物の培養方法
1か月前
続きを見る
他の特許を見る