TOP
|
特許
|
意匠
|
商標
特許ウォッチ
Twitter
他の特許を見る
公開番号
2025171828
公報種別
公開特許公報(A)
公開日
2025-11-20
出願番号
2024077531
出願日
2024-05-10
発明の名称
風力発電方法および風力発電システム
出願人
大成建設株式会社
代理人
弁理士法人磯野国際特許商標事務所
主分類
F03D
9/45 20160101AFI20251113BHJP(液体用機械または機関;風力原動機,ばね原動機,重力原動機;他類に属さない機械動力または反動推進力を発生するもの)
要約
【課題】建築物の屋上に設置された風力発電装置の発電効率を年間を通じて高めることができる風力発電方法を提供する。
【解決手段】建築物2の屋上2aに移動可能に設置された風力発電装置10を用いた風力発電方法であって、屋上2aの周辺空間の風況を作成する風況作成段階と、風況に基づいて、風力発電装置10の発電効率が設定値以上となる設置領域を屋上2aの周辺空間から抽出する設置領域抽出段階と、設置領域に風力発電装置10を移動させる移動段階と、を備えている。
【選択図】図1
特許請求の範囲
【請求項1】
建築物の屋上に移動可能に設置された風力発電装置を用いた風力発電方法であって、
前記屋上の周辺空間の風況を作成する風況作成段階と、
前記風況に基づいて、前記風力発電装置の発電効率が設定値以上となる設置領域を前記屋上の周辺空間から抽出する設置領域抽出段階と、
前記設置領域に前記風力発電装置を移動させる移動段階と、を備えていることを特徴とする風力発電方法。
続きを表示(約 690 文字)
【請求項2】
前記設置領域抽出段階では、
前記風力発電装置の発電効率が最大となる領域を前記設置領域として抽出することを特徴とする請求項1に記載の風力発電方法。
【請求項3】
前記風況作成段階では、
前記建築物の周囲に設けられた気象観測装置によって計測された風速を、前記屋上の周辺空間の風速に換算した推定風速によって、前記風況を作成することを特徴とする請求項1に記載の風力発電方法。
【請求項4】
前記推定風速が管理値よりも大きい場合は、風速が前記管理値以下となる退避領域に前記風力発電装置を移動させることを特徴とする請求項3に記載の風力発電方法。
【請求項5】
前記建築物が設置されている地域に、強風に関する警報または注意報が発令されている場合は、前記風力発電装置を前記退避領域に移動させることを特徴とする請求項4に記載の風力発電方法。
【請求項6】
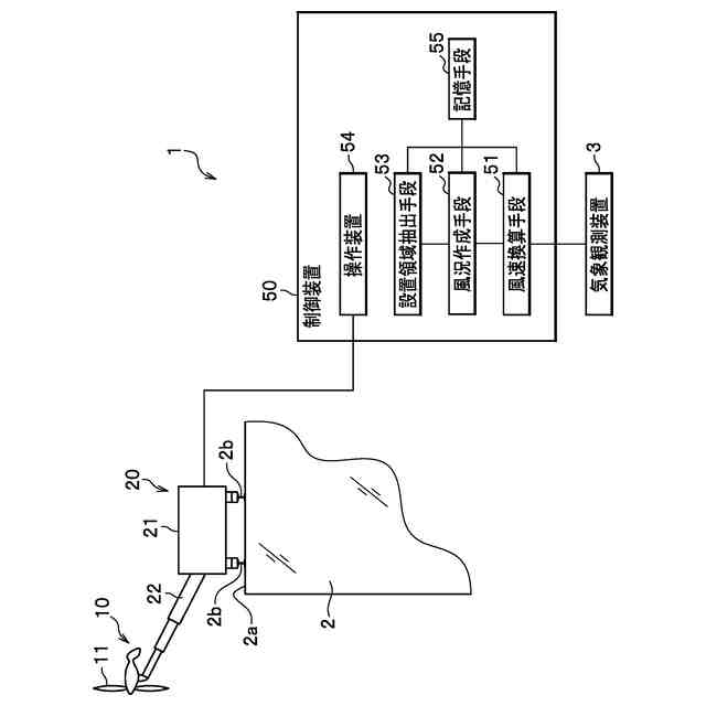
建築物の屋上に設置された移動装置と、
前記移動装置に取り付けられた風力発電装置と、
制御装置と、を備え、
前記制御装置は、
前記屋上の周辺空間の風況を作成する風況作成手段と、
前記風況に基づいて、前記風力発電装置の発電効率が設定値以上となる設置領域を、前記屋上の周辺空間から抽出する設置領域抽出手段と、を備えていることを特徴とする風力発電システム。
【請求項7】
前記移動装置は、
前記屋上に敷設されたレール上を走行可能であることを特徴とする請求項6に記載の風力発電システム。
発明の詳細な説明
【技術分野】
【0001】
本発明は、風力発電方法および風力発電システムに関する。
続きを表示(約 1,500 文字)
【背景技術】
【0002】
自然風の風速は、地上よりも上空の方が大きくなる。また、高層の建築物の屋上の周辺空間では、風が周囲の建築物や地形の影響を受け難い。そこで、市街地における風力発電システムとしては、建築物の屋上に小型の風力発電装置を固定し、屋上の風によって風力発電装置の風車を効率良く回転させることで、発電効率を高めようとしているものがある(例えば、特許文献1参照)。
【先行技術文献】
【特許文献】
【0003】
特許7333719号公報
【発明の概要】
【発明が解決しようとする課題】
【0004】
建築物の屋上の周辺空間では、風速が大きくなる領域が狭くて変化し易いとともに、季節ごとに風向きが変化するため、屋上に固定した風力発電装置では、年間を通じて効果的に発電できないという問題がある。
【0005】
本発明は、前記した問題を解決し、建築物の屋上に設置された風力発電装置の発電効率を年間を通じて高めることができる風力発電方法および風力発電システムを提供することを課題とする。
【課題を解決するための手段】
【0006】
前記課題を解決するため、第一の発明は、建築物の屋上に移動可能に設置された風力発電装置を用いた風力発電方法であって、前記屋上の周辺空間の風況を作成する風況作成段階と、前記風況に基づいて、前記風力発電装置の発電効率が設定値以上となる設置領域を前記屋上の周辺空間から抽出する設置領域抽出段階と、前記設置領域に前記風力発電装置を移動させる移動段階と、を備えている。
【0007】
本発明の風力発電方法では、建築物の屋上の周辺空間の風況に基づいて、風力発電に適した領域に風力発電装置を適宜に移動させている。このように、本発明の風力発電方法では、風の状況に応じて風力発電装置の位置を変化させることで、風力発電装置に効果的に風を当てることができるため、年間を通じて発電効率を高めることができる。
【0008】
前記した風力発電方法において、前記設置領域抽出段階では、前記風力発電装置の発電効率が最大となる領域を前記設置領域として抽出することで、風力発電装置の発電効率を高めることが好ましい。
【0009】
前記した風力発電方法において、前記風況作成段階では、前記建築物の周囲に設けられた気象観測装置によって計測された風速を、前記建築物まわりの風のシミュレーション等により、前記屋上の周辺空間の風速に換算した推定風速によって、前記風況を作成することが好ましい。
このようにすると、建築物の屋上に気象観測装置を設置しなくても、屋上の周辺空間の風況を精度良く作成できる。
【0010】
前記した風力発電方法において、前記推定風速が管理値よりも大きい場合は、前記屋上において風速が前記管理値以下となる退避領域に前記風力発電装置を移動させることで、風力発電装置の安全性を高めることが好ましい。これにより,従来は必要であった風力発電装置の支持構造ならびに基礎構造が不要となり、設置コストを低減できる。
なお、管理値とは、風力発電装置が風の影響で破損することなく、安全に設置および駆動できる最大風速である。
また、風力発電装置の退避領域とは、例えば、風況作成段階において弱風となることが推定された領域や、格納庫内の領域や屋上の設備が風除けとなって風速が小さくなる領域などである。
(【0011】以降は省略されています)
この特許をJ-PlatPat(特許庁公式サイト)で参照する
関連特許
大成建設株式会社
推定方法
29日前
大成建設株式会社
木質複合構造
2か月前
大成建設株式会社
風洞実験装置
11日前
大成建設株式会社
地盤計測システム
14日前
大成建設株式会社
ペレット製造装置
1か月前
大成建設株式会社
摩擦制振ダンパー
1か月前
大成建設株式会社
既存建物の解体方法
1か月前
大成建設株式会社
床版接合部の設計方法
1か月前
大成建設株式会社
杭の施工方法および杭
1か月前
大成建設株式会社
木材性状推定システム
1か月前
大成建設株式会社
足場装置および足場構築方法
1か月前
大成建設株式会社
木材縦弾性係数推定システム
1か月前
大成建設株式会社
電力供給装置及び電力供給方法
14日前
大成建設株式会社
仮設鋼床版および床版取替工法
17日前
大成建設株式会社
土壌改良剤、及び土壌改良方法
1か月前
大成建設株式会社
地下水排水構造と地下水排水方法
1か月前
大成建設株式会社
免震基礎構造およびその構築方法
1か月前
大成建設株式会社
到達立坑における掘進機の回収方法
1か月前
大成建設株式会社
異種コンクリートの切替り特定方法
1か月前
大成建設株式会社
単杭の極限先端支持力度の評価方法
1か月前
大成建設株式会社
風力発電方法および風力発電システム
1日前
大成建設株式会社
凍結地盤の掘削土の排土装置と排土方法
1か月前
大成建設株式会社
既設トンネルの坑口補強構造と坑口補強方法
1か月前
大成建設株式会社
内空変位計測システム及び内空変位計測方法
28日前
大成建設株式会社
吊荷向き制御システムおよびブレード設置方法
2か月前
大成建設株式会社
消音設計支援システム、防振設計支援システム
28日前
大成建設株式会社
既設トンネルと分岐トンネルの接合構造と接合方法
1か月前
大成建設株式会社
上面増厚床版の非破壊評価方法及び非破壊評価システム
1か月前
大成建設株式会社
木質構造部材の補強構造、及び木質構造部材の補強方法
16日前
大成建設株式会社
上下の既設トンネルを繋ぐ接合トンネルとその施工方法
1か月前
大成建設株式会社
鋼管により形成される立坑の坑口補強構造と坑口補強方法
1か月前
大成建設株式会社
インバート変位計測システムおよびインバート変位計測方法
29日前
大成建設株式会社
作業環境監視システム及び作業環境監視システムの監視方法
1か月前
大成建設株式会社
遊離脂肪酸の分離方法および遊離脂肪酸生産微生物の培養方法
1か月前
大成建設株式会社
車両用ワイヤレス給電システム及び車両用ワイヤレス給電方法
1日前
JFEシビル株式会社
トンネル間地盤性状の調査方法及び装置
15日前
続きを見る
他の特許を見る