TOP
|
特許
|
意匠
|
商標
特許ウォッチ
Twitter
他の特許を見る
10個以上の画像は省略されています。
公開番号
2025160857
公報種別
公開特許公報(A)
公開日
2025-10-23
出願番号
2024119412
出願日
2024-07-25
発明の名称
インバート変位計測システムおよびインバート変位計測方法
出願人
大成建設株式会社
,
東亞エルメス株式会社
代理人
弁理士法人磯野国際特許商標事務所
主分類
G01C
7/02 20060101AFI20251016BHJP(測定;試験)
要約
【課題】インバートの複数点の変位を同時に計測することができ、インバートの幅員方向における鉛直変位分布を算出できるインバート変位計測システムを提供する。
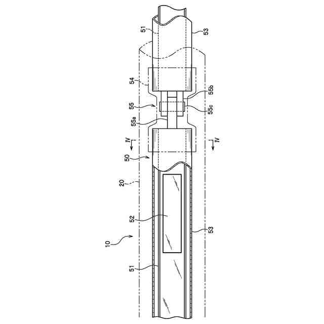
【解決手段】インバート変位計測システム10であって、埋め戻し土3内に埋設される挿入管20と、挿入管20内に挿入される変位計測器50と、変位算出装置100と、を備えている。変位計測器50は、インバート2の幅員方向に並べられた複数の芯材51と、各芯材51に取り付けられた加速度センサ52と、を有している。隣り合う二本の芯材51,51は、少なくともトンネル1の延長方向に沿う水平軸線回りに傾動自在に連結されている。変位算出装置100は、各加速度センサ52から取得した加速度データに基づいて、インバート2の鉛直方向の変位を算出する。
【選択図】図1
特許請求の範囲
【請求項1】
トンネルのインバートの変位を計測するインバート変位計測システムであって、
前記インバートの幅員方向に延在した状態で、前記インバートの内面に設けられた埋め戻し土内に埋設される挿入管と、
前記挿入管内に挿入される変位計測器と、
変位算出装置と、を備え、
前記変位計測器は、
前記インバートの幅員方向に並べられた複数の芯材と、
前記各芯材にそれぞれ取り付けられた複数の加速度センサと、を有し、
隣り合う二本の前記芯材は、少なくとも前記トンネルの延長方向に沿う水平軸線回りに傾動自在に連結されており、
前記変位算出装置は、
前記各加速度センサから取得した加速度データに基づいて、前記インバートの鉛直方向の変位を算出することを特徴とするインバート変位計測システム。
続きを表示(約 1,300 文字)
【請求項2】
請求項1に記載のインバート変位計測システムであって、
前記変位算出装置は、前記変位を所定時間ごとに算出することを特徴とするインバート変位計測システム。
【請求項3】
請求項1に記載のインバート変位計測システムであって、
前記挿入管の端部は、前記埋め戻し土の上面に配置されていることを特徴とするインバート変位計測システム。
【請求項4】
請求項1に記載のインバート変位計測システムであって、
隣り合う二本の前記芯材は、前記トンネルの延長方向に沿う水平軸線回りのみに傾動自在に連結されていることを特徴とするインバート変位計測システム。
【請求項5】
請求項4に記載のインバート変位計測システムであって、
隣り合う二本の前記芯材を連結する連結部には、
前記トンネルの延長方向に沿う水平軸線に沿って延在している連結軸が設けられており、
前記芯材が前記連結軸の軸回りに傾動自在であることを特徴とするインバート変位計測システム。
【請求項6】
請求項1に記載のインバート変位計測システムであって、
前記挿入管は、可撓性を有する管体であることを特徴とするインバート変位計測システム。
【請求項7】
請求項1に記載のインバート変位計測システムであって、
前記芯材は、筒体内に挿入されていることを特徴とするインバート変位計測システム。
【請求項8】
請求項1に記載のインバート変位計測システムであって、
前記インバートの内面に対する前記挿入管の端部側の部位の傾斜状態を保つための形状保持管を備え、
前記形状保持管は、前記埋め戻し土の幅員方向の端部に埋設され、上部から下部に向かうに連れて縦方向から横方向に変化するように傾斜しており、
前記形状保持管に前記挿入管の端部側の部位が挿通されていることを特徴とするインバート変位計測システム。
【請求項9】
請求項8に記載のインバート変位計測システムであって、
前記形状保持管は、支持部材によって前記インバートの内面に支持されており、
前記支持部材は、
前記形状保持管の外周面に周設される湾曲部と、
前記インバートの内面に固定される固定部と、を備えていることを特徴とするインバート変位計測システム。
【請求項10】
請求項1に記載されたインバート変位計測システムを用いたインバート変位計測方法であって、
前記挿入管の端部から前記挿入管内に前記変位計測器を挿入する変位計測器挿入工程と、
前記挿入管の端部に、前記変位計測器の端部を固定する変位計測器固定工程と、
前記各加速度センサが計測した前記加速度データに基づいて、前記変位算出装置が前記インバートの鉛直方向の変位を算出する変位分布算出工程と、を備えていることを特徴とするインバート変位計測方法。
(【請求項11】以降は省略されています)
発明の詳細な説明
【技術分野】
【0001】
本発明は、インバート変位計測システムおよびインバート変位計測方法に関する。
続きを表示(約 1,700 文字)
【背景技術】
【0002】
地質が不良な地山等においては、トンネルのインバートに設計で想定した値を超える外圧が作用することがあり、その外圧によってインバートが隆起する場合がある。
インバートの隆起が継続する場合には、隆起現象の程度に応じた対策を講じる必要がある。また、インバートの覆工コンクリートの打設はトンネル変形の収束を条件としており、トンネルの変形を変位計測により確認する必要があるため、インバートの変位計測は重要である。
【0003】
インバートの変位を計測する計測装置としては、埋め戻し土(路盤)下部に埋設した検知部からインバートの内面に亘ってチューブを延設しているものがある(例えば、特許文献1および特許文献2参照)。この計測装置では、インバートの変形により検知部の位置が変化したときの検知部内の液体の液面の高さの変化に基づいて、インバートの変位を計測するように構成されている。
【先行技術文献】
【特許文献】
【0004】
特許7129240号公報
特許7284129号公報
【発明の概要】
【発明が解決しようとする課題】
【0005】
前記した従来の計測装置は、インバートの単点の変位を計測するものであり、インバートの幅員方向の変位分布を算出できないため、トンネルの底部全体の変形を把握し難い。
【0006】
本発明は、前記した問題を解決し、インバートの複数点の変位を同時に計測することができ、インバートの幅員方向における鉛直変位分布を算出できるインバート変位計測システムおよびインバート変位計測方法を提供することを課題とする。
【課題を解決するための手段】
【0007】
前記課題を解決するため、第一の発明は、トンネルのインバートの変位を計測するインバート変位計測システムであって、前記インバートの幅員方向に延在した状態で、前記インバートの内面に設けられた埋め戻し土内に埋設される挿入管と、前記挿入管内に挿入される変位計測器と、変位算出装置と、を備えている。前記変位計測器は、前記インバートの幅員方向に並べられた複数の芯材と、前記各芯材にそれぞれ取り付けられた複数の加速度センサと、を有している。隣り合う二本の前記芯材は、少なくとも前記トンネルの延長方向に沿う水平軸線回りに傾動自在に連結されている。前記変位算出装置は、前記各加速度センサから取得した加速度データに基づいて、前記インバートの鉛直方向の変位を算出する。
【0008】
本発明のインバート変位計測システムでは、インバートの吹付けコンクリートまたはインバートコンクリートの構築後に、挿入管内に変位計測器を挿入することで、埋め戻し土内に複数の加速度センサをインバートの幅員方向に並べることができる。そして、各加速度センサから取得した加速度データ(重力加速度に相関する加速度データ)に基づいて、インバートの幅員方向の複数点のそれぞれにおける鉛直方向の変位を同時に計測できるため、インバートの幅員方向における鉛直変位分布(隆起または沈下)を算出できる。
【0009】
本発明のインバート変位計測システムでは、挿入管内に変位計測器を挿入していくときに、挿入管の湾曲に沿って隣り合う二本の芯材が屈曲するため、挿入管内に変位計測器をスムーズに挿入できる。
本発明のインバート変位計測システムでは、インバートの変位を計測した後に、挿入管から変位計測器を引き抜いて回収できるため、インバートの変位計測に要するコストを抑えることができる。
本発明のインバート変位計測システムでは、複数の芯材を連結した構造であるため、施工現場ごとにインバートの幅員の大きさに合わせて、変位計測器の長さを容易に変更できる。
【0010】
前記したインバート変位計測システムにおいて、前記変位算出装置が前記変位を所定時間ごとに算出して、インバートの幅員方向における鉛直変位分布の経時変化を把握することが好ましい。
(【0011】以降は省略されています)
この特許をJ-PlatPat(特許庁公式サイト)で参照する
関連特許
大成建設株式会社
送電装置
10日前
大成建設株式会社
推定方法
1か月前
大成建設株式会社
防振床構造
10日前
大成建設株式会社
木質複合構造
2か月前
大成建設株式会社
風洞実験装置
28日前
大成建設株式会社
摩擦制振ダンパー
2か月前
大成建設株式会社
ペレット製造装置
2か月前
大成建設株式会社
地盤計測システム
1か月前
大成建設株式会社
気体貯蔵放出材料
10日前
大成建設株式会社
既存建物の解体方法
2か月前
大成建設株式会社
締固め状態推定方法
3日前
大成建設株式会社
床版接合部の設計方法
2か月前
大成建設株式会社
杭の施工方法および杭
2か月前
大成建設株式会社
木材性状推定システム
2か月前
大成建設株式会社
緑化構造物および緑化方法
3日前
大成建設株式会社
炭酸カルシウムの製造装置
10日前
大成建設株式会社
足場装置および足場構築方法
1か月前
大成建設株式会社
木材縦弾性係数推定システム
2か月前
大成建設株式会社
仮設鋼床版および床版取替工法
1か月前
大成建設株式会社
土壌改良剤、及び土壌改良方法
1か月前
大成建設株式会社
電力供給装置及び電力供給方法
1か月前
大成建設株式会社
免震基礎構造およびその構築方法
1か月前
大成建設株式会社
地下水排水構造と地下水排水方法
2か月前
大成建設株式会社
中和処理システムと中和処理方法
10日前
大成建設株式会社
到達立坑における掘進機の回収方法
2か月前
大成建設株式会社
建物の健全性モニタリングシステム
11日前
大成建設株式会社
異種コンクリートの切替り特定方法
2か月前
大成建設株式会社
単杭の極限先端支持力度の評価方法
1か月前
大成建設株式会社
風力発電方法および風力発電システム
18日前
大成建設株式会社
凍結地盤の掘削土の排土装置と排土方法
2か月前
大成建設株式会社
内空変位計測システム及び内空変位計測方法
1か月前
大成建設株式会社
既設トンネルの坑口補強構造と坑口補強方法
2か月前
大成建設株式会社
消音設計支援システム、防振設計支援システム
1か月前
大成建設株式会社
既設トンネルと分岐トンネルの接合構造と接合方法
2か月前
大成建設株式会社
上面増厚床版の非破壊評価方法及び非破壊評価システム
2か月前
大成建設株式会社
上下の既設トンネルを繋ぐ接合トンネルとその施工方法
2か月前
続きを見る
他の特許を見る