TOP
|
特許
|
意匠
|
商標
特許ウォッチ
Twitter
他の特許を見る
10個以上の画像は省略されています。
公開番号
2025159832
公報種別
公開特許公報(A)
公開日
2025-10-22
出願番号
2024062634
出願日
2024-04-09
発明の名称
足場装置および足場構築方法
出願人
大成建設株式会社
,
東京瓦斯株式会社
代理人
弁理士法人磯野国際特許商標事務所
主分類
E04G
3/00 20060101AFI20251015BHJP(建築物)
要約
【課題】簡易に構造物に設置することが可能で、工期短縮およびコスト低減化を図ることが可能な足場装置および足場構築方法を提案する。
【解決手段】構造物に固定された複数の受部材4と、受部材4を介して構造物に取り付けられる足場ユニット5とを備える足場装置2。足場ユニット5は、足場部材52と、足場部材52を支持するフレーム構造体51と、フレーム構造体51の上部に固定された複数の係止部材53とを有している。足場ユニット5は、係止部材53を受部材4に係止することで、構造物に取り付ける。
【選択図】図2
特許請求の範囲
【請求項1】
構造物に固定された複数の受部材と、
前記受部材を介して前記構造物に取り付けられる足場ユニットと、を備える足場装置であって、
前記足場ユニットは、
足場部材と、
前記足場部材を支持するフレーム構造体と、
前記フレーム構造体の上部に固定された複数の係止部材と、を有し、
前記係止部材は、前記受部材に係止可能であることを特徴とする、足場装置。
続きを表示(約 1,000 文字)
【請求項2】
前記受部材に係止された前記係止部材とともに前記受部材を把持するストッパが前記フレーム構造体に設けられていることを特徴とする、請求項1に記載の足場装置。
【請求項3】
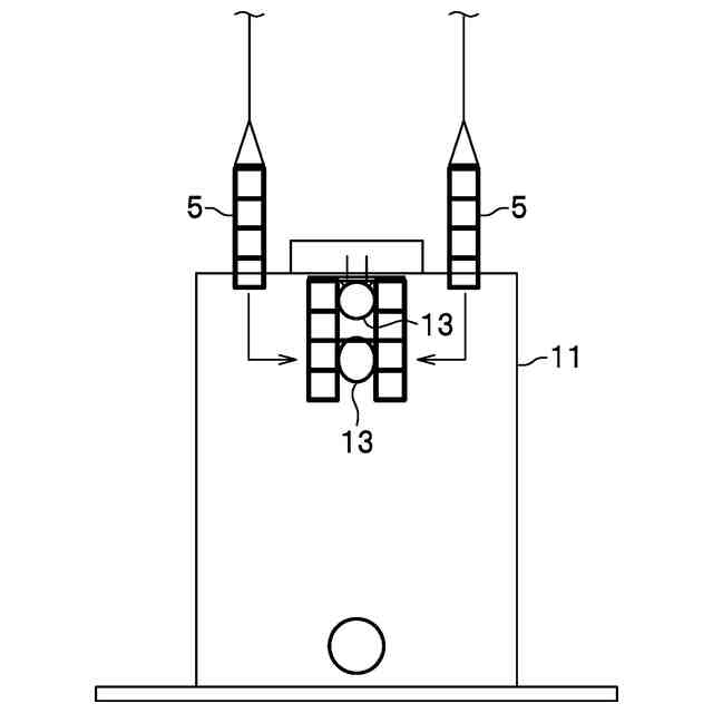
一対の足場ユニットが前記構造物を挟んで対向しており、
前記足場ユニット同士は、下部において連結されていることを特徴とする、請求項1に記載の足場装置。
【請求項4】
前記フレーム構造体の上に形成された屋根枠と、
前記屋根枠を介して前記一対の足場ユニットの上面を覆う屋根用シートと、
前記一対の足場ユニットの外周面を覆う側面シートと、を備えていることを特徴とする、請求項3に記載の足場装置。
【請求項5】
前記構造物が、鋼管であり、
前記側面シートに、前記鋼管を貫通可能な切れ目が形成されていることを特徴とする、請求項4に記載の足場装置。
【請求項6】
前記鋼管に周設されたエアチューブをさらに備えており、
前記エアチューブには、前記側面シートに一部が巻き付けられていることを特徴とする、請求項5に記載の足場装置。
【請求項7】
請求項1乃至請求項6のいずれか1項に記載の足場装置を利用して足場を構築する足場構築方法であって、
構造物を挟んで対向するように一対の前記足場ユニットを設置する足場設置作業と、
前記足場ユニット同士を前記フレーム構造体の下部において連結するフレーム連結作業と、を行うことを特徴とする、足場構築方法。
【請求項8】
前記足場設置作業では、前記係止部材を前記受部材に係止させるとともに、前記係止部材の下方に設けられたストッパを前記受部材の下面に当接させて、前記係止部材および前記ストッパにより前記受部材を把持することを特徴とする、請求項7に記載の足場構築方法。
【請求項9】
前記構造物は鋼管からなり、
前記一対の足場ユニットの上方を屋根用シートで覆う屋根シート設置作業と、
前記一対の足場ユニットの外側面を側面シートで覆う側面シート設置作業と、を行い、
側面シート設置作業では、前記側面シートに形成された切れ目に前記構造物を挿通させることを特徴とする、請求項7に記載の足場構築方法。
【請求項10】
前記屋根シート設置作業の前に、前記フレーム構造体上に屋根枠を形成する屋根枠形成作業を行うことを特徴とする、請求項9に記載の足場構築方法。
発明の詳細な説明
【技術分野】
【0001】
本発明は、足場装置およびこの足場装置を利用した足場構築方法に関する。
続きを表示(約 1,500 文字)
【背景技術】
【0002】
構造物の施工等において、高所で作業を行う場合には、構造物の周囲に足場を設けて作業スペースを確保する場合がある。例えば、特許文献1には、地上から屋上に向けてビルの前後左右に設置された足場が開示されている。一方、塔状構造物、橋脚、高層ビルなどの大型構造物の施工では、地上部から足場を組み立てるのに手間と費用がかかる。また、地上部に大規模な足場を構築する用地を確保できない場合がある。
【0003】
そのため、構造物自体に足場を設置して、高所での作業スペースを確保する場合がある。例えば、特許文献2には、構造物の頂部に受け止め金具を介して脱着可能に組まれた屋根型の屋根フレームと、屋根フレームの上面を覆う覆工材と、構造物の外周に配置された作業用足場と、屋根フレームから垂下られた側面養生シートとを備える足場装置が開示されている。
【先行技術文献】
【特許文献】
【0004】
特開2019-167813号公報
特開2002-061393号公報
【発明の概要】
【発明が解決しようとする課題】
【0005】
特許文献2の足場装置は、構造物の上端に載置するように屋根フレームを設置する必要があり、設置可能な構造物が限定される。また、特許文献2の足場装置は、屋根フレームと足場を個別に構造物に固定するため、手間がかかる。
【0006】
本発明は、簡易に構造物へ設置することが可能で、工期短縮およびコスト低減化を図ることが可能な足場装置および足場構築方法を提案することを目的とする。
【課題を解決するための手段】
【0007】
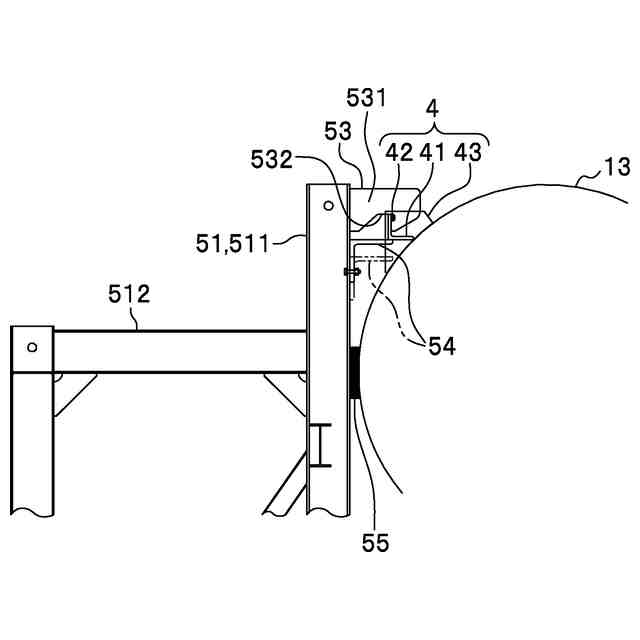
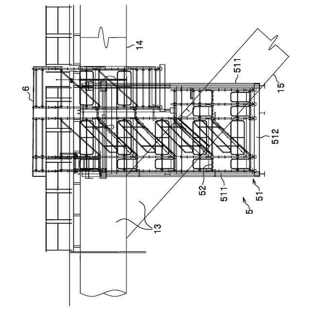
前記課題を解決するための本発明の足場装置は、構造物に固定された複数の受部材と、前記受部材を介して前記構造物に取り付けられる足場ユニットとを備えている。前記足場ユニットは、足場部材と、前記足場部材を支持するフレーム構造体と、前記フレーム構造体の上部に固定された前記受部材に係止可能な複数の係止部材とを有している。
【0008】
この足場装置を利用した足場構築方法は、構造物を挟んで対向するように一対の前記足場ユニットを設置する足場設置作業と、前記足場ユニット同士を前記フレーム構造体の下部において連結するフレーム連結作業とを行う。
【0009】
かかる足場装置および足場形成方法によれば、構造物に固定された受部材に係止部材を係止することで、予め地組された足場ユニットを構造物に設置することができるため、簡易に足場を形成できる。そのため、足場を構築するために要する時間を短縮し、これに伴う費用の低減化も図ることができる。足場ユニットは、構造物に対して着脱可能なため、転用することも可能である。構造物を挟んで対向する一対の足場ユニット同士は、下部において連結することが好ましい。このようにすると、一対の足場ユニット同士が下部において離間することが抑制されて、安定性が向上する。
【0010】
前記受部材に係止された前記係止部材とともに前記受部材を把持するストッパが前記フレーム構造体に設けられている場合には、前記足場設置作業において、前記係止部材を前記受部材に係止させるとともに、前記ストッパを前記受部材の下面に当接させる。こうすることで、前記係止部材および前記ストッパにより前記受部材を把持して、足場ユニットのブレ(揺れ)を低減して、安定性の向上を図ることができる。
(【0011】以降は省略されています)
この特許をJ-PlatPat(特許庁公式サイト)で参照する
関連特許
大成建設株式会社
送電装置
10日前
大成建設株式会社
推定方法
1か月前
大成建設株式会社
防振床構造
10日前
大成建設株式会社
風洞実験装置
28日前
大成建設株式会社
気体貯蔵放出材料
10日前
大成建設株式会社
地盤計測システム
1か月前
大成建設株式会社
締固め状態推定方法
3日前
大成建設株式会社
木材性状推定システム
2か月前
大成建設株式会社
緑化構造物および緑化方法
3日前
大成建設株式会社
炭酸カルシウムの製造装置
10日前
大成建設株式会社
足場装置および足場構築方法
1か月前
大成建設株式会社
仮設鋼床版および床版取替工法
1か月前
大成建設株式会社
土壌改良剤、及び土壌改良方法
1か月前
大成建設株式会社
電力供給装置及び電力供給方法
1か月前
大成建設株式会社
中和処理システムと中和処理方法
10日前
大成建設株式会社
免震基礎構造およびその構築方法
1か月前
大成建設株式会社
建物の健全性モニタリングシステム
11日前
大成建設株式会社
単杭の極限先端支持力度の評価方法
1か月前
大成建設株式会社
風力発電方法および風力発電システム
18日前
大成建設株式会社
内空変位計測システム及び内空変位計測方法
1か月前
大成建設株式会社
消音設計支援システム、防振設計支援システム
1か月前
大成建設株式会社
木質構造部材の補強構造、及び木質構造部材の補強方法
1か月前
大成建設株式会社
制振建物
10日前
大成建設株式会社
RC壁架構
10日前
大成建設株式会社
インバート変位計測システムおよびインバート変位計測方法
1か月前
大成建設株式会社
杭基礎構造
10日前
大成建設株式会社
車両用ワイヤレス給電システム及び車両用ワイヤレス給電方法
18日前
JFEシビル株式会社
トンネル間地盤性状の調査方法及び装置
1か月前
大成建設株式会社
積層体部材、構造体、積層体部材を用いて構造体を構築する方法
1か月前
大成建設株式会社
音源位置決定方法、音源位置決定プログラムおよび音源位置決定装置
18日前
大成建設株式会社
既設橋脚におけるアンカーボルトの施工方法およびブラケットの取付構造
1か月前
アキレス株式会社
養生シート製品、養生区画、及び養生区画の構築方法
1か月前
株式会社渋谷潜水工業
切断装置
1か月前
浙江大学
深層学習に基づく損傷判定方法
1か月前
大成建設株式会社
ソイルモルタル製造システム、ソイルモルタル製造方法およびソイルモルタル打設方法
1か月前
大成建設株式会社
既設トンネルの拡幅構造と既設トンネルの拡幅施工方法、及び曲線パイプルーフの設計方法
1か月前
続きを見る
他の特許を見る