TOP
|
特許
|
意匠
|
商標
特許ウォッチ
Twitter
他の特許を見る
公開番号
2025158288
公報種別
公開特許公報(A)
公開日
2025-10-17
出願番号
2024060682
出願日
2024-04-04
発明の名称
単杭の極限先端支持力度の評価方法
出願人
大成建設株式会社
代理人
弁理士法人磯野国際特許商標事務所
主分類
E02D
5/34 20060101AFI20251009BHJP(水工;基礎;土砂の移送)
要約
【課題】杭の先端部を支持する薄い砂質土層の下に粘性土層が存在する地盤条件において、場所打ち杭や埋込杭の先端支持力を高精度に評価するための単杭の極限先端支持力度の評価方法を提案する。
【解決手段】場所打ち杭または埋込杭からなる杭1に適用される単杭の極限先端支持力度の評価方法である。杭の極限先端支持力度q
p0.1
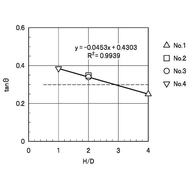
は、式1で評価される。杭1の下方の支持層での荷重分散角θは、杭1の下方の支持層厚Hと杭の先端径Dとの比の一次関数である式2から算出される。
q
p0.1
={1+2(H/D)tanθ}
2
・q
c
・・・式1
tanθ=f(H/D) ・・・式2
ここで、H/D:有効支持層厚比
q
c
:下部層の終局支持力(=6c
u
)
c
u
:下部層の非排水せん断強度または粘着力
【選択図】図1
特許請求の範囲
【請求項1】
場所打ち杭または埋込杭からなる杭に適用される単杭の極限先端支持力度の評価方法であって、
粘性土を主体とする下部層上に積層された砂質土を主体とする支持層に支持されており、
前記杭の極限先端支持力度q
p0.1
は、式1で評価され、
前記杭の下方の支持層での荷重分散角は、前記杭の下方の支持層厚Hと前記杭の先端径Dとの比の一次関数である式2から算出されることを特徴とする、単杭の極限先端支持力度の評価方法。
q
p0.1
={1+2(H/D)tanθ}
2
・q
c
・・・式1
ここで、q
p0.1
:終局先端支持力(=先端沈下比Sp/Dが0.1に達したときの支持力)
Sp:先端沈下
H/D:有効支持層厚比
θ:支持層での荷重分散角
tanθ=f(H/D) ・・・式2
q
c
:下部層の終局支持力
c
u
:下部層の非排水せん断強度または粘着力
q
c
=6c
u
続きを表示(約 160 文字)
【請求項2】
前記tanθが0.2から0.4の範囲内であることを特徴とする、請求項1に記載の単杭の極限先端支持力度の評価方法。
【請求項3】
前記式2が式3であらわされることを特徴とする、請求項1に記載の単杭の極限先端支持力度の評価方法。
tanθ=a(H/D)+b ・・・式3
発明の詳細な説明
【技術分野】
【0001】
本発明は、単杭の極限先端支持力度の評価方法に関する。
続きを表示(約 1,800 文字)
【背景技術】
【0002】
地盤に形成された掘削孔に既製杭を挿入して建て込む埋込杭では、掘削孔先端部に根固め液を注入して、杭先端部に根固め部を形成する場合がある(例えば、特許文献1参照)。この場合、掘削孔の先端は支持層に到達させておき、根固め部は支持層に挿入させた状態で形成する。
【0003】
このような埋込杭は、杭に作用する荷重によって過大な沈下が生じることが無いように、十分な先端支持力を確保する必要がある。そのため、埋込杭の先端支持力を予め評価する必要がある。場所打ち杭や埋込杭の先端支持力の評価方法として、杭先端面積Apに先端平均N値Npおよび先端支持力係数αを乗じることで、先端支持力Rpを算出する方法がある(式1参照)。
Rp=α・Np・Ap ・・・式1
【0004】
杭の先端部を支持する支持層が薄い砂質土層で、下に粘性土層が存在する地盤条件では、杭下方の砂質土層厚Hの杭先端径Dに対する比(有効支持層厚比)H/Dが減少するにつれて杭の下方に形成される円錐台状の砂質土層の土塊が粘性土層に貫入する破壊を伴う可能性が高まる。このような破壊が生じると、杭の支持力が低下してしまう。そのため、支持層が薄い場合には、先端支持力を適切に評価したうえで、現地に応じた設計をする必要がある。
【0005】
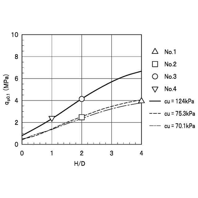
薄層支持杭の先端支持力の評価方法として、非特許文献1には、式2が示されている。
q
p0.1
={1+2(H/D)tanθ}
2
・q
c
・・・式2
ここで、q
p0.1
:終局先端支持力(先端沈下比Sp/Dが0.1に達したとき)
H/D:有効支持層厚比
θ:支持層(砂質土)での荷重分散角(縦1:横0.3)
tanθ=0.3
q
c
:下部層(粘性土)の終局支持力
q
c
=6c
u
c
u
:下部層の非排水せん断強度または粘着力
Sp:先端沈下
【先行技術文献】
【特許文献】
【0006】
特開2006-16867号公報
【非特許文献】
【0007】
一般社団法人日本建築学会、“建築基礎構造設計指針”、2021年9月15日、p.217-219
【発明の概要】
【発明が解決しようとする課題】
【0008】
荷重分散角θ(tanθ)は、有効支持層厚比H/Dによらず、一定とするため、有効支持層厚比H/Dが大きくなるにつれて、終局先端支持力q
p0.1
を過大評価してしまう。そのため、式2を用いる場合は、支持層が厚い場合(支持層で決まる場合)の支持力に相当する上限値を設けるのが一般的である。
【0009】
本発明は、杭の先端部を支持する薄い砂質土層の下に粘性土層が存在する地盤条件において、場所打ち杭や埋込杭の先端支持力を高精度に評価するための単杭の極限先端支持力度の評価方法を提案することを課題とする。
【課題を解決するための手段】
【0010】
前記課題を解決する本発明は、場所打ち杭または埋込杭からなる杭に適用される単杭の極限先端支持力度の評価方法である。前記杭は、粘性土を主体とする下部層上に積層された砂質土を主体とする支持層(上部層)に支持されている。また、前記杭の極限先端支持力度q
p0.1
は式3で評価され、前記杭の下方の上部層での荷重分散角θは前記杭の下方の上部層厚Hと前記杭の先端径Dとの比の一次関数である式4から算出される。
q
p0.1
={1+2(H/D)tanθ}
2
・q
c
・・・式3
ここで、q
p0.1
:終局先端支持力(=先端沈下比Sp/Dが0.1に達したときの支持力)
Sp:先端沈下
H/D:有効支持層厚比
θ:支持層での荷重分散角
tanθ=f(H/D) ・・・式4
q
c
:下部層の終局支持力
c
u
:下部層の非排水せん断強度または粘着力
q
c
=6c
u
(【0011】以降は省略されています)
この特許をJ-PlatPat(特許庁公式サイト)で参照する
関連特許
大成建設株式会社
推定方法
23日前
大成建設株式会社
風洞実験装置
5日前
大成建設株式会社
ペレット製造装置
1か月前
大成建設株式会社
摩擦制振ダンパー
1か月前
大成建設株式会社
地盤計測システム
8日前
大成建設株式会社
既存建物の解体方法
1か月前
大成建設株式会社
木材性状推定システム
1か月前
大成建設株式会社
床版接合部の設計方法
1か月前
大成建設株式会社
杭の施工方法および杭
1か月前
大成建設株式会社
木材縦弾性係数推定システム
1か月前
大成建設株式会社
足場装置および足場構築方法
24日前
大成建設株式会社
電力供給装置及び電力供給方法
8日前
大成建設株式会社
仮設鋼床版および床版取替工法
11日前
大成建設株式会社
土壌改良剤、及び土壌改良方法
1か月前
大成建設株式会社
地下水排水構造と地下水排水方法
1か月前
大成建設株式会社
免震基礎構造およびその構築方法
1か月前
大成建設株式会社
異種コンクリートの切替り特定方法
1か月前
大成建設株式会社
到達立坑における掘進機の回収方法
1か月前
大成建設株式会社
単杭の極限先端支持力度の評価方法
29日前
大成建設株式会社
凍結地盤の掘削土の排土装置と排土方法
1か月前
大成建設株式会社
内空変位計測システム及び内空変位計測方法
22日前
大成建設株式会社
既設トンネルの坑口補強構造と坑口補強方法
1か月前
大成建設株式会社
消音設計支援システム、防振設計支援システム
22日前
大成建設株式会社
既設トンネルと分岐トンネルの接合構造と接合方法
1か月前
大成建設株式会社
上下の既設トンネルを繋ぐ接合トンネルとその施工方法
1か月前
大成建設株式会社
木質構造部材の補強構造、及び木質構造部材の補強方法
10日前
大成建設株式会社
上面増厚床版の非破壊評価方法及び非破壊評価システム
1か月前
大成建設株式会社
鋼管により形成される立坑の坑口補強構造と坑口補強方法
1か月前
大成建設株式会社
作業環境監視システム及び作業環境監視システムの監視方法
1か月前
大成建設株式会社
インバート変位計測システムおよびインバート変位計測方法
23日前
大成建設株式会社
遊離脂肪酸の分離方法および遊離脂肪酸生産微生物の培養方法
1か月前
大成建設株式会社
積層体部材、構造体、積層体部材を用いて構造体を構築する方法
22日前
JFEシビル株式会社
トンネル間地盤性状の調査方法及び装置
9日前
大成建設株式会社
半潜水浮体式基礎
1か月前
大成建設株式会社
塔体の建て起こし装置
1か月前
アキレス株式会社
養生シート製品、養生区画、及び養生区画の構築方法
29日前
続きを見る
他の特許を見る