TOP
|
特許
|
意匠
|
商標
特許ウォッチ
Twitter
他の特許を見る
10個以上の画像は省略されています。
公開番号
2025129859
公報種別
公開特許公報(A)
公開日
2025-09-05
出願番号
2024026790
出願日
2024-02-26
発明の名称
無線給電システム及び移動体
出願人
大成建設株式会社
,
株式会社スマートロボティクス
代理人
園田・小林弁理士法人
主分類
H02J
50/05 20160101AFI20250829BHJP(電力の発電,変換,配電)
要約
【課題】 電力の伝送効率を向上すること。
【解決手段】 無線給電システムは、床面に対して立ち上がる立設部に備えられ、無線により電力を送電する送電電極を有する送電部と、移動可能な移動体に備えられ、前記送電電極と対向する位置にあるときに前記送電電極から電力を受電する受電電極を有する受電部と、前記移動体の移動に伴う前記送電部又は前記受電部の変位を吸収する変位吸収部とを有する。
【選択図】 図6
特許請求の範囲
【請求項1】
床面に対して立ち上がる立設部に備えられ、無線により電力を送電する送電電極を有する送電部と、
移動可能な移動体に備えられ、前記送電電極と対向する位置にあるときに前記送電電極から電力を受電する受電電極を有する受電部と、
前記移動体の移動に伴う前記送電部又は前記受電部の変位を吸収する変位吸収部と
を有する無線給電システム。
続きを表示(約 850 文字)
【請求項2】
前記変位吸収部は、
前記移動体に固定される固定部と、弾性体を介して前記固定部に支持され前記固定部に対して伸縮する伸縮部とを有する伸縮部材を有し、
前記受電部は、
前記伸縮部の先端に取り付けられる
請求項1に記載の無線給電システム。
【請求項3】
前記変位吸収部は、
前記移動体に固定される第1の棒状部材と、前記伸縮部材の固定部を固定する第2の棒状部材と、前記第1の棒状部材及び第2の棒状部材を開閉可能に接続する接続部材とを有するリンクをさらに有する
請求項2に記載の無線給電システム。
【請求項4】
前記受電部は、
前記伸縮部の先端に取り付けられる板状の第1のパネルと、
前記第1のパネルとの間で前記受電電極を挟持する板状の第2のパネルと
を有する請求項2に記載の無線給電システム。
【請求項5】
前記受電部は、
表面の一部が前記第2のパネルの表面から外方へ突出し、前記移動体の移動方向に応じた方向に回転するローラ部材
をさらに有する請求項4に記載の無線給電システム。
【請求項6】
前記変位吸収部は、
前記立設部に固定される固定部と、弾性体を介して前記固定部に支持され前記固定部に対して伸縮する伸縮部とを有する伸縮部材を有し、
前記送電部は、
前記伸縮部の先端に取り付けられる
請求項1に記載の無線給電システム。
【請求項7】
無線により送電電極から送電される電力を用いて移動する本体部と、
前記本体部に固定される固定部と、弾性体を介して前記固定部に支持され前記固定部に対して伸縮する伸縮部とを有する伸縮部材と、
前記伸縮部の先端に取り付けられ、前記送電電極と対向する位置にあるときに前記送電電極から電力を受電する受電電極を有する受電部と
を有する移動体。
発明の詳細な説明
【技術分野】
【0001】
本発明は、無線給電システム及び移動体に関する。
続きを表示(約 1,600 文字)
【背景技術】
【0002】
近年、例えば電気自動車、電動カート及びAGV(Automated Guided Vehicle)等のような電気エネルギーを動力に用いる移動体に対して、無線で電力を供給する無線給電システムが注目されている。無線給電システムにおいては、例えば、移動体が停止する路面下に送電電極を埋設し、移動体が備える受電電極に対して無線により非接触で電力を供給することにより、移動体に搭載されたバッテリを充電することができる。また、移動体が移動する路面下に連続して送電電極を埋設することにより、移動体は、路面から送電される電力を用いて移動することも可能である。
【0003】
送電電極を路面下に設置する場合、送電電極の上層及び下層にコンクリートや水分を含む誘電体などの損失体が積層されるため、送電電極と受電電極との間における電力の伝送効率が影響を受けてしまうことがある。また、送電電極を路面下に設置するには、路面を掘り起こして電極やその他の部品を埋設する必要があり、設置に手間がかかる。
【0004】
そこで、移動体の移動方向に沿って壁体を設け、壁体に送電電極を設置することが検討されている。例えば、移動体の側方に立ち上がる側壁に送電電極を設けることによって、送電電極上に異物が載るのを抑えることができ、送電電極の設置に際して、手間を抑えることができる。
【0005】
しかしながら、壁体に送電電極を設置する場合には、送受電電極間の距離の変動によって空間インピーダンスが変化することで最適な整合条件が変化するため、電力の伝送効率が低下するという問題がある。具体的には、移動体が側壁に沿って自動運転により移動する際、位置精度は例えば100mm程度であり、移動体は、この範囲で蛇行することがある。このため、移動体が移動する際には、側壁に設置された送電電極と移動体が備える受電電極との間の距離が変動しインピーダンスが変動するため、整合回路によって整合条件を常に最適に保つことが困難であり、結果的に電力の平均伝送効率が低下する。
【0006】
また、例えば移動体が所定の駐機位置に停止している間に壁体の送電電極から電力供給して充電するような場合、移動体が停止する位置が駐機位置からずれていると、電力の伝送効率が低下することにより充電効率が低下する。さらに、移動体が駐機位置に停止する際、移動体の位置ずれによって受電電極と送電電極が衝突し、移動体又は壁体の損傷を招く恐れがある。
【先行技術文献】
【特許文献】
【0007】
特開2018-68077号公報
【発明の概要】
【発明が解決しようとする課題】
【0008】
本発明の目的は、電力の伝送効率を向上することができる無線給電システム及び移動体を提供することである。
【課題を解決するための手段】
【0009】
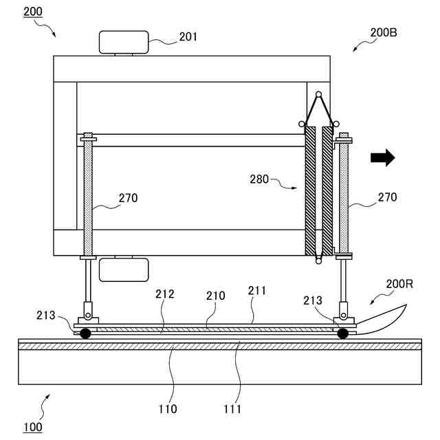
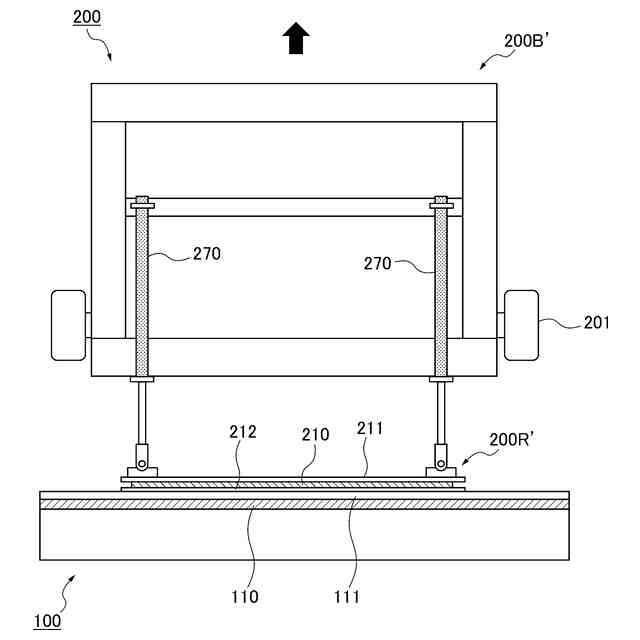
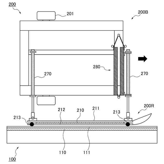
本発明の一態様によれば、無線給電システムは、床面に対して立ち上がる立設部に備えられ、無線により電力を送電する送電電極を有する送電部と、移動可能な移動体に備えられ、前記送電電極と対向する位置にあるときに前記送電電極から電力を受電する受電電極を有する受電部と、前記移動体の移動に伴う前記送電部又は前記受電部の変位を吸収する変位吸収部とを有する。
【0010】
この構成によれば、移動体が移動したり位置ずれが生じたりしても、送電部又は受電部の変位が吸収されて、送電電極と受電電極の位置関係が維持される。このため、無線給電壁の送電電極と移動体の受電電極との間の距離を一定に保つことができ、電力の伝送効率を向上することができる。
(【0011】以降は省略されています)
この特許をJ-PlatPat(特許庁公式サイト)で参照する
関連特許
大成建設株式会社
推定方法
1か月前
大成建設株式会社
木質複合構造
2か月前
大成建設株式会社
風洞実験装置
14日前
大成建設株式会社
ペレット製造装置
1か月前
大成建設株式会社
摩擦制振ダンパー
2か月前
大成建設株式会社
地盤計測システム
17日前
大成建設株式会社
既存建物の解体方法
1か月前
大成建設株式会社
木材性状推定システム
1か月前
大成建設株式会社
床版接合部の設計方法
1か月前
大成建設株式会社
杭の施工方法および杭
1か月前
大成建設株式会社
浚渫用施設および浚渫方法
2か月前
大成建設株式会社
木材縦弾性係数推定システム
1か月前
大成建設株式会社
足場装置および足場構築方法
1か月前
大成建設株式会社
仮設鋼床版および床版取替工法
20日前
大成建設株式会社
土壌改良剤、及び土壌改良方法
1か月前
大成建設株式会社
電力供給装置及び電力供給方法
17日前
大成建設株式会社
地下水排水構造と地下水排水方法
1か月前
大成建設株式会社
免震基礎構造およびその構築方法
1か月前
大成建設株式会社
異種コンクリートの切替り特定方法
1か月前
大成建設株式会社
単杭の極限先端支持力度の評価方法
1か月前
大成建設株式会社
到達立坑における掘進機の回収方法
1か月前
大成建設株式会社
風力発電方法および風力発電システム
4日前
大成建設株式会社
凍結地盤の掘削土の排土装置と排土方法
1か月前
大成建設株式会社
既設トンネルの坑口補強構造と坑口補強方法
1か月前
大成建設株式会社
内空変位計測システム及び内空変位計測方法
1か月前
大成建設株式会社
消音設計支援システム、防振設計支援システム
1か月前
大成建設株式会社
吊荷向き制御システムおよびブレード設置方法
2か月前
大成建設株式会社
既設トンネルと分岐トンネルの接合構造と接合方法
1か月前
大成建設株式会社
上下の既設トンネルを繋ぐ接合トンネルとその施工方法
1か月前
大成建設株式会社
上面増厚床版の非破壊評価方法及び非破壊評価システム
1か月前
大成建設株式会社
木質構造部材の補強構造、及び木質構造部材の補強方法
19日前
大成建設株式会社
鋼管により形成される立坑の坑口補強構造と坑口補強方法
1か月前
大成建設株式会社
作業環境監視システム及び作業環境監視システムの監視方法
1か月前
大成建設株式会社
インバート変位計測システムおよびインバート変位計測方法
1か月前
大成建設株式会社
車両用ワイヤレス給電システム及び車両用ワイヤレス給電方法
4日前
大成建設株式会社
遊離脂肪酸の分離方法および遊離脂肪酸生産微生物の培養方法
1か月前
続きを見る
他の特許を見る