TOP
|
特許
|
意匠
|
商標
特許ウォッチ
Twitter
他の特許を見る
10個以上の画像は省略されています。
公開番号
2025144842
公報種別
公開特許公報(A)
公開日
2025-10-03
出願番号
2024044721
出願日
2024-03-21
発明の名称
既設トンネルの坑口補強構造と坑口補強方法
出願人
大成建設株式会社
代理人
個人
,
個人
主分類
E21D
9/01 20060101AFI20250926BHJP(地中もしくは岩石の削孔;採鉱)
要約
【課題】防護工を施工した後に既設トンネルを切り開いて坑口を施工するに当たり、坑口周りを速やかに補強することのできる、既設トンネルの坑口補強構造と坑口補強方法を提供する。
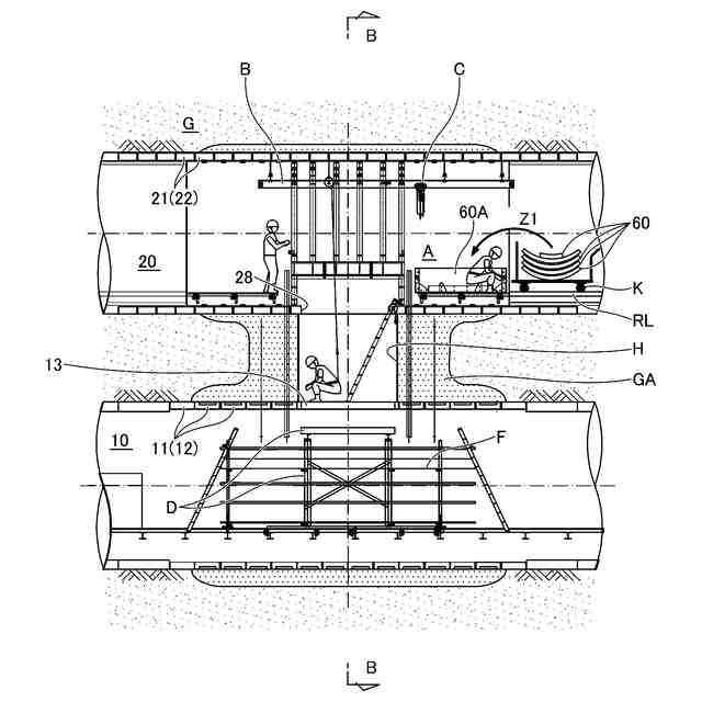
【解決手段】鋼製セグメント11により形成される既設トンネル10を切り開いて坑口18を施工する際に坑口18を補強する、既設トンネルの坑口補強構造30であり、鋼製セグメント11は、主桁15とスキンプレート16と縦リブ17aと継手板17bとを備え、坑口18の側方に配設され、上下方向に延設する支柱36と、支柱36の下端が接合され、既設トンネル10の軸方向に延設する桁材35とを有し、坑口18の側方において主桁15に第1ブラケット31が接合され、支柱36の上方が第1ブラケット31に接合されている。
【選択図】図2A
特許請求の範囲
【請求項1】
既設の地下構造体である、鋼製セグメントにより形成される既設トンネルを切り開いて坑口を施工する際に該坑口を補強する、既設トンネルの坑口補強構造であって、
前記鋼製セグメントは、主桁と、スキンプレートと、縦リブと、継手板とを備えており、
前記坑口の側方に配設され、上下方向に延設する、支柱と、
前記支柱の下端が接合され、前記既設トンネルの軸方向に延設する、桁材とを有し、
前記坑口の側方において、前記主桁に第1ブラケットが接合されており、
前記支柱の上方が、前記第1ブラケットに接合されていることを特徴とする、既設トンネルの坑口補強構造。
続きを表示(約 670 文字)
【請求項2】
前記桁材の配設位置において、前記主桁に第2ブラケットが接合されており、
前記桁材の一部が前記第2ブラケットに接合されていることを特徴とする、請求項1に記載の既設トンネルの坑口補強構造。
【請求項3】
前記桁材は、前記軸方向に直交する方向に架け渡されている複数の枕木の上に配設されていることを特徴とする、請求項2に記載の既設トンネルの坑口補強構造。
【請求項4】
前記支柱が伸縮自在な仮設サポート材であることを特徴とする、請求項1乃至3のいずれか一項に記載の既設トンネルの坑口補強構造。
【請求項5】
既設の地下構造体である、鋼製セグメントにより形成される既設トンネルを切り開いて坑口を施工する際に該坑口を補強する、既設トンネルの坑口補強方法であって、
前記鋼製セグメントは、主桁と、スキンプレートと、縦リブと、継手板とを備えており、
前記坑口の側方にある前記主桁に対して第1ブラケットを接合しておき、
前記既設トンネルの軸方向に延設する桁材を配設し、
上下方向に延設する支柱を前記坑口の側方に配設し、該支柱の下端を前記桁材に接合し、該支柱の上方を前記第1ブラケットに接合することを特徴とする、既設トンネルの坑口補強方法。
【請求項6】
前記桁材の配設位置にある前記主桁に第2ブラケットを接合しておき、
前記桁材の一部を前記第2ブラケットに接合することを特徴とする、請求項5に記載の既設トンネルの坑口補強方法。
発明の詳細な説明
【技術分野】
【0001】
本発明は、既設トンネルの坑口補強構造と坑口補強方法に関する。
続きを表示(約 2,500 文字)
【背景技術】
【0002】
上下や左右の関係にある2つの既設の地下構造体の間を掘削して双方を繋ぐ施工において、その周囲に凍結工法や薬液注入工法、高圧噴射工法等の地盤改良による防護工を行った後に、地盤改良エリアの内側にある未改良エリア(未凍結地盤)の掘削を行い、掘削後に2つの既設の地下構造体を接合する場合がある。この接合に際しては、既設トンネルにおける接合箇所を切り開くことにより、坑口が施工される。
上記する凍結工法を適用する場合は、造成された凍土の内側にある未凍結地盤に対して凍結膨張圧が作用し、未凍結地盤が粘性土である場合はより大きな凍結膨張圧が作用し得る。この凍結膨張圧は確立された算定手法である、高志の円筒理論式(Δσ=E/(1+ν)×ξ/2×(1-r
0
2
/r
1
2
)で、Δσは凍結膨張圧、Eは未凍結地盤の変形係数、νは未凍結地盤のポアソン比、ξは覆工方向への凍結膨張率、r
0
は冷却面半径、r
1
は凍結面半径)により算定され、この円筒理論式による算定においては地盤の変形係数と凍結膨張率が用いられ、双方の要素はいずれも凍結膨張圧と比例関係にある。
精度よく物性値を設定するに当たり、現地にてボーリング試験を実施し、原位置試験(坑内水平載荷試験、標準貫入試験、透水係数試験、塩分濃度試験等)や室内試験(細粒分含有率試験、凍結一軸圧縮試験、凍上沈下試験等)を実施し、現地の条件を反映することになる。
【0003】
しかしながら、上記する各種の原位置試験や室内試験を実施して物性値を設定し、凍結膨張率を設定したとしても、実際の凍結膨張率が大きくなる場合がある。その1つの理由は、ボーリング試験を実施したものの、設定値に不確実性が存在することであり、他の1つの理由は、施工エリアが都心等にあって施工エリアの直上でボーリング試験を実施することが難しい場合に、施工エリアから離れた位置でボーリング試験を実施することにより施工エリアの地盤性状が精緻に反映されないことなどである。
【0004】
このように、何らかの理由で当初設定した凍結膨張率に比べて実際の凍結膨張率が高くなり、未凍結地盤に対する凍結膨張圧が大きくなることが凍土造成を進める過程で判明した場合は、この未凍結地盤に通じる坑口が後施工される既設トンネルの坑口施工エリアに対して、速やかに補強構造を施工することが必要になる。
しかしながら、防護工に凍結工法を適用している場合は、既設トンネルの内部には凍結工法の際に適用される配管や配線、ホース等が錯綜していることが一般的であり、このような既設トンネルの内部において坑口の周辺に応急的に補強構造を施工することは容易でない。
以上のことから、防護工を施工した後に既設トンネルを切り開いて坑口を施工するに当たり、坑口周りを速やかに補強することのできる既設トンネルの坑口補強構造と坑口補強方法が望まれる。
【0005】
ここで、特許文献1には、トンネルの接合方法が提案されている。この接合方法は、本線トンネルとランプトンネルとの上半部を接合するに当たり、まず、本線トンネルとランプトンネルの対向するセグメントのスキンプレートを撤去して本線トンネルとランプトンネルとの間の掘削部を掘削し、各セグメントの残りの部分を撤去して本線トンネルのセグメントとランプトンネルのセグメントとの間に接続部を設置する。接続部は、一端がセグメントに固定されたコマ材と、一端がコマ材に、他端がセグメントに固定されたH型鋼と、隣合うH型鋼の間にトンネル軸方向に配置される軸方向補強材とを有する。
【先行技術文献】
【特許文献】
【0006】
特開2006-283285号公報
【発明の概要】
【発明が解決しようとする課題】
【0007】
特許文献1に記載されるトンネルの接合方法によれば、トンネルの躯体撤去範囲や地盤改良範囲、トンネル用地幅を縮小できるとしているが、上記する課題、すなわち、防護工を施工した後に既設トンネルを切り開いて坑口を施工するに当たり、坑口周りを速やかに補強することのできる手段を開示するものではない。
【0008】
本発明は、防護工を施工した後に既設トンネルを切り開いて坑口を施工するに当たり、坑口周りを速やかに補強することのできる、既設トンネルの坑口補強構造と坑口補強方法を提供することを目的としている。
【課題を解決するための手段】
【0009】
前記目的を達成すべく、本発明による既設トンネルの坑口補強構造の一態様は、
既設の地下構造体である、鋼製セグメントにより形成される既設トンネルを切り開いて坑口を施工する際に該坑口を補強する、既設トンネルの坑口補強構造であって、
前記鋼製セグメントは、主桁と、スキンプレートと、縦リブと、継手板とを備えており、
前記坑口の側方に配設され、上下方向に延設する、支柱と、
前記支柱の下端が接合され、前記既設トンネルの軸方向に延設する、桁材とを有し、
前記坑口の側方において、前記主桁に第1ブラケットが接合されており、
前記支柱の上方が、前記第1ブラケットに接合されていることを特徴とする。
【0010】
本態様によれば、既設トンネルの坑口の側方において主桁に接合されている第1ブラケットに対して、上下方向に延設する支柱の上方が接合され、既設トンネルの軸方向に延設する桁材に支柱の下端が接合されていることにより、共通の桁材に対して複数の支柱の下端を接合してそれらの上方を坑口の周囲にある主桁に接合されている複数の第1ブラケットに接合することができ、既設トンネルの内部が防護工の設備等によって錯綜している状態であっても、速やかに坑口の周囲を複数の支柱にて補強することができる。
(【0011】以降は省略されています)
この特許をJ-PlatPat(特許庁公式サイト)で参照する
関連特許
大成建設株式会社
推定方法
9日前
大成建設株式会社
既存建物の解体方法
29日前
大成建設株式会社
木材性状推定システム
24日前
大成建設株式会社
木材縦弾性係数推定システム
24日前
大成建設株式会社
足場装置および足場構築方法
10日前
大成建設株式会社
土壌改良剤、及び土壌改良方法
18日前
大成建設株式会社
免震基礎構造およびその構築方法
22日前
大成建設株式会社
単杭の極限先端支持力度の評価方法
15日前
大成建設株式会社
異種コンクリートの切替り特定方法
29日前
大成建設株式会社
凍結地盤の掘削土の排土装置と排土方法
29日前
大成建設株式会社
内空変位計測システム及び内空変位計測方法
8日前
大成建設株式会社
消音設計支援システム、防振設計支援システム
8日前
大成建設株式会社
インバート変位計測システムおよびインバート変位計測方法
9日前
大成建設株式会社
積層体部材、構造体、積層体部材を用いて構造体を構築する方法
8日前
大成建設株式会社
半潜水浮体式基礎
29日前
アキレス株式会社
養生シート製品、養生区画、及び養生区画の構築方法
15日前
大成建設株式会社
既設橋脚におけるアンカーボルトの施工方法およびブラケットの取付構造
11日前
株式会社渋谷潜水工業
切断装置
17日前
大成建設株式会社
混練材料供給装置とコンクリートプラント
2日前
大成建設株式会社
耐硫酸性グラウト組成物、耐硫酸性モルタル組成物、耐硫酸性コンクリート組成物、およびこれらの製造方法
23日前
大成建設株式会社
余掘り量推定装置、余掘り量推定プログラム、余掘り量推定方法、及び余掘り量推定装置において使用される学習済余掘り量推論モデル
8日前
個人
掘削機
4か月前
日特建設株式会社
切断装置
10日前
株式会社奥村組
地山探査装置
2か月前
株式会社奥村組
地山探査装置
2か月前
株式会社奥村組
地山探査方法
2か月前
株式会社奥村組
地山探査装置
2か月前
株式会社奥村組
シールド掘進機
1か月前
株式会社奥村組
シールド掘進機
5か月前
株式会社笠原建設
横孔形成方法
6か月前
岐阜工業株式会社
トンネルセントル
1か月前
花王株式会社
岩盤の掘削方法
4か月前
株式会社奥村組
泥土圧シールド掘進機
5か月前
株式会社熊谷組
天井板撤去装置
6か月前
株式会社奥村組
セグメントの組立方法
1か月前
個人
オープンシールド機
2か月前
続きを見る
他の特許を見る