TOP
|
特許
|
意匠
|
商標
特許ウォッチ
Twitter
他の特許を見る
10個以上の画像は省略されています。
公開番号
2025159967
公報種別
公開特許公報(A)
公開日
2025-10-22
出願番号
2024062868
出願日
2024-04-09
発明の名称
切断装置
出願人
日特建設株式会社
代理人
個人
主分類
E21D
11/00 20060101AFI20251015BHJP(地中もしくは岩石の削孔;採鉱)
要約
【課題】地中に埋設された管を内側から容易に切断可能な切断装置を提供する。
【解決手段】切断装置は、地中に埋設された管(12)を内側から切断する切断装置であって、回転駆動されるロッド(15)に取り付けられて管(12)内に配置されるケース(21)と、ケース(21)内に供給される液圧によってケース(21)内をロッド(15)の軸方向に移動可能な押圧部材(22)と、ケース(21)の外周部(30)を貫通する孔(30a)に支持され、孔(30a)に沿ってケース(21)の径方向に移動可能な切断工具(23)とを備え、押圧部材(22)の外周面(37a)には、軸方向に対し傾斜したカム面(38b)が設けられ、押圧部材(22)の移動によってカム面(38b)が切断工具(23)をケース(21)の径方向外側に押し出す。
【選択図】図2
特許請求の範囲
【請求項1】
地中に埋設された管を内側から切断する切断装置であって、
回転駆動されるロッドに取り付けられて前記管内に配置されるケースと、前記ケース内に供給される液圧または気体の圧力によって前記ケース内を前記ロッドの軸方向に移動可能な押圧部材と、前記ケースの外周部を貫通する孔に支持され、前記孔に沿って前記ケースの径方向に移動可能な切断工具とを備え、
前記押圧部材の外周面には、前記軸方向に対し傾斜したカム面が設けられ、
前記押圧部材の移動によって前記カム面が前記切断工具を前記ケースの径方向外側に押し出す切断装置。
続きを表示(約 640 文字)
【請求項2】
前記押圧部材は、前記切断工具の前記カム面からの離脱を規制して前記切断工具を前記カム面に沿って移動させるガイドレール部を備え、
前記切断工具を前記径方向外側に押し出す場合の前記押圧部材の移動方向とは反対方向に前記押圧部材が移動すると、前記切断工具は前記ガイドレール部を介して前記ケースの径方向内側に移動する請求項1に記載の切断装置。
【請求項3】
前記押圧部材を前記反対方向に向けて付勢する弾性部材が設けられる請求項2に記載の切断装置。
【請求項4】
前記ケースは、筒状の前記外周部と、前記外周部の上面を塞ぐ上壁部と、前記外周部の下面を塞ぐ下壁部とを備え、
前記上壁部に前記ロッドが接続され、
前記上壁部と前記押圧部材との間に、前記液圧または前記気体の圧力が供給される加圧室が設けられ、
前記液圧または前記気体の圧力は、前記ロッド内を通って前記加圧室に供給され、
前記押圧部材と前記下壁部との間に前記弾性部材が配置される請求項3に記載の切断装置。
【請求項5】
前記ケースと同軸に配置される円板状の位置決め部材が設けられ、前記位置決め部材の外径は、前記管の内径よりも小径、且つ、前記ケースの前記外周部の外径よりも大径である請求項1に記載の切断装置。
【請求項6】
前記切断工具は、前記ケースの前記外周部の周方向に等間隔で複数設けられる請求項1に記載の切断装置。
発明の詳細な説明
【技術分野】
【0001】
本発明は、切断装置に関する。
続きを表示(約 1,400 文字)
【背景技術】
【0002】
従来、トンネルを掘削する場合に、地上から掘削中のトンネルまで貫通する観測孔を設けることが知られている(例えば、特許文献1参照)。特許文献1では、ボーリングマシンによって地上からトンネルまで貫通した貫通孔に鋼管を挿通し、この鋼管を観測孔として使用する。
【先行技術文献】
【特許文献】
【0003】
特開2023-137304号公報
【発明の概要】
【発明が解決しようとする課題】
【0004】
ところで、特許文献1のように地中に管を埋設した場合、管を管の内側から切断したい場合がある。例えば、管を地上に抜き出す場合には、管を切断する必要がある。しかし、地中に埋設される管には切断工具が届き難く、また、このような管は高強度な素材が使用されることが多いため、管を切断することが難しい。特に、管が地上から深い位置まで埋設されている場合、管の切断が困難である。
【0005】
このような点に鑑み、本発明は、地中に埋設された管を内側から容易に切断可能な切断装置を提供することを目的とする。
【課題を解決するための手段】
【0006】
切断装置は、地中に埋設された管を内側から切断する切断装置であって、回転駆動されるロッドに取り付けられて前記管内に配置されるケースと、前記ケース内に供給される液圧または気体の圧力によって前記ケース内を前記ロッドの軸方向に移動可能な押圧部材と、前記ケースの外周部を貫通する孔に支持され、前記孔に沿って前記ケースの径方向に移動可能な切断工具とを備え、前記押圧部材の外周面には、前記軸方向に対し傾斜したカム面が設けられ、前記押圧部材の移動によって前記カム面が前記切断工具を前記ケースの径方向外側に押し出す。
【発明の効果】
【0007】
本発明によれば、地中に埋設された管を内側から容易に切断可能な切断装置を提供できる。
【図面の簡単な説明】
【0008】
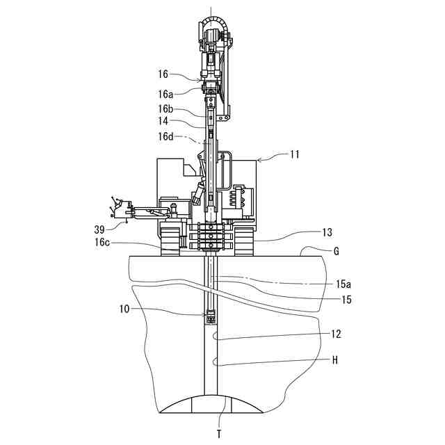
本発明の実施形態に係る切断装置が取り付けられたボーリングマシンで管を切断している状態を示す図である。
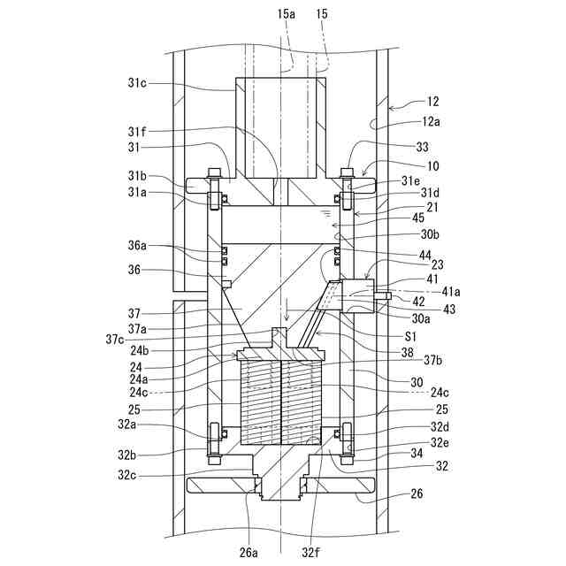
管の内側に配置された切断装置を示す断面図である。
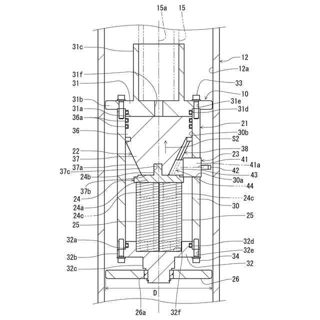
切断装置による管の切断が図2よりも進んだ状態を示す断面図である。
下壁部を上方から見た平面図である。
押圧部材の断面図である。
切断工具が装着された押圧部材の下面を下方側から見た底面図である。
切断工具を拡大した図である。
切断工具をボーリングロッドの軸線側から見た図である。
リテーナーを下方から見た底面図である。
【発明を実施するための形態】
【0009】
以下、添付の図面を参照しながら、本発明に従う切断装置の実施形態について説明する。
【0010】
図1は、本発明の実施形態に係る切断装置10が取り付けられたボーリングマシン11で管12を切断している状態を示す図である。
ボーリングマシン11は、地盤G上に設置される土台13と、土台13から立設されるフレーム14と、地盤削孔用のボーリングロッド15(ロッド)が取り付けられるドリルユニット16とを備える。
(【0011】以降は省略されています)
この特許をJ-PlatPat(特許庁公式サイト)で参照する
関連特許
個人
掘削機
4か月前
日特建設株式会社
切断装置
今日
株式会社奥村組
地山探査装置
2か月前
株式会社奥村組
地山探査方法
2か月前
株式会社奥村組
地山探査装置
2か月前
株式会社奥村組
地山探査装置
2か月前
株式会社奥村組
シールド掘進機
26日前
株式会社奥村組
シールド掘進機
4か月前
花王株式会社
岩盤の掘削方法
3か月前
岐阜工業株式会社
トンネルセントル
26日前
個人
オープンシールド機
1か月前
株式会社奥村組
セグメントの組立方法
1か月前
個人
オープンシールド機
1か月前
個人
箱形ルーフおよびその施工法
19日前
デンカ株式会社
静的破砕方法
1か月前
株式会社金澤製作所
発進坑口のエントランス装置
4か月前
地中空間開発株式会社
トンネル掘削機
12日前
個人
メタンハイドレート等海底鉱物資源の採取方法
2か月前
岐阜工業株式会社
トンネルセントルの妻板装置
2か月前
戸田建設株式会社
掘削機切削部側壁
3か月前
株式会社ケー・エフ・シー
トンネル水圧調整装置
1か月前
日鉄建材株式会社
構造物用補強リング及び構造物
20日前
株式会社奥村組
地山探査装置に用いる地山保持材
2か月前
株式会社奥村組
先行ビットおよびそれを備える掘削機
1か月前
株式会社奥村組
先行ビットおよびそれを備える掘削機
1か月前
株式会社奥村組
シールド掘進機およびシールド掘進方法
1か月前
鹿島建設株式会社
シールド掘進機
13日前
株式会社奥村組
爆薬装填装置
13日前
西松建設株式会社
移動式型枠及び施工管理システム
5か月前
株式会社横河NSエンジニアリング
合成セグメント
3か月前
鹿島建設株式会社
形状検出システム
2か月前
株式会社トーキンオール
延伸鋼管
1か月前
西松建設株式会社
制御システムおよび制御方法
5か月前
戸田建設株式会社
低周波地中レーダ用計測治具
3か月前
大和ハウス工業株式会社
掘削治具
3か月前
株式会社カテックス
注入器具および地山補強工法
7日前
続きを見る
他の特許を見る