TOP
|
特許
|
意匠
|
商標
特許ウォッチ
Twitter
他の特許を見る
公開番号
2025144825
公報種別
公開特許公報(A)
公開日
2025-10-03
出願番号
2024044687
出願日
2024-03-21
発明の名称
高圧噴射撹拌工法で用いられるモニタリング方法
出願人
日特建設株式会社
代理人
個人
主分類
E02D
3/12 20060101AFI20250926BHJP(水工;基礎;土砂の移送)
要約
【課題】地盤改良体の有効径を簡便に確認することができるモニタリング方法を提案する。
【解決手段】高圧噴射撹拌工法において地盤改良体Sを造成する際に用いられるモニタリング方法であって、地盤Gの表面又は地盤Gの表面に敷設された覆工板Pの表面に設置される2個の電極4A、4Bと、電極4A、4B同士の電位差を計測する電位差計5とを準備する工程と、少なくとも一方の電極4Aを、地盤Gの表面又は覆工板Pの表面における地盤改良体Sの計画有効径Rの径方向内側に設置し、他方の電極4Bを、地盤Gの表面又は覆工板Pの表面に設置する工程と、ノズル3aから硬化材を噴射させつつ注入管3を回転させるとともに電位差計5で2個の電極4A、4Bの電位差を計測する工程と、を含む。
【選択図】図1
特許請求の範囲
【請求項1】
地盤に挿入した注入管のノズルから硬化材を噴射させつつ前記注入管を回転させて地盤改良体を造成する高圧噴射撹拌工法において、前記地盤改良体を造成する際に用いられるモニタリング方法であって、
前記地盤の表面又は前記地盤の表面に敷設された覆工板の表面に設置される2個の電極と、前記電極同士の電位差を計測する電位差計とを準備する工程と、
少なくとも一方の前記電極を、前記地盤の表面又は前記覆工板の表面における前記地盤改良体の計画有効径の径方向内側に設置し、他方の前記電極を、前記地盤の表面又は前記覆工板の表面に設置する工程と、
前記ノズルから前記硬化材を噴射させつつ前記注入管を回転させるとともに前記電位差計で2個の前記電極の電位差を計測する工程と、を含むモニタリング方法。
続きを表示(約 630 文字)
【請求項2】
前記地盤の表面又は前記覆工板の表面に正対した状態において前記注入管を中心として径方向外側に向けて延在する直線に対し、一方の前記電極と他方の前記電極は前記直線上に設置される、請求項1に記載のモニタリング方法。
【請求項3】
前記電極は3個以上であって、
前記地盤の表面又は前記覆工板の表面に正対した状態において前記注入管に対するそれぞれの前記電極までの距離は相違していて、
前記電極の1個は、前記地盤の表面又は前記覆工板の表面における前記計画有効径の径方向外側に設置され、他の前記電極は、前記計画有効径の外側に設置した前記電極の径方向内側に設置され、
前記電位差計は、前記計画有効径の径方向外側に設置された前記電極と他の前記電極のそれぞれとの電位差を計測可能である、請求項1に記載のモニタリング方法。
【請求項4】
前記電極は3個以上であって、
前記地盤の表面又は前記覆工板の表面に正対した状態において隣り合う前記電極同士の距離は全て同一であり、
前記電位差計は、隣り合う前記電極同士の電位差を計測可能である、請求項1に記載のモニタリング方法。
【請求項5】
前記地盤の表面又は前記覆工板の表面に正対した状態において前記注入管を中心として径方向外側に向けて延在する直線に対し、全ての前記電極は前記直線上に設置される、請求項3又は4に記載のモニタリング方法。
発明の詳細な説明
【技術分野】
【0001】
本発明は、高圧噴射撹拌工法において地盤改良体を造成する際に用いられるモニタリング方法に関する。
続きを表示(約 2,000 文字)
【背景技術】
【0002】
所望する強度を具備しない軟弱地盤等を高強度に改良するための工法として、高圧噴射撹拌工法が知られている。高圧噴射撹拌工法は、地盤に挿入した注入管のノズルから硬化材を高圧で噴射させつつ注入管を回転させ、これにより高圧の硬化材で周囲の地盤を切削崩壊させつつ硬化材と地盤とを撹拌混合させて、地盤中に円柱状や扇柱状の地盤改良体を造成する工法である。
【0003】
高圧噴射撹拌工法においては、地盤改良の対象となる土層のせん断強さや硬さ、対象土層の不均一性等によって地盤改良体の有効径にばらつきが生じることがある。このため、地盤改良体が計画した有効径(以下、計画有効径と称する)通りに造成されているか確認を行う必要がある。従来は、地盤改良体を造成した後に事後調査ボーリングを行って、採取したコアにより確認を行うことが一般的である。しかしこの方法では、コアを採取するに当たって造成した地盤改良体を数日間養生させなければならないため、地盤改良体の有効径の確認に時間を要することになる。
【0004】
コアを採取する確認方法に替わるものとして、特許文献1に示された地盤改良範囲の確認方法が知られている。特許文献1に示された方法では、注入管の周囲に建て込み管を設けるとともに建て込み管内に集音器を配置しておき、この集音器によって、注入管のノズルから噴射させた硬化材が建て込み管に当たる音をモニタリングする。そしてモニタリングした音の音量レベルに基づいて、硬化材が建て込み管に到達しているかを判断している。
【先行技術文献】
【特許文献】
【0005】
特開2012-62626号公報
【発明の概要】
【発明が解決しようとする課題】
【0006】
しかしながら特許文献1に示された方法は、地盤に建て込み管を設けければならないため、地盤改良範囲の確認に手間を要している。
【0007】
このような点に鑑み、本発明では、地盤改良体の有効径を簡便に確認することができるモニタリング方法を提案することを目的とする。
【課題を解決するための手段】
【0008】
本発明のモニタリング方法は、地盤に挿入した注入管のノズルから硬化材を噴射させつつ前記注入管を回転させて地盤改良体を造成する高圧噴射撹拌工法において、前記地盤改良体を造成する際に用いられるモニタリング方法であって、前記地盤の表面又は前記地盤の表面に敷設された覆工板の表面に設置される2個の電極と、前記電極同士の電位差を計測する電位差計とを準備する工程と、少なくとも一方の前記電極を、前記地盤の表面又は前記覆工板の表面における前記地盤改良体の計画有効径の径方向内側に設置し、他方の前記電極を、前記地盤の表面又は前記覆工板の表面に設置する工程と、前記ノズルから前記硬化材を噴射させつつ前記注入管を回転させるとともに前記電位差計で2個の前記電極の電位差を計測する工程と、を含む。
【発明の効果】
【0009】
本発明のモニタリング方法によれば、地盤の表面又は覆工板の表面に設置した2個の電極と電位差計によって、注入管のノズルから高圧で硬化材を噴射させた際に撹拌混合される切削崩壊した地盤と硬化材との流れに伴う自然電位の変化を計測することが可能である。ここで少なくとも一方の電極は、地盤の表面又は覆工板の表面における地盤改良体の計画有効径の径方向内側に設置されているため、ノズルから硬化材を噴射させた際に自然電位の変化が計測されれば、少なくともこの電極が設置されているところまでは撹拌混合された地盤と硬化材が流れていることが把握され、地盤改良体は少なくとも注入管からこの電極までの有効径が確保されるように造成されると推定することが可能である。また本発明のモニタリング方法では、従前のように地盤に建て込み管を設ける必要はないため、地盤改良体の有効径を簡便に確認することができる。
【図面の簡単な説明】
【0010】
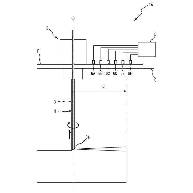
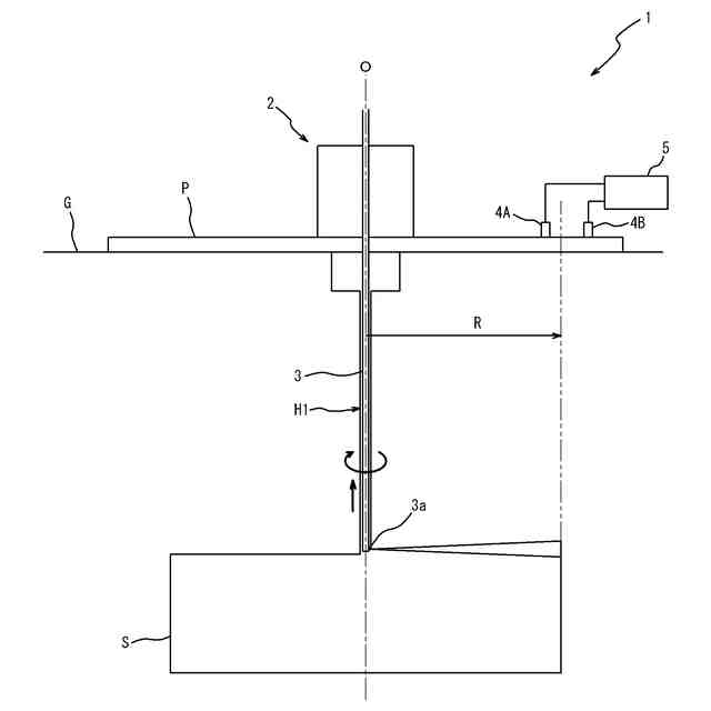
本発明に係るモニタリング方法に使用される装置の一実施形態を模式的に示した図である。
図1に示した2個の電極が設置される位置を上方からの視点で模式的に示した図である。
本発明に係るモニタリング方法による2つの電極の電位差と時間との関係の一例を示した図である。
本発明に係るモニタリング方法による2つの電極の電位差と時間との関係の一例を示した図である。
本発明に係るモニタリング方法に使用される装置の他の実施形態を模式的に示した図である。
【発明を実施するための形態】
(【0011】以降は省略されています)
この特許をJ-PlatPat(特許庁公式サイト)で参照する
関連特許
日特建設株式会社
ボーリング装置
6か月前
日特建設株式会社
立坑壁面の安定化構造及びその施工方法
21日前
日特建設株式会社
高圧噴射撹拌工法で用いられるモニタリング方法
5日前
株式会社安藤・間
曲がり計測装置、曲がり計測方法
20日前
株式会社安藤・間
データ通信システム、及びデータ通信方法
20日前
鹿島建設株式会社
グラウチングシステム
20日前
鹿島建設株式会社
グラウチングシステム
20日前
株式会社安藤・間
ボーリング孔監視システム、及びボーリング孔監視方法
20日前
FKS株式会社
擁壁
9日前
鈴健興業株式会社
敷板部材
5日前
株式会社奥村組
ケーソン工法
12日前
株式会社クボタ
作業車
7日前
株式会社クボタ
作業車
7日前
株式会社ネクステリア
平板基礎
5日前
個人
擁壁用ブロックおよび擁壁
6日前
株式会社大林組
建物の構造
6日前
株式会社奥村組
ケーソン刃口金物
12日前
株式会社熊谷組
密度計測方法
7日前
株式会社大林組
袋体付き排水パイプ
19日前
株式会社大林組
袋体付き排水パイプ
19日前
株式会社熊谷組
地盤改良方法
1日前
日立建機株式会社
建設機械
5日前
日立建機株式会社
作業機械
9日前
ヤマト発動機株式会社
浮遊型消波装置
9日前
大和ハウス工業株式会社
杭抜き先端具
13日前
ゼニヤ海洋サービス株式会社
通船ゲート
19日前
鹿島建設株式会社
接続方法および接続構造
19日前
JFEスチール株式会社
鋼管矢板の継手構造
9日前
日立建機株式会社
電動式作業機械
5日前
株式会社フジタ
建築物とその施工方法
19日前
株式会社大林組
建物の構築方法及び建物
19日前
株式会社日立建機ティエラ
建設機械
今日
浙江工業大学
多機能土柱モデル装置及び使用方法
5日前
ヤンマーホールディングス株式会社
作業機械
1日前
株式会社熊谷組
杭頭処理構造、杭頭処理方法
9日前
日立建機株式会社
作業機械
13日前
続きを見る
他の特許を見る