TOP
|
特許
|
意匠
|
商標
特許ウォッチ
Twitter
他の特許を見る
公開番号
2025141832
公報種別
公開特許公報(A)
公開日
2025-09-29
出願番号
2025030871
出願日
2025-02-28
発明の名称
鋼管矢板の継手構造
出願人
JFEスチール株式会社
代理人
個人
主分類
E02D
5/08 20060101AFI20250919BHJP(水工;基礎;土砂の移送)
要約
【課題】継手嵌合部内の排土作業や洗浄作業、及び固化材の注入作業を確実に行うことができ、継手部材と固化材の一体性を高めて継手強度を向上させる鋼管矢板の継手構造を提供する。
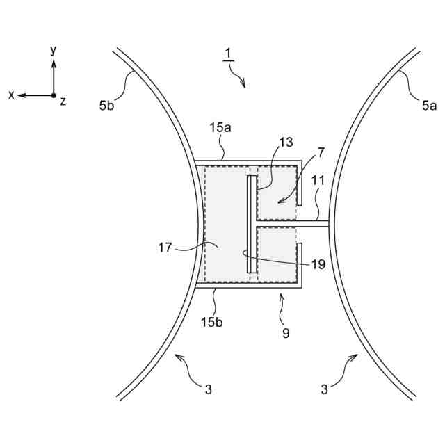
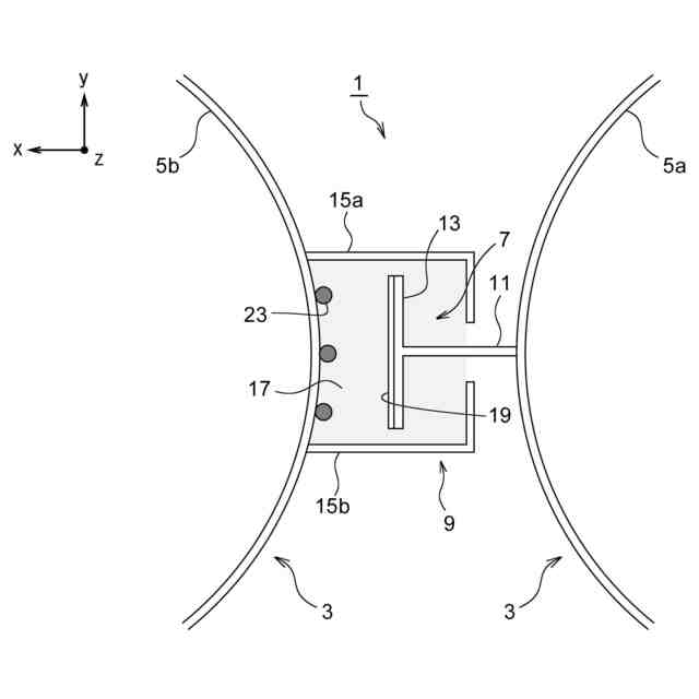
【解決手段】本発明に係る鋼管矢板の継手構造1は、隣接する一方の本管5aの外面に取り付けられた雄継手部材7と、隣接する他方の本管5bの外面に設けられて雄継手部材7に嵌合する雌継手部材9と、雄継手部材7と雌継手部材9の嵌合部に充填された固化材17と、を備えたものであって、雄継手部材7は、ウェブ部11とフランジ部13を備え、フランジ部13の前面に突起19を有する断面略T字形の部材からなり、雌継手部材9は、2枚の断面L字形の部材が対向配置されてなり、継手嵌合状態において、雌継手部材9で囲まれた領域が雄継手部材7によって3つの区画領域に仕切られ、該3つの区画領域の上面視における大きさが、それぞれ30mm四方以上であることを特徴とする。
【選択図】 図1
特許請求の範囲
【請求項1】
隣接する一方の本管の外面に軸方向に沿って取り付けられた雄継手部材と、隣接する他方の本管の外面に軸方向に沿って設けられて前記雄継手部材に嵌合する雌継手部材と、前記雄継手部材と前記雌継手部材の嵌合部に充填された固化材と、を備えた鋼管矢板の継手構造であって、
前記雄継手部材は、ウェブ部とフランジ部を備え、該フランジ部の前面に突起を有する断面略T字形の部材からなり、
前記雌継手部材は、2枚の断面L字形の部材が対向配置されてなり、
継手嵌合状態において、前記雌継手部材で囲まれた領域が前記雄継手部材によって3つの区画領域に仕切られ、
該3つの区画領域の上面視における大きさが、それぞれ30mm四方以上である鋼管矢板の継手構造。
続きを表示(約 700 文字)
【請求項2】
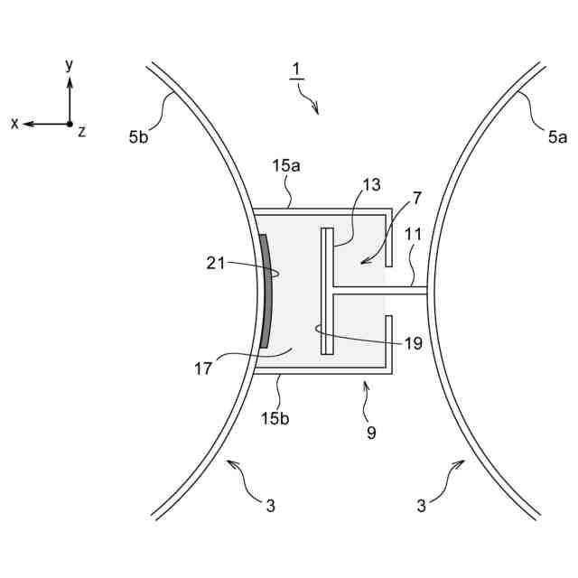
前記雌継手部材が設けられた本管における前記雌継手部材で囲まれた部位に、表面突起を有する突起付き鋼板を前記雄継手部材のフランジ部の前面に正対して設けた請求項1に記載の鋼管矢板の継手構造。
【請求項3】
前記フランジ部の前面から、該前面に対向する前記他方の本管の表面までの距離が、前記突起の突起高さの20倍以上である請求項1又は2に記載の鋼管矢板の継手構造。
【請求項4】
前記雄継手部材は、前記ウェブ部のウェブ長さHが60mm以上であり、かつ、下記の式(1)及び式(2)を満足する請求項1又は2に記載の鋼管矢板の継手構造。
Fs×t1≧Fc×B ・・・(1)
H/t1≦15.5 ・・・(2)
ここで、
Fc:固化材が固化した固化体の長期許容圧縮応力度
Fs:ウェブ部(鋼材)の長期許容応力度
B:フランジ部のフランジ幅
H:ウェブ部のウェブ長さ
t1:ウェブ部の板厚
【請求項5】
前記雄継手部材は、前記ウェブ部のウェブ長さHが60mm以上であり、かつ、下記の式(1)及び式(3)を満足する請求項1又は2に記載の鋼管矢板の継手構造。
Fs×t1≧Fc×B ・・・(1)
H/t1≦8.7 ・・・(3)
ここで、
Fc:固化材が固化した固化体の長期許容圧縮応力度
Fs:ウェブ部(鋼材)の長期許容応力度
B:フランジ部のフランジ幅
H:ウェブ部のウェブ長さ
t1:ウェブ部の板厚
発明の詳細な説明
【技術分野】
【0001】
本発明は、鋼管矢板の継手構造に関する。
続きを表示(約 1,500 文字)
【背景技術】
【0002】
従来の地下構造物の基礎の一つに、鋼管矢板式基礎がある。鋼管矢板式基礎は、特許文献1の図6に示されるように、鋼管矢板を円形に複数本並べて地中に建て込み、鋼管矢板の壁によって一定面積の地盤を囲んで基礎とするものである。各鋼管矢板には鋼管矢板を連結するための継手部材が設けられており、隣接する鋼管矢板の継手部材を嵌合させて鋼管矢板壁を構築している。
鋼管矢板の継手構造としては様々なタイプのものがあるが、その一つが例えば特許文献2の図5に示されている。
【0003】
特許文献2の図5は、所謂L-T型の継手構造であり、突起付L型鋼13に突起付T型鋼12を嵌合させることで、隣り合う鋼管矢板61を連結する。また、突起付T型鋼12と突起付L型鋼13の嵌合部内には、固化材であるコンクリート40が打設されている。
【0004】
上記のような継手構造を用いて構築された鋼管矢板式基礎に、地震等によって水平方向の外力が作用すると、上述した継手部材(突起付T型鋼12、突起付L型鋼13)には、両者を長手方向上下にずれさせる力が作用する。その結果、嵌合部内に打設されたモルタルやコンクリート等のセメント系固化材は、継手部材長手方向のせん断力を受ける。
【0005】
鋼管矢板式基礎の強度を十分に得るためは、連結された複数の鋼管矢板が、外力に対して一体的に抵抗するのが望ましい。しかし、固化材に継手部材長手方向のせん断力が作用して継手部材同士が長手方向上下にずれると、複数の鋼管矢板が一体となって機能せず、基礎としての強度が低下する恐れがある。
【0006】
これに対し、上述した特許文献1、2では、継手部材の表面に突起を設けて継手部材と固化材の付着力を向上させており、継手部材長手方向のせん断力に対する強度を向上させている。
【先行技術文献】
【特許文献】
【0007】
特開平11-140863号公報
特許第3368398号公報
【発明の概要】
【発明が解決しようとする課題】
【0008】
上述したように、鋼管矢板式基礎の強度を向上させるためには、嵌合する継手部材が継手長手方向にずれるのを防止する必要がある。そこで従来では、雄継手部材のフランジ部に突起を設け、嵌合部に充填される固化材と雄継手部材の付着力を向上させていた。
上記突起による付着力向上効果を十分に発揮するためは、嵌合部内に固化材が空隙なく充填されているのが望ましい。
【0009】
固化材を空隙なく充填するためには、充填前に嵌合部内の土砂を完全に除去する必要がある。前述したL-T型継手構造では、雌継手部材に雄継手部材を嵌合させると、雌継手部材の内側の領域が雄継手部材によって3つの区画領域に仕切られるので、各区画領域毎に排土及び洗浄を行い、土砂を除去する必要がある。
【0010】
しかし、雄継手部材によって仕切られた区画領域はとても狭いため、領域内の排土や洗浄の作業性が悪く、土砂を完全に除去できない場合があった。土砂の除去が不十分な状態で固化材を充填すると、継手部材と固化材とが十分に付着せず、期待する継手強度が得られないという問題がある。また、雄継手部材のウェブ部の両側に形成される領域に関しては特に小さいので、固化材を注入するための注入管を挿入できず、固化材の打設自体が困難な場合もあった。
(【0011】以降は省略されています)
この特許をJ-PlatPat(特許庁公式サイト)で参照する
関連特許
JFEスチール株式会社
焼結鉱の製造方法
3日前
JFEスチール株式会社
フェロコークスの製造方法
3日前
JFEスチール株式会社
冷間圧延スラッジの処理方法
2日前
JFEスチール株式会社
空気冷却装置、空気冷却方法及び空気分離システム
2日前
JFEスチール株式会社
上面が水和硬化体からなる敷設層及びその構築方法
2日前
JFEスチール株式会社
合金化溶融亜鉛めっき鋼板の欠陥検査装置および合金化溶融亜鉛めっき鋼板の欠陥検査方法
3日前
JFEスチール株式会社
鋼材曲がり量算出方法、鋼材の製造方法、鋼材の曲がり判定方法、および鋼材曲がり量算出装置
2日前
JFEスチール株式会社
フェライト系ステンレス熱延焼鈍鋼板およびその製造方法ならびにフェライト系ステンレス冷延焼鈍鋼板の製造方法
2日前
JFEスチール株式会社
形状測定方法、形状測定装置、矢板の測定方法、矢板の計測システム、計測端末、矢板の製造方法、および矢板の品質管理方法
2日前
JFEスチール株式会社
形状測定方法、形状測定装置、セグメントの測定方法、セグメントの計測システム、計測端末、セグメントの製造方法、およびセグメントの品質管理方法
3日前
個人
鋼管
17日前
FKS株式会社
擁壁
6日前
鈴健興業株式会社
敷板部材
2日前
株式会社奥村組
ケーソン工法
9日前
株式会社クボタ
作業車
4日前
株式会社クボタ
作業車
4日前
株式会社ネクステリア
平板基礎
2日前
個人
擁壁用ブロックおよび擁壁
3日前
株式会社大林組
建物の構造
3日前
株式会社奥村組
ケーソン刃口金物
9日前
株式会社武井工業所
積みブロック
26日前
株式会社熊谷組
密度計測方法
4日前
株式会社大林組
袋体付き排水パイプ
16日前
株式会社大林組
袋体付き排水パイプ
16日前
ヤンマーホールディングス株式会社
作業機械
1か月前
日立建機株式会社
作業機械
6日前
日立建機株式会社
作業機械
24日前
日立建機株式会社
建設機械
2日前
ヤマト発動機株式会社
浮遊型消波装置
6日前
大和ハウス工業株式会社
杭抜き先端具
10日前
住友金属鉱山株式会社
タンク設置用基礎
1か月前
ゼニヤ海洋サービス株式会社
通船ゲート
16日前
有限会社冨永総業
キャンプ用ペグ抜きハンマー
1か月前
株式会社地盤改良堀田
基礎杭の設置方法
1か月前
株式会社フジタ
掘削機
25日前
鹿島建設株式会社
接続方法および接続構造
16日前
続きを見る
他の特許を見る