TOP
|
特許
|
意匠
|
商標
特許ウォッチ
Twitter
他の特許を見る
公開番号
2025142566
公報種別
公開特許公報(A)
公開日
2025-10-01
出願番号
2024042008
出願日
2024-03-18
発明の名称
密度計測方法
出願人
株式会社熊谷組
代理人
個人
,
個人
主分類
E02D
1/00 20060101AFI20250924BHJP(水工;基礎;土砂の移送)
要約
【課題】タンピングローラで地表に窪みが形成されても、透過型RI計測装置によって地盤の密度を良好に計測する。
【解決手段】密度計測方法は、地中に放射線を放出し、地中からの散乱線に基づいて地盤の密度を計測するRI計測装置(1)を用いている。密度計測方法では、地表に窪みを形成するステップと、放射線用の遮蔽カバー(33)でRI計測装置の周囲を覆うステップと、地表に形成された窪み(45)内にRI計測装置を設置するステップと、RI計測装置によって窪み内で密度計測を開始するステップと、が実施される。
【選択図】図3
特許請求の範囲
【請求項1】
地中に放射線を放出し、地中からの散乱線に基づいて地盤の密度を計測するRI計測装置を用いた密度計測方法であって、
地表に窪みを形成するステップと、
放射線用の遮蔽カバーで前記RI計測装置の周囲を覆うステップと、
地表に形成された窪み内に前記RI計測装置を設置するステップと、
前記RI計測装置によって窪み内で密度計測を開始するステップと、を有していることを特徴とする密度計測方法。
続きを表示(約 370 文字)
【請求項2】
窪みを形成するステップは、無数の突起を持ったタンピングローラで地表を転圧して窪みを形成することを特徴とする請求項1に記載の密度計測方法。
【請求項3】
前記RI計測装置が、
直方体状に形成されて窪み内に設置されるケースと、
前記ケース内に設置されて放射線を放出する線源と、
前記ケース内に設置されて散乱線を検出する検出器と、
前記ケース内に設置されて放射線を遮蔽する遮蔽体と、を備え、
前記線源及び前記検出器が前記ケースの対角位置に設置されていることを特徴とする請求項1又は請求項2に記載の密度計測方法。
【請求項4】
前記線源と前記検出器の間で前記線源から前記検出器に向かう対角方向に前記遮蔽体が延びていることを特徴とする請求項3に記載の密度計測方法。
発明の詳細な説明
【技術分野】
【0001】
本発明は、密度計測方法に関する。
続きを表示(約 1,700 文字)
【背景技術】
【0002】
一般に、ロックフィルダムの遮水材の密度管理には砂置換法が用いられ、河川や道路の土工作業の盛土の締固め管理には透過型RI(Radio Isotope)法が用いられる。砂置換法や透過型RI法では、試験孔、線源の挿入孔の削孔作業が必要になる。また、透過型RI法では、手作業による測定面の不陸整正、測定地点への計測装置の持ち運び等で作業負担が大きい。このため、削孔作業が不要になる散乱型RI法が提案されている(例えば、特許文献1参照)。散乱型RI法では線源と検出器が地表に設置され、線源から地中に放射線が放出され、地中からの散乱線が検出器で検出されて密度が計測されている。
【先行技術文献】
【特許文献】
【0003】
特開2009-053127号公報
【発明の概要】
【発明が解決しようとする課題】
【0004】
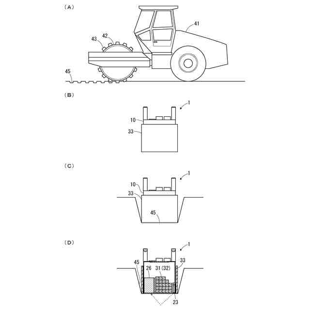
ところで、土木工事ではタンピングローラ等によって地盤の締固めが行われて地表に無数の窪みが形成される。このため、特許文献1に記載の散乱型RI法では、窪みのある地表で地盤の密度を計測することが難しい。
【0005】
本発明はかかる点に鑑みてなされたものであり、地表に窪みが形成されても、RI計測装置によって地盤の密度を良好に計測することができる密度計測方法を提供することを目的とする。
【課題を解決するための手段】
【0006】
本発明の一態様の密度計測方法は、地中に放射線を放出し、地中からの散乱線に基づいて地盤の密度を計測するRI計測装置を用いた密度計測方法であって、地表に窪みを形成するステップと、放射線用の遮蔽カバーで前記RI計測装置の周囲を覆うステップと、地表に形成された窪み内に前記RI計測装置を設置するステップと、前記RI計測装置によって窪み内で密度計測を開始するステップと、を有している。
【発明の効果】
【0007】
本発明の一態様の密度計測方法は、地表に形成された窪みが利用され、窪み内にRI計測装置が設置されて地盤の密度が測定される。窪み内でRI計測装置から放射線が放出されても、RI計測装置の周囲が遮蔽カバーに覆われるため、窪みの周壁での放射線の乱反射の影響が抑えられる。よって、窪み内でもRI計測装置によって地盤の密度を良好に計測することができる。
【図面の簡単な説明】
【0008】
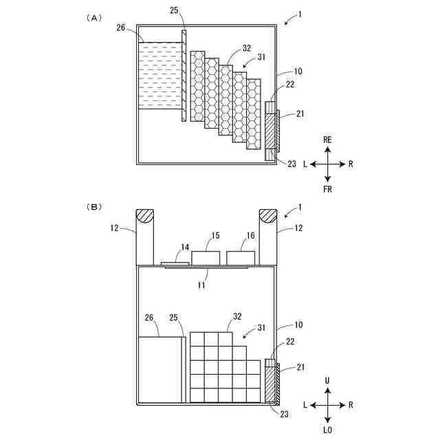
本実施形態のRI計測装置の上面図及び側面図である。
本実施形態のRI計測装置の断面模式図である。
本実施形態の密度計測方法の説明図である。
乾燥密度の比較結果の一例を示すグラフである。
【発明を実施するための形態】
【0009】
以下、本実施形態のRI計測装置について説明する。図1は本実施形態のRI計測装置の上面図及び側面図である。図2は本実施形態のRI計測装置の断面模式図である。なお、図2(A)は図1のRI計測装置をA-A線で切断した断面図であり、図2(B)は図1のRI計測装置をB-B線で切断した断面図である。各図に付される矢印FR、RE、L、R、U、LOは、それぞれRI測定器の前方、後方、左方、右方、上方、下方を示している。
【0010】
図1(A)及び図1(B)に示すように、RI計測装置1は、散乱型のRI計測装置であり、地中に放射線を放出して、地中からの散乱線に基づいて地盤の密度を計測するように構成されている。RI計測装置1のケース10は直方体状(本実施形態では立方体状)に形成されている。ケース10の上面中央にはディスプレイ11が設けられており、ケース10の上面左側及び上面右側には一対のハンドル12が設けられている。ケース10の上面前側にはキーパネル13が設けられており、ケース10の上面後側にはボタンスイッチ14、充電コネクタ15、信号コネクタ16が設けられている。
(【0011】以降は省略されています)
この特許をJ-PlatPat(特許庁公式サイト)で参照する
関連特許
株式会社熊谷組
床版
21日前
株式会社熊谷組
床版
21日前
株式会社熊谷組
床構成材
21日前
株式会社熊谷組
吊り治具
28日前
株式会社熊谷組
山留壁用親杭
20日前
株式会社熊谷組
地盤改良方法
23日前
株式会社熊谷組
障害物の検出方法
22日前
株式会社熊谷組
建物構造体の変位抑制装置
20日前
株式会社熊谷組
アクアポニックスシステム
27日前
株式会社熊谷組
耐火構造、及び、耐火構造の施工方法
21日前
国立大学法人東北大学
重金属の不溶化方法
28日前
岐阜工業株式会社
コンクリート用流量調整弁
27日前
ベルテクス株式会社
コンクリート部材の継手構造
27日前
ベルテクス株式会社
コンクリート部材の取付構造とその成型に用いる抜き型
27日前
株式会社ホルツストラ一級建築士事務所
下地材付き軸材、及び、耐火被覆構造体
16日前
個人
バケット
今日
個人
建物の不同沈下の修正方法
7日前
株式会社富田製作所
継手部構造
今日
株式会社大林組
操縦装置
3日前
千代田工営株式会社
回転貫入杭
14日前
日立建機株式会社
作業機械
14日前
ヤンマーホールディングス株式会社
作業機械
13日前
ヤンマーホールディングス株式会社
作業機械
13日前
日本車輌製造株式会社
建設機械
16日前
FKS株式会社
擁壁及び擁壁の築造方法
2日前
鹿島建設株式会社
接続方法および接続構造
16日前
株式会社次世代一次産業実践所
登山道の施工装置
8日前
株式会社三誠
建物の免震構造
7日前
山形新興株式会社
建築物の基礎及び基礎成形型
15日前
個人
アンカーボルト支持装置
13日前
日本車輌製造株式会社
杭打機の制御システム
6日前
株式会社大林組
施工支援装置及び施工支援方法
2日前
株式会社大林組
施工支援装置及び施工支援方法
2日前
株式会社大林組
施工支援装置及び施工支援方法
2日前
日本車輌製造株式会社
建設機械の電源システム
6日前
株式会社大林組
評価支援装置及び評価支援方法
1日前
続きを見る
他の特許を見る