TOP
|
特許
|
意匠
|
商標
特許ウォッチ
Twitter
他の特許を見る
10個以上の画像は省略されています。
公開番号
2025145264
公報種別
公開特許公報(A)
公開日
2025-10-03
出願番号
2024045353
出願日
2024-03-21
発明の名称
コンクリート部材の取付構造とその成型に用いる抜き型
出願人
ベルテクス株式会社
,
株式会社熊谷組
代理人
弁理士法人牛木国際特許事務所
主分類
E01D
19/10 20060101AFI20250926BHJP(道路,鉄道または橋りょうの建設)
要約
【課題】アンカー部材の引抜抵抗を向上することができるコンクリート部材の取付構造を提供する。
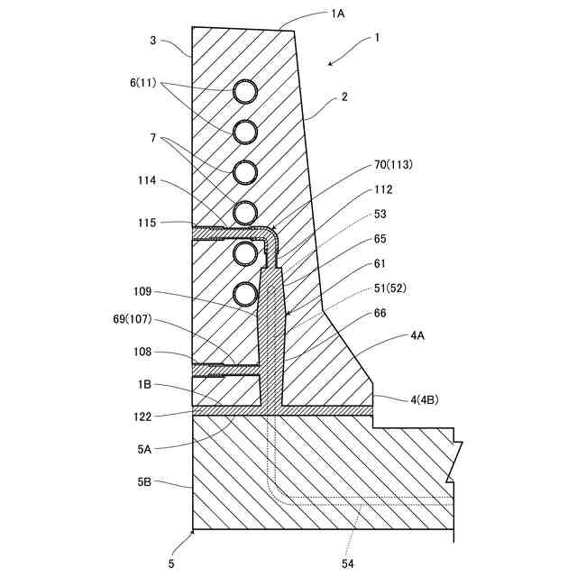
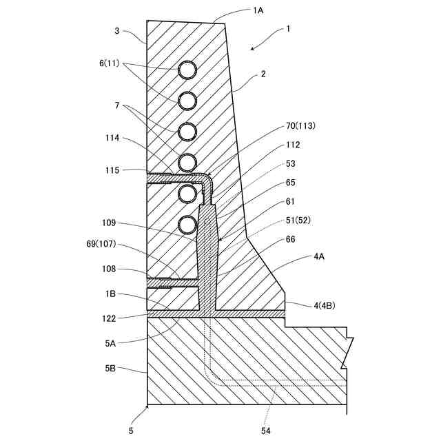
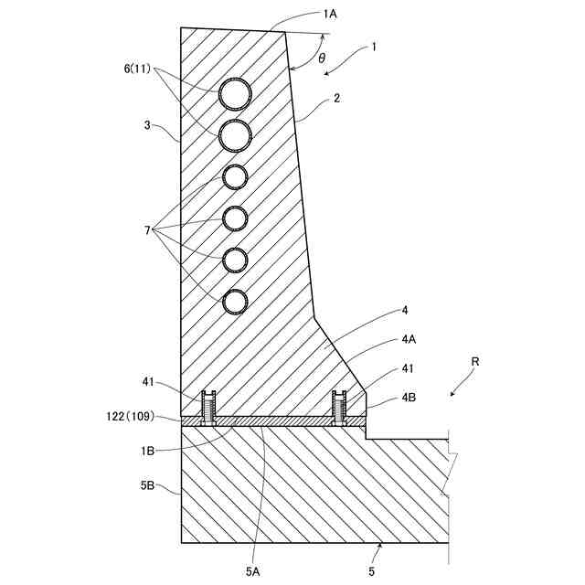
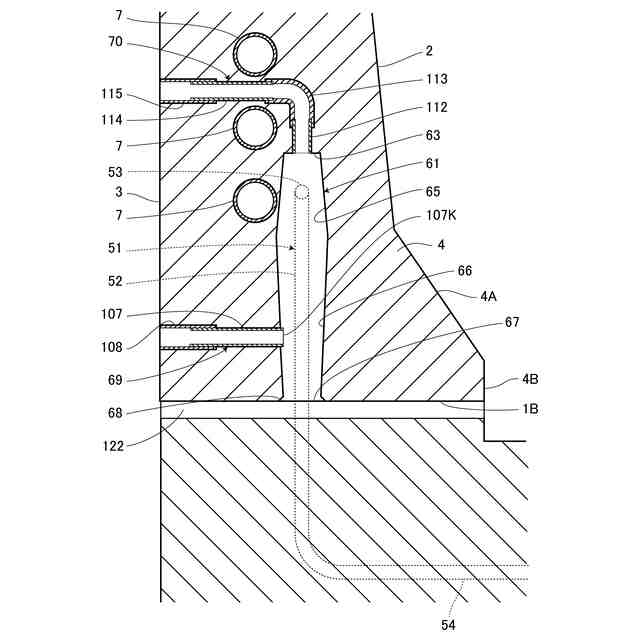
【解決手段】コンクリート床版5にアンカー部材51を設け、このアンカー部材51を挿入するアンカー孔61を壁高欄1に設け、アンカー部材51を挿入したアンカー孔61内に固化材109を充填して床版5に壁高欄1を取り付ける。アンカー孔61はアンカー部材51の反挿入方向に向かって断面が縮小するから、アンカー孔61で固化した固化材109内にアンカー部材51が埋設されており、そのアンカー部材51を反挿入方向に引っ張る引抜力が加わると、反挿入方向に断面が縮小するアンカー孔61によって、前記引抜力に対抗することができ、壁高欄1の取付強度が向上する。
【選択図】図2
特許請求の範囲
【請求項1】
被取付部材にアンカー部材を設け、このアンカー部材を挿入するアンカー孔をプレキャスト製のコンクリート部材に設け、前記アンカー部材を挿入した前記アンカー孔内に固化材を充填して前記被取付部材に前記コンクリート部材を取り付けるコンクリート部材の取付構造において、
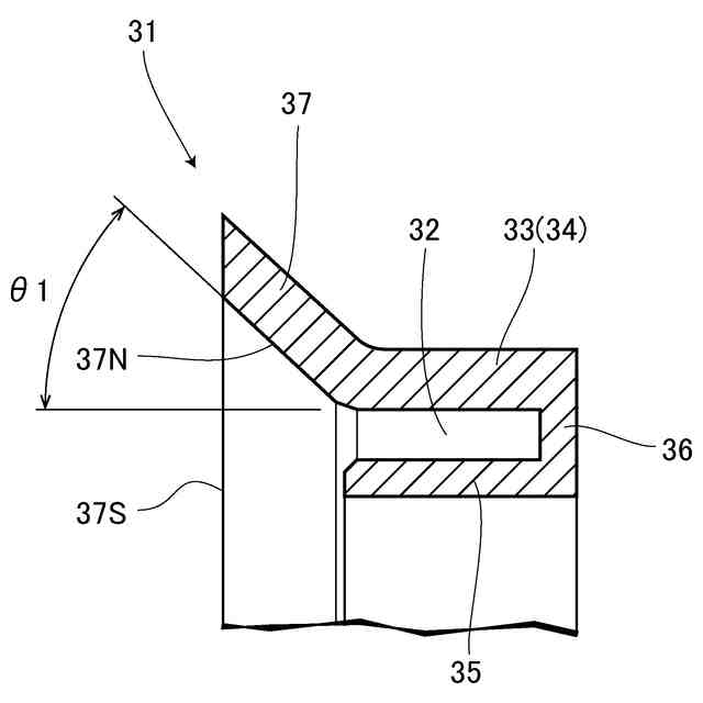
前記アンカー孔は前記アンカー部材の反挿入方向に向かって断面が縮小することを特徴とするコンクリート部材の取付構造。
続きを表示(約 510 文字)
【請求項2】
前記アンカー孔は幅方向より長さ方向が長い溝状をなし、前記アンカー孔の幅方向両側の内周面の間隔が前記反挿入方向に向かって狭まり、前記アンカー孔に複数のアンカー部材を挿入したことを特徴とする請求項1記載のコンクリート部材の取付構造。
【請求項3】
前記アンカー部材は、前記アンカー孔の長さ方向に間隔を置いて配置した一対の挿入方向鉄筋の挿入方向端部を連結鉄筋により連結し、前記一対の挿入方向鉄筋の前記反挿入方向端部を前記被取付部材に固定したことを特徴とする請求項1又は2記載のコンクリート部材の取付構造。
【請求項4】
被取付部材に設けたアンカー部材を遊挿した状態で充填材が充填されるアンカー孔を有すると共に、このアンカー孔の断面が前記アンカー部材の反挿入方向に向かって縮小するプレキャスト製コンクリート部材の前記アンカー孔を成型する抜き型であって、
前記反挿入方向と交差方向に3分割された一方の外側部材と中央部材と他方の外側部材とを有し、
前記中央部材の幅が前記反挿入方向に向かって狭まるように形成されていることを特徴とするコンクリート部材の成型に用いる抜き型。
発明の詳細な説明
【技術分野】
【0001】
本発明は、コンクリート部材の取付構造とその成型に用いる抜き型に関する。
続きを表示(約 1,500 文字)
【背景技術】
【0002】
従来、この種の取付構造を用いるものとして、壁高欄、橋梁の橋桁、床版、擁壁、地下構造物、その他各種土木構造物を構成するプレキャスト製のコンクリート部材(例えば特許文献1)などが知られている。
【0003】
また、コンクリート部材の取付構造の一例として、地中に埋設された基礎柱と、内部に該基礎柱が挿入される空間を有し、上面に該空間と連通する充填物注入用の開口を有するコンクリート製のプレキャストガードフエンスブロックと、前記空間に注入される充填物と、からなるプレキャストガードフェンス(例えば特許文献2)がある。
【先行技術文献】
【特許文献】
【0004】
特開2022-48620号公報
特開平6-136724号公報
【発明の概要】
【発明が解決しようとする課題】
【0005】
上記特許文献2では、コンクリート部材の内部の空間に、地中に埋設された基礎杭を挿入し、前記空間に充填物を充填することにより、コンクリート部材を道路に取り付ける構造であり、前記空間が下方に向かって拡大する一般的な形状であるため、コンクリート部材を引き抜く力が加わり、空間の内面から充填物が分離すると、その引抜力に対して、アンカー部材たる基礎杭が十分に対抗できなくなる虞がある。
【0006】
解決しようとする課題は、被取付部材にアンカー部材を突設し、このアンカー部材を遊挿するアンカー孔をプレキャスト製のコンクリート部材に設け、アンカー部材を遊挿したアンカー孔内に固化材を充填して被取付部材にコンクリート部材を取り付けるコンクリート部材の取付構造において、アンカー部材の引抜抵抗を向上することができるコンクリート部材の取付構造を提供することを目的とする。
【課題を解決するための手段】
【0007】
請求項1の発明は、被取付部材にアンカー部材を設け、このアンカー部材を挿入するアンカー孔をプレキャスト製のコンクリート部材に設け、前記アンカー部材を挿入した前記アンカー孔内に固化材を充填して前記被取付部材に前記コンクリート部材を取り付けるコンクリート部材の取付構造において、前記アンカー孔は前記アンカー部材の反挿入方向に向かって断面が縮小することを特徴とする。
【0008】
また、請求項2の発明は、前記アンカー孔は幅方向より長さ方向が長い溝状をなし、前記アンカー孔の幅方向両側の内周面の間隔が前記反挿入方向に向かって狭まり、前記アンカー孔に複数のアンカー部材を挿入したことを特徴とする。
【0009】
また、請求項3の発明は、前記アンカー部材は、前記アンカー孔の長さ方向に間隔を置いて配置した一対の挿入方向鉄筋の挿入方向端部を連結鉄筋により連結し、前記一対の挿入方向鉄筋の前記反挿入方向端部を前記被取付部材に固定したことを特徴とする。
【0010】
また、請求項4の発明は、被取付部材に設けたアンカー部材を遊挿した状態で充填材が充填されるアンカー孔を有すると共に、このアンカー孔の断面が前記アンカー部材の反挿入方向に向かって縮小するプレキャスト製コンクリート部材の前記アンカー孔を成型する抜き型であって、前記反挿入方向と交差方向に3分割された一方の外側部材と中央部材と他方の外側部材とを有し、前記中央部材の幅が前記反挿入方向に向かって狭まるように形成されていることを特徴とする。
【発明の効果】
(【0011】以降は省略されています)
この特許をJ-PlatPat(特許庁公式サイト)で参照する
関連特許
ベルテクス株式会社
地中熱交換装置及び地中熱交換装置の構築工法
13日前
東急建設株式会社
遮音壁ユニット、遮音壁構造及び遮音壁ユニットの施工方法
14日前
株式会社熊谷組
床版
1か月前
株式会社熊谷組
床版
1か月前
株式会社セイトク
防雪パネル
1か月前
白出商事株式会社
縁石銘板(名板)
1か月前
コスモテック株式会社
表示装置
13日前
株式会社NIPPO
斜面用ローラ
1か月前
株式会社NIPPO
斜面用ローラ
1か月前
株式会社ササキコーポレーション
作業機
1か月前
株式会社 林物産発明研究所
道路安全体
今日
株式会社NIPPO
距離補正装置
1か月前
株式会社NIPPO
切削用制御装置
1か月前
戸田建設株式会社
コンクリート構造
24日前
三信工業株式会社
床版架設装置
1か月前
桑名金属工業株式会社
融雪マットおよび融雪方法
1か月前
戸田建設株式会社
鋼製ブラケットの取付装置
24日前
東亜グラウト工業株式会社
防護柵の支柱構造
1か月前
戸田建設株式会社
鋼製ブラケットの取付装置
24日前
株式会社川金コアテック
橋梁用鋼弾塑性ダンパー
8日前
西尾レントオール株式会社
コーンベット型電源装置
1か月前
株式会社NIPPO
バンク用建設機械サポータ装置
1か月前
日鉄神鋼建材株式会社
補強金具、及び支柱取付構造
1か月前
株式会社NIPPO
アスファルトスタッカ制御装置
1か月前
日鉄建材株式会社
吊り材で支持された足場用床パネル
1か月前
鹿島建設株式会社
床版架設方法
27日前
日立建機株式会社
転圧機械
1か月前
株式会社日本コンポジット工業
壁用構造体
1か月前
オリエンタル白石株式会社
補強鋼板及び排土方法
1か月前
三井住友建設株式会社
床版拡幅工法
1か月前
ダンレックス株式会社
表示装置
1日前
宮地エンジニアリング株式会社
ワイヤブリッジの設置方法
1か月前
株式会社プロテックエンジニアリング
衝撃吸収柵
1か月前
東日本旅客鉄道株式会社
横取り方法
1か月前
鹿島建設株式会社
橋、および橋の製造方法
1か月前
愛知製鋼株式会社
磁気マーカの施工方法および施工用の補助工具
14日前
続きを見る
他の特許を見る