TOP
|
特許
|
意匠
|
商標
特許ウォッチ
Twitter
他の特許を見る
10個以上の画像は省略されています。
公開番号
2025154918
公報種別
公開特許公報(A)
公開日
2025-10-10
出願番号
2024058200
出願日
2024-03-29
発明の名称
融雪マットおよび融雪方法
出願人
桑名金属工業株式会社
代理人
主分類
E01H
5/10 20060101AFI20251002BHJP(道路,鉄道または橋りょうの建設)
要約
【課題】かまくらの発生を抑制しながら、側壁に接触または押し付けられて、側壁にもたれかかるようにしてベース面に堆積する雪を融かすことが可能な融雪マットおよび融雪方法を提供する。
【解決手段】融雪マット1は、側壁に接触または押し付けられて、側壁にもたれかかるようにしてベース面に堆積する雪を融かすための融雪マットであって、ベース面から側壁にかけてそれらの表面を覆うようにL字状をなして設けられ、内部に媒体が流れる通媒路が長手方向に沿って形成された複数の帯部材2A、2B、2Cと、帯部材2A、2B、2Cを幅方向に並列させて長手方向一端側で連結しつつ、通媒路に媒体が流入または流出可能にする連結部材3A、3A’、3B、3B’、3C、3C’とを有する。
【選択図】図1
特許請求の範囲
【請求項1】
側壁に接触または押し付けられて、側壁にもたれかかるようにしてベース面に堆積する雪を融かすための融雪マットであって、
前記融雪マットは前記ベース面から前記側壁にかけてそれらの表面を覆うようにL字状をなして設けられることを特徴とする融雪マット。
続きを表示(約 650 文字)
【請求項2】
前記融雪マットは、内部に媒体が流れる通媒路が長手方向に沿って形成された複数の帯部材と、前記帯部材を幅方向に並列させて長手方向一端側で連結しつつ、前記通媒路に前記媒体が流入または流出可能にする連結部材とを有し、
前記融雪マットは、前記帯部材の幅方向が全体でL字状に沿うように、かつ、前記帯部材の長手方向が水平方向に沿うように設けられることを特徴とする請求項1に記載の融雪マット。
【請求項3】
前記融雪マットは、前記連結部材によって前記帯部材が複数本ずつ連結された連結ユニットを複数有し、前記連結ユニット同士が前記媒体を通媒可能な接続流路部材によって接続されていることを特徴とする請求項2に記載の融雪マット。
【請求項4】
前記連結ユニット間で隣接する前記帯部材の間隔が、前記各連結ユニットにおける前記帯部材の間隔よりも大きいことを特徴とする請求項3に記載の融雪マット。
【請求項5】
前記融雪マットは、前記融雪マットを通過した前記媒体を、前記ベース面と前記融雪マットとの間に流出させる流出管を有することを特徴とする請求項2に記載の融雪マット。
【請求項6】
側壁に接触または押し付けられて、側壁にもたれかかるようにしてベース面に堆積する雪を融かすための融雪方法であって、
融雪マットを前記ベース面から前記側壁にかけてそれらの表面を覆うようにL字状をなすように設けることを特徴とする融雪方法。
発明の詳細な説明
【技術分野】
【0001】
本発明は、融雪マットおよび融雪方法に関し、特にかまくら現象を防止する融雪マットおよび融雪方法に関する。なお、本明細書において、堆積した雪が融雪によりドーム状の雪の塊になったものを「かまくら」と称し、「かまくら」が形成される現象を「かまくら現象」と称する。
続きを表示(約 1,600 文字)
【背景技術】
【0002】
降雪地域では、積雪による通行障害などを防ぐため、除雪作業が行われている。除雪作業は、スコップ、除雪機、除雪車などを用いて行われるが、除雪後には道路脇や、庭や駐車場の一角などに雪が積み上げられる。積み上げられた雪は押し固められて、長時間融けずに残ることが多く、それによってスペースが奪われるなどの不都合が生じる場合がある。
【0003】
また、トンネル内の入口付近にも雪は堆積する場合がある。例えばトンネルに続く道路の除雪作業では、トンネル手前までの道路の雪が除雪車によって道路脇にかき分けられるが、かき分けられた一部の雪がトンネル内に入り込むことで、トンネル内の入口付近に雪が堆積していく。そして、除雪作業のたびに雪が入り込み堆積量が増加することで、トンネル内の通行の妨げになり得る。
【0004】
このように堆積した雪を解かすための方法として、例えば散水パイプによる放水がある。しかし、散水パイプを路面に埋設する工事は大掛かりで、また散水された水が多量に溜まってしまうなどの不都合も生じやすい。
【0005】
一方、簡便な方法として、融雪マットを用いる方法がある。融雪マットは、内部にヒータなどが埋め込まれた加熱タイプのもの(例えば特許文献1)や、内部に水などの媒体を通す通媒タイプのもの(例えば特許文献2)が知られている。融雪マットは、地面などのベース面に敷かれて使用され、融雪面を温めることによって融雪面に付着する雪を融かすことができる。
【先行技術文献】
【特許文献】
【0006】
特開2017-53186号公報
特開2016-56589号公報
【発明の概要】
【発明が解決しようとする課題】
【0007】
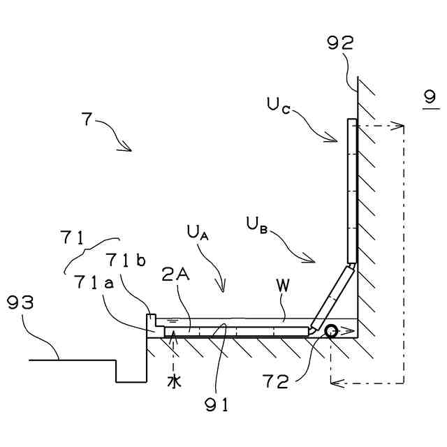
しかしながら、融雪マットをベース面に敷く方法では、その上に堆積する雪によってはかまくら現象が発生し、十分な融雪機能が発揮されないおそれがある。このかまくら現象について、図10を用いて説明する。
【0008】
図10は、除雪車による除雪などによって、雪10が側壁13に接触または押し付けられて、側壁13にもたれかかるようにしてベース面12に堆積した状態を示している。このように堆積する雪10の下に、予め融雪マット11を設置すると、融雪マット11の周囲の雪10は溶けていくものの、融雪マット11から離れた箇所の雪10は、溶けずにそのままの状態を維持しながら自重によって徐々に固められていく。その結果、融雪マット11の周囲のみ雪が溶けて空間が形成され、かまくら14となる。かまくら14が形成されると、融雪マット11の融雪機能が著しく低下してしまい、堆積した雪10が融けるのに時間を要することになる。
【0009】
本発明は、このような事情に鑑みてなされたものであり、かまくらの発生を抑制しながら、側壁に接触または押し付けられて、側壁にもたれかかるようにしてベース面に堆積する雪を融かすことが可能な融雪マットおよび融雪方法を提供することを目的とする。
【課題を解決するための手段】
【0010】
本発明の融雪マットは、側壁に接触または押し付けられて、側壁にもたれかかるようにしてベース面に堆積する雪を融かすための融雪マットであって、上記融雪マットは上記ベース面から上記側壁にかけてそれらの表面を覆うようにL字状をなして設けられることを特徴とする。本発明においてL字状とは、ベース面と側壁の延在方向から融雪マットを見た形状をいい、L字の角度や長さは厳密なものではない。また、ベース面とは、路面、地面、コンクリート面、建造物の床面などの雪が堆積する面をいう。
(【0011】以降は省略されています)
この特許をJ-PlatPat(特許庁公式サイト)で参照する
関連特許
桑名金属工業株式会社
フレキシブル管用継手
1か月前
桑名金属工業株式会社
融雪マットおよび融雪方法
28日前
株式会社熊谷組
床版
29日前
株式会社熊谷組
床版
29日前
個人
折り畳み式標識具
1か月前
株式会社熊谷組
床版接合構造
1か月前
北越消雪機械工業株式会社
消雪装置
1か月前
株式会社セイトク
防雪パネル
21日前
白出商事株式会社
縁石銘板(名板)
1か月前
株式会社ササキコーポレーション
作業機
28日前
株式会社NIPPO
斜面用ローラ
1か月前
株式会社NIPPO
距離補正装置
29日前
株式会社NIPPO
斜面用ローラ
1か月前
株式会社NIPPO
切削用制御装置
29日前
戸田建設株式会社
コンクリート構造
11日前
三信工業株式会社
床版架設装置
28日前
桑名金属工業株式会社
融雪マットおよび融雪方法
28日前
株式会社熊谷組
床版継手装置、及び、床版
1か月前
中井商工株式会社
橋梁の桁端止水工法
1か月前
戸田建設株式会社
鋼製ブラケットの取付装置
11日前
戸田建設株式会社
鋼製ブラケットの取付装置
11日前
東亜グラウト工業株式会社
防護柵の支柱構造
29日前
日鉄神鋼建材株式会社
補強金具、及び支柱取付構造
29日前
株式会社NIPPO
アスファルトスタッカ制御装置
1か月前
株式会社NIPPO
バンク用建設機械サポータ装置
1か月前
西尾レントオール株式会社
コーンベット型電源装置
23日前
日立建機株式会社
転圧機械
29日前
日鉄建材株式会社
吊り材で支持された足場用床パネル
28日前
鹿島建設株式会社
床版架設方法
14日前
オリエンタル白石株式会社
補強鋼板及び排土方法
21日前
株式会社日本コンポジット工業
壁用構造体
28日前
宮地エンジニアリング株式会社
ワイヤブリッジの設置方法
17日前
三井住友建設株式会社
床版拡幅工法
1か月前
株式会社NIPPO
コンクリートスタッカ
1か月前
東日本旅客鉄道株式会社
横取り方法
1か月前
株式会社プロテックエンジニアリング
衝撃吸収柵
24日前
続きを見る
他の特許を見る