TOP
|
特許
|
意匠
|
商標
特許ウォッチ
Twitter
他の特許を見る
公開番号
2025139683
公報種別
公開特許公報(A)
公開日
2025-09-29
出願番号
2024038645
出願日
2024-03-13
発明の名称
橋梁の桁端止水工法
出願人
中井商工株式会社
代理人
個人
,
個人
主分類
E01D
22/00 20060101AFI20250919BHJP(道路,鉄道または橋りょうの建設)
要約
【課題】橋梁における伸縮装置直下の狭い桁遊間において道路下両側面からの簡易な作業で止水構造となるシール層を施工でき、かつ、桁遊間全長にわたって均一なシール層を形成することが可能な橋梁の桁端止水工法を提供する。
【解決手段】橋梁の桁端止水工法は、長尺な漏れ止め部材を道路下の桁遊間の端部から遊間内に配置させることで桁遊間の長さ方向全長にわたり漏れ止め部材を上下に設置し、上下の漏れ止め部材の間に長さ方向全長にわたり一定の隙間を設けるように設置する漏れ止め部材設置工程と、上下の漏れ止め部材の間の隙間に対し、漏れ止め部材の一方側の端部から前記隙間内に液状のシール材料を流し込みながら、漏れ止め部材の他方側の端部から前記隙間内の空気を吸引して桁遊間の長さ方向全長にわたり前記隙間内にシール材料を充填し、硬化させてシール層を形成するシール層形成工程とを有する。
【選択図】図5
特許請求の範囲
【請求項1】
橋梁の桁遊間に止水構造となるシール層を施工する橋梁の桁端止水工法であって、
長尺な漏れ止め部材を道路下の桁遊間の端部から桁遊間内に配置させることにより桁遊間の長さ方向全長にわたり前記漏れ止め部材を設置するようにして、前記漏れ止め部材を上下に設置し、上下の漏れ止め部材の間に長さ方向全長にわたり一定の隙間を設けるように設置する漏れ止め部材設置工程と、
上下の漏れ止め部材の間の隙間に対し、前記漏れ止め部材の一方側の端部から前記隙間内に液状のシール材料を流し込みながら、前記漏れ止め部材の他方側の端部から前記隙間内の空気を吸引して、桁遊間の長さ方向全長にわたり前記隙間内にシール材料を充填し、硬化させてシール層を形成するシール層形成工程とを有する、橋梁の桁端止水工法。
続きを表示(約 840 文字)
【請求項2】
橋梁の桁遊間に止水構造となるシール層を施工する橋梁の桁端止水工法であって、
道路下の桁遊間内に桁遊間の長さ方向全長にわたり既設部材が設置されており、前記既設部材の下方又は上方に対して、長尺な漏れ止め部材を桁遊間の端部から桁遊間内に配置させることにより桁遊間の長さ方向全長にわたり前記漏れ止め部材を設置するようにして、既設部材と漏れ止め部材との間に長さ方向全長にわたり一定の隙間を設けるように設置する漏れ止め部材設置工程と、
既設部材と漏れ止め部材との間の隙間に対し、前記漏れ止め部材の一方側の端部から前記隙間内に液状のシール材料を流し込みながら、前記漏れ止め部材の他方側の端部から前記隙間内の空気を吸引して、桁遊間の長さ方向全長にわたり前記隙間内にシール材料を充填し、硬化させてシール層を形成するシール層形成工程とを有する、橋梁の桁端止水工法。
【請求項3】
前記漏れ止め部材は、桁遊間の対向面であるウエブ面に当接可能な長尺部材であり、
前記漏れ止め部材設置工程は、桁遊間の端部から桁遊間内にガイドワイヤを配置させ、前記ガイドワイヤを所定の勾配で上下方向に傾斜させて架設し、前記漏れ止め部材を前記ガイドワイヤに沿わせて桁遊間内に配置させ、前記漏れ止め部材を前記ウエブ面に当接させて所定の勾配で上下方向に傾斜させて設置する、請求項1又は2に記載の橋梁の桁端止水工法。
【請求項4】
前記シール層形成工程は、前記漏れ止め部材設置工程で形成した隙間における両端部に端部蓋を設置し、シール材料投入側の端部蓋に材料投入管を取り付けて材料投入管を通じてシール材料を前記隙間内に流し込みながら、空気吸引側の端部蓋に空気吸引管を取り付けて空気吸引管の開放端に取り付けた吸引装置により前記隙間内の空気を吸引するようにし、シール材料が空気吸引管に達すると吸引装置の吸引を停止する、請求項1又は2に記載の橋梁の桁端止水工法。
発明の詳細な説明
【技術分野】
【0001】
本発明は、橋梁の桁遊間に止水構造となるシール層を施工する橋梁の桁端止水工法に関する。
続きを表示(約 2,600 文字)
【背景技術】
【0002】
河川橋や高架橋等の橋梁において、橋桁と橋桁の間、橋桁と橋台パラペットの間には、季節の温度変化による橋桁の伸縮を許容するために遊間が形成されている。遊間においては、上部に路面の連続性を確保するために櫛歯状の伸縮装置が設けられており、また、伸縮装置の内部には、一般的に雨水や土砂や融雪剤等の浸入を防止するための止水材が設けられ、遊間下の橋梁構造物(橋台、橋脚、支承等)が雨水等により劣化することを防止している。
【先行技術文献】
【特許文献】
【0003】
特開2021-173149号公報
【発明の概要】
【発明が解決しようとする課題】
【0004】
止水材は、弾性部材等で形成されており経年劣化するので、橋梁の長寿命化を図るために止水材の止水性能が失われる前に伸縮装置内部の止水構造物を補修や改修、取替等することが求められる。このとき、止水構造の補修等の工事を道路上から行うには交通規制が必要となり、できれば交通規制を行わずに道路下から補修等の工事を実施できることが望まれる。しかしながら、コンクリート橋梁等の場合、伸縮装置直下の桁遊間には作業空間が無いため、道路下から伸縮装置内部全長にわたって均一に止水構造物を施工することが困難であった。そのため、伸縮装置直下の桁遊間に止水構造を道路下両側面から設置することが望ましい。
【0005】
本発明は、以上の事情に鑑みてなされたものであり、橋梁における伸縮装置直下の狭い桁遊間において道路下両側面からの簡易な作業で止水構造となるシール層を施工でき、かつ、桁遊間全長にわたって均一なシール層を形成することが可能な橋梁の桁端止水工法を提供することを目的とする。
【課題を解決するための手段】
【0006】
本発明に係る橋梁の桁端止水工法は、
橋梁の桁遊間に止水構造となるシール層を施工する橋梁の桁端止水工法であって、
長尺な漏れ止め部材を道路下の桁遊間の端部から桁遊間内に配置させることにより桁遊間の長さ方向全長にわたり前記漏れ止め部材を設置するようにして、前記漏れ止め部材を上下に設置し、上下の漏れ止め部材の間に長さ方向全長にわたり一定の隙間を設けるように設置する漏れ止め部材設置工程と、
上下の漏れ止め部材の間の隙間に対し、前記漏れ止め部材の一方側の端部から前記隙間内に液状のシール材料を流し込みながら、前記漏れ止め部材の他方側の端部から前記隙間内の空気を吸引して、桁遊間の長さ方向全長にわたり前記隙間内にシール材料を充填し、硬化させてシール層を形成するシール層形成工程とを有する。
【0007】
また、本発明に係る橋梁の桁端止水工法の他の形態は、
道路下の桁遊間内に桁遊間の長さ方向全長にわたり既設部材が設置されている場合、前記既設部材の下方又は上方に対して、長尺な漏れ止め部材を桁遊間の端部から桁遊間内に配置させることにより桁遊間の長さ方向全長にわたり前記漏れ止め部材を設置するようにして、既設部材と漏れ止め部材との間に長さ方向全長にわたり一定の隙間を設けるように設置する漏れ止め部材設置工程と、
既設部材と漏れ止め部材との間の隙間に対し、前記漏れ止め部材の一方側の端部から前記隙間内に液状のシール材料を流し込みながら、前記漏れ止め部材の他方側の端部から前記隙間内の空気を吸引して、桁遊間の長さ方向全長にわたり前記隙間内にシール材料を充填し、硬化させてシール層を形成するシール層形成工程とを有する、橋梁の桁端止水工法とすることができる。
【0008】
前記漏れ止め部材設置工程では、漏れ止め部材を設置して長さ方向全長にわたりシール材料を流し込むための一定の隙間を設けることにより、桁遊間の長さ方向におけるシール層の厚さのばらつきを抑制することができる。前記シール層形成工程では、前記漏れ止め部材設置工程で形成した隙間内に液状のシール材料を充填する際、前記隙間に対し、前記漏れ止め部材の一方側の端部から前記隙間内に液状のシール材料を流し込みながら、前記漏れ止め部材の他方側の端部から前記隙間内の空気を吸引する。その結果、まっすぐ延びるシール層を形成することができる。従って、幅が小さく内部に作業空間が確保できないような狭い桁遊間においても、桁遊間の長さ方向全長にわたり撓みや厚さのばらつきを抑制して均一にシール層を形成することができる。また、道路下の橋桁両側面から施工できるため、道路の交通規制を行うことなく作業を実施することができる。
【発明の効果】
【0009】
以上より、本発明によれば、橋梁における狭い桁遊間においても道路下両側面からの簡易な作業でシール層による止水構造を施工でき、かつ、桁遊間全長にわたって均一なシール層を形成することができる。このシール層によって桁遊間において止水機能が付加され、遊間下の橋梁構造物が雨水等により劣化することを防止できるため、橋梁の長寿命化を図ることができる。
【図面の簡単な説明】
【0010】
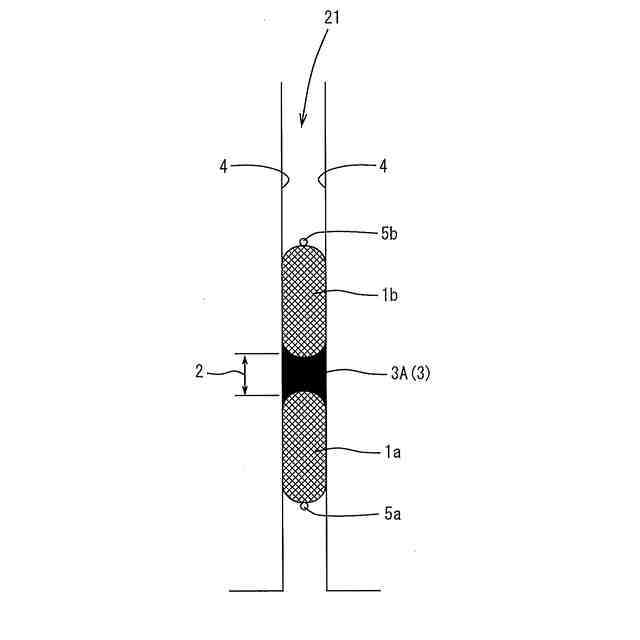
本実施形態による橋梁の桁端止水工法によりシール層を形成した遊間を示す図であり、同図(a)は橋軸直角方向から見た側面図、同図(b)は橋軸方向から見た断面図である。
桁遊間において上下のバルーン間の隙間にシール材料を充填した状態を示す模式図である。
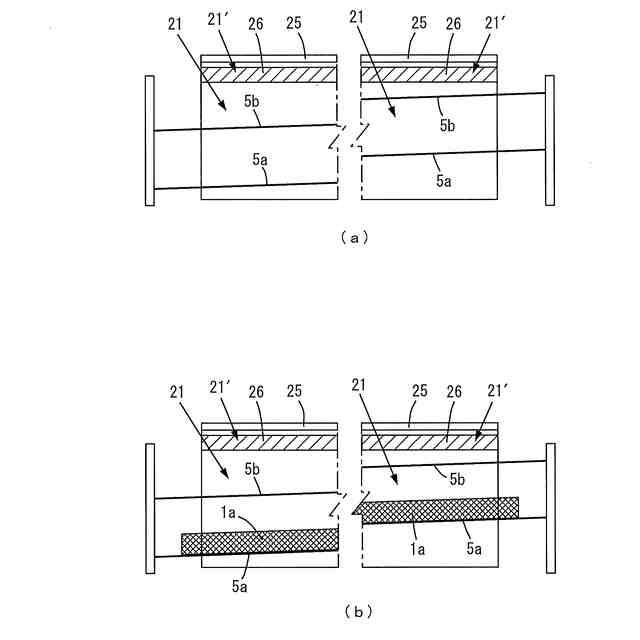
本実施形態による橋梁の桁端止水工法の工程において、ガイドワイヤの設置(同図(a))、下側のバルーンの設置(同図(b))までの工程を説明するための工程図である。
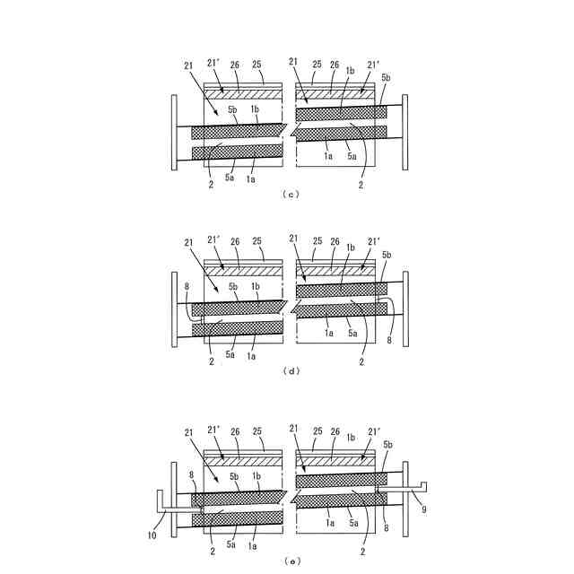
本実施形態による橋梁の桁端止水工法において、上側のバルーンの設置(同図(c))、端部蓋の設置(同図(d))、材料投入管及び空気吸引管の設置(同図(e))までの工程を説明するための工程図である。
本実施形態による橋梁の桁端止水工法において、材料投入用ホッパ、吸引装置及び空気逃し弁の設置(同図(f))、シール材料の投入(同図(g))、シール材料の養生(同図(h))までの工程を説明するための工程図である。
【発明を実施するための形態】
(【0011】以降は省略されています)
この特許をJ-PlatPat(特許庁公式サイト)で参照する
関連特許
中井商工株式会社
橋梁の桁端止水工法
26日前
株式会社熊谷組
床版
16日前
株式会社熊谷組
床版
16日前
個人
折り畳み式標識具
23日前
株式会社セイトク
防雪パネル
8日前
株式会社熊谷組
床版接合構造
26日前
北越消雪機械工業株式会社
消雪装置
23日前
白出商事株式会社
縁石銘板(名板)
18日前
GX株式会社
昇降式仮設防護体
1か月前
株式会社NIPPO
距離補正装置
16日前
株式会社ササキコーポレーション
作業機
15日前
株式会社NIPPO
斜面用ローラ
17日前
株式会社NIPPO
斜面用ローラ
17日前
株式会社NIPPO
切削用制御装置
16日前
三信工業株式会社
床版架設装置
15日前
桑名金属工業株式会社
融雪マットおよび融雪方法
15日前
株式会社熊谷組
床版継手装置、及び、床版
26日前
東亜グラウト工業株式会社
防護柵の支柱構造
16日前
中井商工株式会社
橋梁の桁端止水工法
26日前
浅香工業株式会社
レーキ
1か月前
株式会社NIPPO
バンク用建設機械サポータ装置
17日前
株式会社NIPPO
アスファルトスタッカ制御装置
17日前
日鉄神鋼建材株式会社
補強金具、及び支柱取付構造
16日前
西尾レントオール株式会社
コーンベット型電源装置
10日前
日立建機株式会社
転圧機械
16日前
日鉄建材株式会社
吊り材で支持された足場用床パネル
15日前
鹿島建設株式会社
床版架設方法
1日前
株式会社日本コンポジット工業
壁用構造体
15日前
オリエンタル白石株式会社
補強鋼板及び排土方法
8日前
宮地エンジニアリング株式会社
ワイヤブリッジの設置方法
4日前
三井住友建設株式会社
床版拡幅工法
17日前
株式会社NIPPO
法面機械
1か月前
株式会社NIPPO
コンクリートスタッカ
22日前
鹿島建設株式会社
橋、および橋の製造方法
9日前
株式会社プロテックエンジニアリング
衝撃吸収柵
11日前
東日本旅客鉄道株式会社
横取り方法
22日前
続きを見る
他の特許を見る