TOP
|
特許
|
意匠
|
商標
特許ウォッチ
Twitter
他の特許を見る
公開番号
2025149482
公報種別
公開特許公報(A)
公開日
2025-10-08
出願番号
2024050155
出願日
2024-03-26
発明の名称
バンク用建設機械サポータ装置
出願人
株式会社NIPPO
代理人
個人
主分類
E01C
19/48 20060101AFI20251001BHJP(道路,鉄道または橋りょうの建設)
要約
【課題】オペレータが手動でワイヤロープの張力を調整することなく、ワイヤロープの張力のコントロールを自動制御し、建設機械がバンクの走路方向に平行に移動する運転を容易にできるバンク用建設機械サポータ装置を提供する。
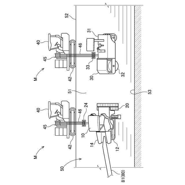
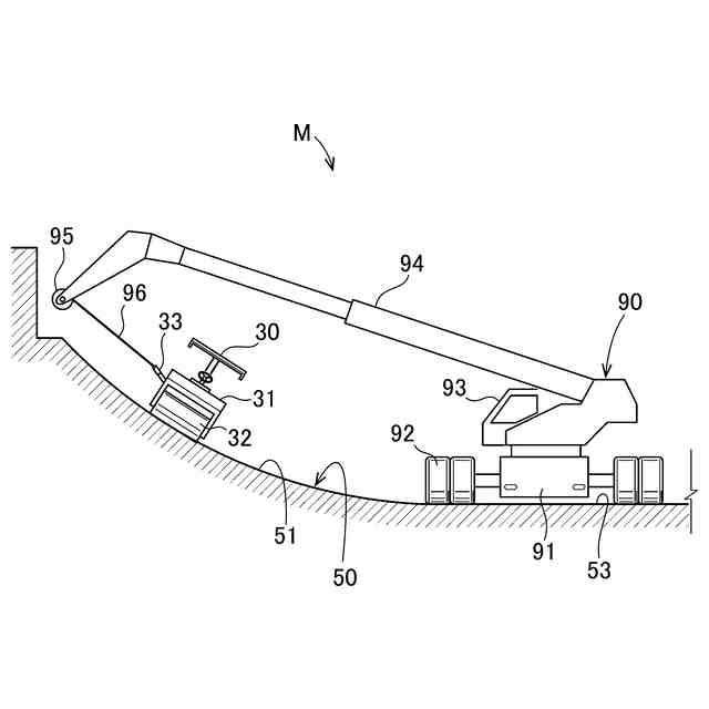
【解決手段】バンク用建設機械サポータ装置Mは、バンク51の天端52を走行する建設機械サポータ40が、ワイヤロープ46を介してバンク51を舗装する建設機械10を吊り下げながら並走する。建設機械10は、スクリード機構20と、ワイヤロープ46を受けるプーリー24と、バンク51の走行位置での傾斜角を計測する角度計25と、角度計25で計測された角度情報を送信する送信部26とを備え、制御部は角度情報と建設機械の重量を用いて建設機械が走路の所定のレーンを走行して舗装するようにバンクに平行な下方への力と上方への力が釣り合うように張力調整部の張力を調整する。
【選択図】図3
特許請求の範囲
【請求項1】
バンクの天端又は路肩を走行する建設機械サポータが、ワイヤロープを介して前記バンクを舗装する建設機械を吊り下げながら並走するバンク用建設機械サポータ装置であって、
前記建設機械は、前記バンクの走行位置での傾斜角を計測する角度計と、前記角度計で計測された角度情報を送信する送信部とを備え、
前記建設機械サポータは、車両本体と、前記車両本体に設けられ前記ワイヤロープを巻き取るウインチと、前記ウインチに設けられ前記ワイヤロープの張力を調整する張力調整部と、前記角度情報を受信する受信部と、前記角度情報と前記建設機械の重量を用いて前記建設機械の前記バンクに対する基準面からの高さ位置が一定になるとともに走路の所定のレーンを走行して舗装するように前記バンクに平行な下方への力と前記バンクに平行な上方への力が釣り合うように前記張力調整部の張力を調整する制御部とを備えていることを特徴とするバンク用建設機械サポータ装置。
続きを表示(約 660 文字)
【請求項2】
請求項1記載のバンク用建設機械サポータ装置であって、
前記制御部は、前記建設機械と前記バンクの摩擦係数を用いて前記張力調整部の張力を演算することを特徴とするバンク用建設機械サポータ装置。
【請求項3】
請求項1又は請求項2記載のバンク用建設機械サポータ装置であって、
前記送信部は一定の時間毎に前記角度情報を送信し、
前記制御部は一定の時間毎に前記張力調整部の張力を演算することを特徴とするバンク用建設機械サポータ装置。
【請求項4】
請求項1又は請求項2記載のバンク用建設機械サポータ装置であって、
前記送信部は前記建設機械が移動する一定の距離毎に前記角度情報を送信し、
前記制御部は一定の距離毎に前記張力調整部の張力を演算することを特徴とするバンク用建設機械サポータ装置。
【請求項5】
請求項1又は請求項2記載のバンク用建設機械サポータ装置であって、
前記建設機械は、投入されるアスファルト混合物の重量を計測する計測部が設けられた斜面用アスファルトフィニッシャであり、
前記建設機械の重量は、投入された前記アスファルト混合物の重量も含められていることを特徴とするバンク用建設機械サポータ装置。
【請求項6】
請求項1又は請求項2記載のバンク用建設機械サポータ装置であって、
前記建設機械は、斜面用ローラであることを特徴とするバンク用建設機械サポータ装置。
発明の詳細な説明
【技術分野】
【0001】
本発明は、バンクの天端又は路肩を走行する建設機械サポータが、ワイヤロープを介してバンクを舗装する建設機械を吊り下げながら並走するバンク用建設機械サポータ装置に関するものである。
続きを表示(約 1,900 文字)
【背景技術】
【0002】
従来、アスファルト舗装の道路等のなかには、一般の自動車が走行する高速道路や一般道の他に、自動車のレースを行うサーキットや自動車の性能試験を行うテストコースがある。サーキットやテストコースには、水平な走路だけでなく、速いスピードで走行するカーブ部分にカーブの内側へ傾斜したバンク(斜面)が形成されている。
【0003】
バンクを舗装する施工方法として、バンクの天端を走行するバンク用フィニッシャサポータが、ワイヤロープを介してバンクを走行するバンク用アスファルトフィニッシャを吊り下げながら並走してバンクにアスファルト混合物を敷き均す方法がある。このようなバンクを舗装する施工技術として、特許文献1、特許文献2の技術が知られている。
【0004】
特許文献1のバンクを舗装する施工技術は、バンクの天端に設けられたウインチトラクタ(バンク用フィニシャサポータ)によりバンクに水平に吊り下げられたビームに、ビームに沿って移動するホイストを介してバンクを走路が延びる方向に走行するアスファルトフィニッシャと転圧ローラをそれぞれ吊り下げ、アスファルトフィニッシャと転圧ローラをホイストとともに移動させながらアスファルト混合物をアスファルトフィニッシャに供給してバンクに敷き均すものである。
【0005】
しかし、カーブ部分等のバンクは位置によって傾斜角度が変わるように形成されており、施工箇所によりバンクの角度が変わると、アスファルトフィニッシャのバンクの下方に作用する力(下方に落ちようとする力)も変り、ウインチトラクタ(バンク用フィニッシャサポータ)とアスファルトフィニッシャとを結ぶワイヤロープの張力が変化するので、アスファルトフィニッシャを走路に沿って平行に安定して走行させるために、オペレータが手動で張力を調整する必要があり、熟練者でなければ難しい作業となる。
【0006】
また、特許文献2のバンクを舗装する施工技術は、アスファルトフィニッシャを用いて、フィルダムの傾斜する基面(バンク)に、アスファルト混合物を敷き均すものである。アスファルトフィニッシャは、基面(バンク)の天端に設けられた自走式けん引装置によって、フィルダムの法面上を引き上げられる。また、アスファルトフィニッシャの後方には、アスファルト混合物を敷き固めるための、ローラ車が配置されている。ローラ車は、アスファルトフィニッシャに牽引されている。
【0007】
しかし、舗装方向がバンクの下方から上方に向かう方向であり、テストコース等のバンクでは走行方向に舗装幅毎に継ぎ目のラインが入り易くなるため、テストコース等のバンクでは採用することができない舗装の施工技術である。
【先行技術文献】
【特許文献】
【0008】
特開昭57-92204号公報
特開2008-63778号公報
【発明の概要】
【発明が解決しようとする課題】
【0009】
本発明は、以上の点に鑑み、走路方向に沿って舗装されるバンクの天端又は路肩を走行する建設機械サポータが、ワイヤロープを介してバンクを舗装する建設機械を吊り下げながら並走するバンク用建設機械サポータ装置であって、オペレータが手動でワイヤロープの張力を調整することなく、ワイヤロープの張力のコントロールを自動制御し、建設機械がバンクの走路方向に平行に移動する運転を容易にできるバンク用建設機械サポータ装置を提供することを課題とする。
【課題を解決するための手段】
【0010】
本発明の実施例によれば、バンクの天端又は路肩を走行する建設機械サポータが、ワイヤロープを介して前記バンクを舗装する建設機械を吊り下げながら並走するバンク用建設機械サポータ装置であって、
前記建設機械は、前記バンクの走行位置での傾斜角を計測する角度計と、前記角度計で計測された角度情報を送信する送信部とを備え、
前記建設機械サポータは、車両本体と、前記車両本体に設けられ前記ワイヤロープを巻き取るウインチと、前記ウインチに設けられ前記ワイヤロープの張力を調整する張力調整部と、前記角度情報を受信する受信部と、前記角度情報と前記建設機械の重量を用いて前記建設機械の前記バンクに対する基準面からの高さ位置が一定になるとともに走路の所定のレーンを走行して舗装するように前記バンクに平行な下方への力と前記バンクに平行な上方への力が釣り合うように前記張力調整部の張力を調整する制御部とを備えていることを特徴とする。
(【0011】以降は省略されています)
この特許をJ-PlatPat(特許庁公式サイト)で参照する
関連特許
首都高速道路株式会社
舗装構造
3日前
株式会社NIPPO
タイヤローラ
10日前
株式会社NIPPO
路面加熱装置
23日前
株式会社セイトク
防雪パネル
1か月前
株式会社パロマ
融雪装置
2日前
コスモテック株式会社
表示装置
23日前
株式会社 林物産発明研究所
道路安全体
10日前
戸田建設株式会社
コンクリート構造
1か月前
桑名金属工業株式会社
融雪マットおよび融雪方法
1か月前
西松建設株式会社
耐震補強方法
2日前
戸田建設株式会社
鋼製ブラケットの取付装置
1か月前
戸田建設株式会社
鋼製ブラケットの取付装置
1か月前
株式会社丸治コンクリート工業所
防護柵
4日前
株式会社川金コアテック
橋梁用鋼弾塑性ダンパー
18日前
個人
充填剤及びそれが充填された人工芝
2日前
西尾レントオール株式会社
コーンベット型電源装置
1か月前
鹿島建設株式会社
床版架設方法
1か月前
オリエンタル白石株式会社
補強鋼板及び排土方法
1か月前
鹿島建設株式会社
壁高欄の施工方法
3日前
宮地エンジニアリング株式会社
ワイヤブリッジの設置方法
1か月前
ダンレックス株式会社
表示装置
11日前
株式会社朝日設計事務所
床版橋の梁組合せ床版及び施工方法
2日前
株式会社プロテックエンジニアリング
衝撃吸収柵
1か月前
鹿島建設株式会社
橋、および橋の製造方法
1か月前
愛知製鋼株式会社
磁気マーカの施工方法および施工用の補助工具
24日前
清水建設株式会社
床版架設装置および床版架設方法
10日前
オリエンタル白石株式会社
馬蹄形ジベルの合成床版撤去工法
1か月前
PUMP MAN株式会社
路面成型補助部材、及び、路面成型方法
23日前
日本製鉄株式会社
仮設橋による施工方法
10日前
株式会社安藤・間
橋梁健全度評価システム
1か月前
株式会社ミライト・ワン
ボラード
1か月前
三井住友建設株式会社
床版揚重装置及び床版工事設備
1か月前
株式会社大林組
シート部材及び、施工方法
26日前
大成建設株式会社
仮設鋼床版および床版取替工法
26日前
朝日エンヂニヤリング株式会社
主桁連続化剛結合構造
1か月前
ジェコス株式会社
締結式覆工板の損傷防止装置及び当該装置を備えた覆工板
1か月前
続きを見る
他の特許を見る