TOP
|
特許
|
意匠
|
商標
特許ウォッチ
Twitter
他の特許を見る
10個以上の画像は省略されています。
公開番号
2025161120
公報種別
公開特許公報(A)
公開日
2025-10-24
出願番号
2024064041
出願日
2024-04-11
発明の名称
橋梁健全度評価システム
出願人
株式会社安藤・間
代理人
弁理士法人 武政国際特許商標事務所
主分類
E01D
1/00 20060101AFI20251017BHJP(道路,鉄道または橋りょうの建設)
要約
【課題】本願発明の課題は、従来技術が抱える問題を解決することであり、すなわち、スマートフォンを設置する場所を理解することができ、しかも堅固に固定されたスマートフォンによって加速度を計測することができる橋梁健全度評価システムを提供することである。
【解決手段】本願発明の橋梁健全度評価システムは、橋梁の健全度を評価するシステムであって、加速度センサが内蔵されたスマートフォンと設置台、計測データ解析手段を備えたものである。スマートフォンを収容する収容空間は、設置台の上面から窪むような凹型であって、略水平とされたスマートフォンを収容する大きさで形成される。そして計測データ解析手段によって解析された結果に基づいて、橋梁の健全度を評価することができる。
【選択図】図1
特許請求の範囲
【請求項1】
橋梁の健全度を評価するシステムであって、
加速度センサが内蔵されたスマートフォンと、
前記橋梁のうち事前に計画された位置に固定され、前記スマートフォンを収容する収容空間が設けられた設置台と、
前記収容空間に配置された前記スマートフォンの前記加速度センサが取得した計測データを、解析する計測データ解析手段と、を備え、
前記収容空間は、前記設置台の上面から窪むような凹型であって、平置きされた前記スマートフォンを収容する大きさで形成され、
前記計測データ解析手段によって解析された結果に基づいて、前記橋梁の健全度を評価することができる、
ことを特徴とする橋梁健全度評価システム。
続きを表示(約 1,000 文字)
【請求項2】
水平又は略水平に移動する挟持体を、さらに備え、
前記収容空間の内壁に当接した前記スマートフォンを押し付けるように前記挟持体が移動すると、該内壁と該挟持体によって該スマートフォンが挟持される、
ことを特徴とする請求項1記載の橋梁健全度評価システム。
【請求項3】
前記挟持体は、長孔が形成された移動板と、鉛直又は略鉛直軸周りに回転する回転軸と、を有し、
前記移動板の前記長孔にはラックが設けられ、
前記回転軸は、外周にピニオンが設けられるとともに、前記長孔の中で前記ラックと該ピニオンが噛み合うように配置され、
前記回転軸が回転すると、前記ラックと前記ピニオンによって前記移動板が水平又は略水平に移動する、
ことを特徴とする請求項2記載の橋梁健全度評価システム。
【請求項4】
前記設置台を間に挟むように、かつ前記橋梁の橋軸方向に並ぶように配置される2つの仕切板と、
前記収容空間に配置された前記スマートフォンを検知するスマートフォン検知手段と、
前記スマートフォン検知手段が前記スマートフォンを検知すると、該スマートフォンによる計測中であることを示す情報を出力する計測状況出力手段と、をさらに備えた、
ことを特徴とする請求項1記載の橋梁健全度評価システム。
【請求項5】
前記スマートフォンから送信された前記計測データを記憶する計測データ記憶手段と、
前記計測データを受信すると、該計測データに係る前記スマートフォンのユーザに対して計測ポイントを付与する計測ポイント付与手段と、
前記ユーザを特定するユーザ情報と、前記計測ポイント付与手段によって付与された前記計測ポイントと、を関連づけて記憶する計測ポイント記憶手段と、をさらに備えた、
ことを特徴とする請求項1記載の橋梁健全度評価システム。
【請求項6】
2以上の前記橋梁に係る橋梁情報を、前記スマートフォンに送信する橋梁情報送信手段を、さらに備え、
2以上の前記橋梁には、それぞれ前記設置台が固定され、
前記橋梁に係る前記橋梁情報には、該橋梁に係る計測優先度が含まれ、
前記計測ポイント付与手段は、前記計測優先度に応じて異なる前記計測ポイントを付与する、
ことを特徴とする請求項5記載の橋梁健全度評価システム。
発明の詳細な説明
【技術分野】
【0001】
本願発明は、橋梁の維持管理に関するものであり、より具体的には、スマートフォンに内蔵された加速度センサによって取得される計測データに基づいて橋梁の健全度を評価することができる橋梁健全度評価システムに関するものである。
続きを表示(約 1,900 文字)
【背景技術】
【0002】
高度経済成長期に集中的に整備されてきた建設インフラストラクチャー(以下、「建設インフラ」という。)は、既に相当な老朽化が進んでいることが指摘されている。平成26年には「道路の老朽化対策の本格実施に関する提言(社会資本整備審議会)」がとりまとめられ、平成24年の笹子トンネル事故の例を挙げて「近い将来、橋梁の崩落など人命や社会装置に関わる致命的な事態を招くであろう」と警鐘を鳴らし、建設インフラの維持管理の重要性を強く唱えている。
【0003】
このような背景のもと、国は道路法施行規則の一部を改正する省令を公布し、具体的な建設インフラの点検方法、主な変状の着目箇所、判定事例写真などを示した定期点検要領を策定している。例えば橋梁に関しては、約70万橋に上るといわれる橋長2.0m以上の橋を対象とし、供用開始後2年以内に初回点検、以降5年に1回の頻度で定期点検を行うこととしている。
【0004】
橋梁点検を実施するには、多くの時間と人手を必要とし、故に相当なコストが掛かっていた。そこで、橋梁の振動計測によって得られる加速度や変位量などに基づいて、橋梁の異常を検知したり、状態を監視したり、健全度を評価したりする試みも行われている。橋梁の振動計測は、従前の点検に比べそれほど多くの人手を必要としないため、橋梁診断に掛かるコストを抑えることができるわけである。なかでも非特許文献1では、スマートフォンに内蔵された加速度センサを利用して橋梁の振動に伴う加速度を計測し、固有振動特性の変化に応じて橋梁の健全度を評価する研究を開示している。
【先行技術文献】
【非特許文献】
【0005】
小林巧、大住道生:「スマートフォンに内蔵された加速度センサの橋梁振動計測への適用性に関する基礎的検討(インフラメンテナンス実践研究論文Vol.2No.1)」
【発明の概要】
【発明が解決しようとする課題】
【0006】
非特許文献1によって、スマートフォン内蔵の加速度センサでも十分に橋梁の固有振動特性を把握できることが実験的に示された。しかしながら、充電を必要とするスマートフォンを定常的に橋梁に設置することは現実的ではない。例えば、橋梁を通行する者が所定時間だけ自身のスマートフォンで計測することとし、多くの通行者によって数多くの計測結果を得ることによって橋梁の健全度を評価するような運用が、スマートフォンを利用した計測に適している。
【0007】
ところが、橋梁のうち特定の位置(例えば、スパン中央など)で計測することが望ましいところ、専門家でない通行者はスマートフォンを設置すべき位置を的確に判断することができない。また、同じ位置で繰り返し計測することによってはじめてその橋梁の変化を把握することができるが、前回の計測者がスマートフォンを設置した場所は不明であり、そのため毎回違う位置で計測することになる。さらに、橋梁上に単にスマートフォンを載置するだけでは正しい計測が実施されず、しかも計測ごとに計測条件が異なることも考えられる。
【0008】
本願発明の課題は、従来技術が抱える問題を解決することであり、すなわち、スマートフォンを設置する場所を把握することができ、しかも堅固に固定されたスマートフォンによって加速度を計測することができる橋梁健全度評価システムを提供することである。
【課題を解決するための手段】
【0009】
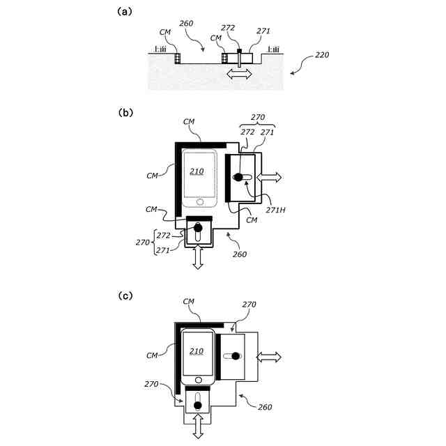
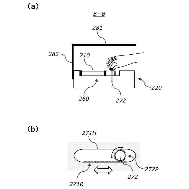
本願発明は、橋梁にスマートフォンを配置するための基礎台(以下、「設置台」という。)を設置することとし、その設置台に設けられた「収容空間」にスマートフォンを収容することによって安定した状態で加速度を計測する、という点に着目してなされたものであり、これまでにない発想に基づいて行われた発明である。
【0010】
本願発明の橋梁健全度評価システムは、橋梁の健全度を評価するシステムであって、加速度センサが内蔵されたスマートフォンと設置台、計測データ解析手段を備えたものである。この設置台は、橋梁のうち事前に計画された位置に固定され、スマートフォンを収容する収容空間が設けられたものであり、計測データ解析手段は、収容空間に配置されたスマートフォンの加速度センサが取得した計測データを解析する手段である。なお収容空間は、設置台の上面から窪むような凹型であって、平置きされたスマートフォンを収容する大きさで形成される。そして、計測データ解析手段によって解析された結果に基づいて、橋梁の健全度を評価することができる。
(【0011】以降は省略されています)
この特許をJ-PlatPat(特許庁公式サイト)で参照する
関連特許
株式会社安藤・間
構造要素表示システム
18日前
株式会社安藤・間
橋梁健全度評価システム
1か月前
株式会社安藤・間
アルカリ金属イオンの抽出方法
1か月前
株式会社安藤・間
床面測定装置、及び床面測定方法
1か月前
株式会社安藤・間
プレキャスト柱梁部材及び梁部材の接合方法
1か月前
株式会社安藤・間
柱梁接合部のグラウト充填構造及びグラウト充填方法
1か月前
株式会社安藤・間
セメント硬化体形成用組成物及びその製造方法、並びに、セメント硬化体及びその製造方法
1か月前
株式会社熊谷組
床版
5日前
積水樹脂株式会社
カバー体
3日前
個人
掃除装置
3日前
コスモテック株式会社
表示装置
1か月前
株式会社パロマ
融雪装置
10日前
株式会社 林物産発明研究所
道路安全体
18日前
西松建設株式会社
耐震補強方法
10日前
株式会社丸治コンクリート工業所
防護柵
12日前
株式会社川金コアテック
橋梁用鋼弾塑性ダンパー
26日前
個人
充填剤及びそれが充填された人工芝
10日前
鹿島建設株式会社
壁高欄の施工方法
11日前
ダンレックス株式会社
表示装置
19日前
酒井重工業株式会社
建設車両
3日前
株式会社朝日設計事務所
床版橋の梁組合せ床版及び施工方法
10日前
清水建設株式会社
床版架設装置および床版架設方法
18日前
愛知製鋼株式会社
磁気マーカの施工方法および施工用の補助工具
1か月前
ワールド開発工業株式会社
センサ用支持体およびロードローラー
4日前
PUMP MAN株式会社
路面成型補助部材、及び、路面成型方法
1か月前
公益財団法人鉄道総合技術研究所
レール締結用工具
3日前
ミネベアミツミ株式会社
冠水検出ユニット
5日前
花王株式会社
アスファルト添加剤組成物
4日前
花王株式会社
アスファルト添加剤組成物
4日前
日本製鉄株式会社
仮設橋による施工方法
18日前
個人
蓄光性の白色モルタル、その硬化体、及びその硬化体の耐候性強化方法。
3日前
公益財団法人鉄道総合技術研究所
バラスト軌道つき固め装置及び方法
3日前
公益財団法人鉄道総合技術研究所
バラスト軌道つき固め装置及び方法
3日前
宮地エンジニアリング株式会社
防音壁
3日前
大成建設株式会社
仮設鋼床版および床版取替工法
1か月前
株式会社大林組
シート部材及び、施工方法
1か月前
続きを見る
他の特許を見る