TOP
|
特許
|
意匠
|
商標
特許ウォッチ
Twitter
他の特許を見る
公開番号
2025149656
公報種別
公開特許公報(A)
公開日
2025-10-08
出願番号
2024050425
出願日
2024-03-26
発明の名称
アスファルトスタッカ制御装置
出願人
株式会社NIPPO
代理人
個人
主分類
E01C
19/48 20060101AFI20251001BHJP(道路,鉄道または橋りょうの建設)
要約
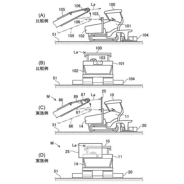
【課題】アスファルトスタッカからバンクを走行する斜面用アスファルトフィニッシャにアスファルト混合物を供給する場合であっても、常にアスファルトスタッカのベルトコンベアの先端部分が斜面用アスファルトフィニッシャのホッパの直上から外れないようして容易にアスファルト混合物を供給することができるアスファルトスタッカ制御装置を提供すること。
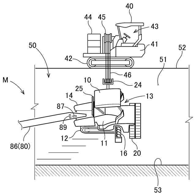
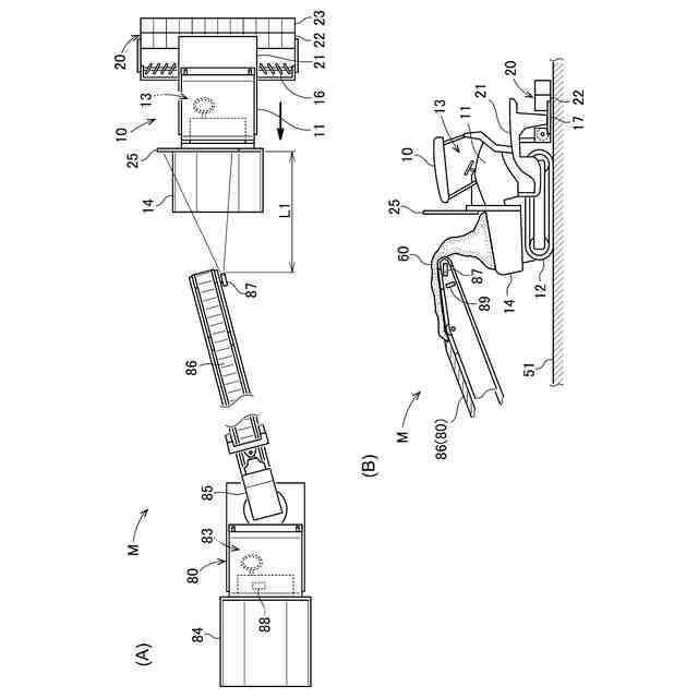
【解決手段】アスファルトスタッカ制御装置Mは、アスファルトスタッカ80と、斜面用アスファルトフィニッシャ10とからなる装置である。斜面用アスファルトフィニッシャ10のターゲット板25は、ホッパ14の上端よりも上方に延びて形成されており、ターゲット板25のホッパ14の中心から車幅方向に延びて形成される横幅部分は、バンク51のカーブの外方側がバンク51のカーブの内方側よりも長く形成されている。
【選択図】図4
特許請求の範囲
【請求項1】
バンクの路肩を走行するとともにアスファルト混合物を供給するアスファルトスタッカと、前記バンクを走行するとともに供給された前記アスファルト混合物を敷き均す斜面用アスファルトフィニッシャとからなるアスファルトスタッカ制御装置であって、
前記斜面用アスファルトフィニッシャは、本体となるトラクタと、前記トラクタに設けられ前記アスファルト混合物が供給されるホッパと、前記ホッパの上部に設けられレーザ光を反射するターゲット板と、を備え、
前記アスファルトスタッカは、車両本体と、前記車両本体に設けられ前記車両本体を走行させる走行機構と、前記車両本体に高さ及び方向が変更可能に設けられ前記アスファルト混合物を搬送するとともに供給するベルトコンベアと、前記車両本体に設けられ前記ベルトコンベアの高さと方向を調整する高さ方向調整機構と、前記ベルトコンベアに設けられ前記ターゲット板に前記レーザ光を照射して距離を計測するレーザセンサと、前記レーザセンサで計測した距離を演算して前記ターゲット板と前記レーザセンサとの距離が一定となるように走行機構の速度を調整する制御部と、を備えていることを特徴とするアスファルトスタッカ制御装置。
続きを表示(約 760 文字)
【請求項2】
請求項1記載のアスファルトスタッカ制御装置あって、
前記制御部は、前記レーザセンサで計測した距離を演算して前記ベルトコンベアの先端が前記ホッパの直上に位置するように高さ方向調整機構の高さ及び方向と走行機構の速度を調整することを特徴とするアスファルトスタッカ制御装置。
【請求項3】
請求項1又は請求項2記載のアスファルトスタッカ制御装置であって、
前記ターゲット板は、前記ホッパの上端よりも上方に延びて形成されていることを特徴とするアスファルトスタッカ制御装置。
【請求項4】
請求項1又は請求項2記載のアスファルトスタッカ制御装置であって、
前記ターゲット板の前記ホッパの中心から車幅方向に延びて形成される横幅部分は、前記バンクのカーブの外方側が前記バンクのカーブの内方側よりも長く形成されていることを特徴とするアスファルトスタッカ制御装置。
【請求項5】
請求項4記載のアスファルトスタッカ制御装置であって、
前記ターゲット板は、前記バンクのカーブの外方側が閉じた状態の前記ホッパの車幅方向端部よりも外方に延びて形成されていることを特徴とするアスファルトスタッカ制御装置。
【請求項6】
請求項1又は請求項2記載のアスファルトスタッカ制御装置であって、
前記ベルトコンベアの先端部には、前記ホッパに供給された前記アスファルト混合物の量を計測する超音波センサが設けられ、
前記制御部は、前記超音波センサにより計測された前記アスファルト混合物の量が一定の量を下回ったときに前記アスファルト混合物を供給するように前記ベルトコンベアを作動させることを特徴とするアスファルトスタッカ制御装置。
発明の詳細な説明
【技術分野】
【0001】
本発明は、バンクの路肩を走行するとともにアスファルト混合物を供給するアスファルトスタッカと、バンクを走行するとともに供給されたアスファルト混合物を敷き均す斜面用アスファルトフィニッシャとからなるアスファルトスタッカ制御装置に関するものである。
続きを表示(約 2,200 文字)
【背景技術】
【0002】
従来、アスファルト舗装の道路等のなかには、一般の自動車が走行する高速道路や一般道の他に、自動車のレースを行うサーキットや自動車の性能試験を行うテストコースがある。サーキットやテストコースには、水平な走路だけでなく、速いスピードで走行するカーブ部分にカーブの内側へ傾斜したバンク(斜面)が形成されている。
【0003】
バンクを舗装する施工方法として、バンクの天端を走行するバンク用フィニッシャサポータが、ワイヤロープを介してバンクを走行する斜面用アスファルトフィニッシャを吊り下げながら並走し、バンクの路肩を走行するアスファルトスタッカから斜面用アスファルトフィニッシャにアスファルト混合物を供給して敷き均す方法がある。このようなバンクを舗装する施工技術として、特許文献1の技術が知られている。
【0004】
特許文献1のバンクを舗装する施工技術は、斜面用アスファルトフィニッシャには、アスファルトスタッカからアスファルト混合物が供給される。また、斜面用アスファルトフィニッシャは、傾斜した路面上を下方へ転落しないように、傾斜した路面の左右方向端部のうち上方側の天端に沿って走行するウインチトラクタによって支持されている。GPSにより測位された舗装材敷均装置の3次元位置に応じて、3次元位置に対応した舗装路面の目標形状と一致するように斜面用アスファルトフィニッシャのスクリードの底面の形状を変形しつつ路面上に供給されたアスファルト混合物を敷き均す。
【0005】
通常、バンク下部の路肩付近を走行するアスファルトスタッカからバンクの高さ方向中程を走行する斜面用アスファルトフィニッシャにアスファルト混合物を供給する場合、アスファルト混合物を運搬するダンプトラックからアスファルトスタッカにアスファルト混合物を供給し、アスファルトスタッカのベルトコンベアで斜面用アスファルトフィニッシャのホッパにアスファルト混合物を供給する。
【0006】
走行するアスファルトスタッカから走行する斜面用アスファルトフィニッシャにアスファルト混合物を供給することは難しいが、これを解決するには一般的に、ベルトコンベアに距離を計測するレーザセンサを設け、計測した距離を用いてアスファルトスタッカと斜面用アスファルトフィニッシャの車間距離が一定となるようにオペレータが操作し、ベルトコンベアの先端部分を斜面用アスファルトフィニッシャのホッパに合わせる技術が考えられる。
【0007】
しかし、特許文献1のバンクを舗装する施工技術では、走行するアスファルトスタッカのベルトコンベアの先端部分が斜面用アスファルトフィニッシャのホッパから外れないようにする技術ではない。しかも、バンクは位置によって傾斜が異なっており、バンク(法面)を走行する斜面用アスファルトフィニッシャは、施工箇所により傾きが大きく変動するため、ベルトコンベアに距離を計測するレーザセンサを設けただけではレーザ光がターゲットから外れやすく、正確な距離を計測することが常にはできない。そのため、走行するアスファルトスタッカのベルトコンベアの先端部分が斜面用アスファルトフィニッシャのホッパの直上から外れないようしてアスファルト混合物を供給することは難しい。
【先行技術文献】
【特許文献】
【0008】
国際公開第2006/006246号
【発明の概要】
【発明が解決しようとする課題】
【0009】
本発明は、以上の点に鑑み、アスファルトスタッカからバンクを走行する斜面用アスファルトフィニッシャにアスファルト混合物を供給する場合であっても、常にアスファルトスタッカのベルトコンベアの先端部分が斜面用アスファルトフィニッシャのホッパの直上から外れないようして容易にアスファルト混合物を供給することができるアスファルトスタッカ制御装置を提供することを課題とする。
【課題を解決するための手段】
【0010】
本発明の実施例によれば、バンクの路肩を走行するとともにアスファルト混合物を供給するアスファルトスタッカと、前記バンクを走行するとともに供給された前記アスファルト混合物を敷き均す斜面用アスファルトフィニッシャとからなるアスファルトスタッカ制御装置であって、
前記斜面用アスファルトフィニッシャは、本体となるトラクタと、前記トラクタに設けられ前記アスファルト混合物が供給されるホッパと、前記ホッパの上部に設けられレーザ光を反射するターゲット板と、を備え、
前記アスファルトスタッカは、車両本体と、前記車両本体に設けられ前記車両本体を走行させる走行機構と、前記車両本体に高さ及び方向が変更可能に設けられ前記アスファルト混合物を搬送するとともに供給するベルトコンベアと、前記車両本体に設けられ前記ベルトコンベアの高さと方向を調整する高さ方向調整機構と、前記ベルトコンベアに設けられ前記ターゲット板に前記レーザ光を照射して距離を計測するレーザセンサと、前記レーザセンサで計測した距離を演算して前記ターゲット板と前記レーザセンサとの距離が一定となるように走行機構の速度を調整する制御部と、を備えていることを特徴とする。
(【0011】以降は省略されています)
この特許をJ-PlatPat(特許庁公式サイト)で参照する
関連特許
株式会社NIPPO
タイヤローラ
2日前
株式会社NIPPO
路面加熱装置
15日前
株式会社熊谷組
床版
1か月前
株式会社熊谷組
床版
1か月前
株式会社セイトク
防雪パネル
1か月前
コスモテック株式会社
表示装置
15日前
株式会社 林物産発明研究所
道路安全体
2日前
株式会社ササキコーポレーション
作業機
1か月前
株式会社NIPPO
距離補正装置
1か月前
株式会社NIPPO
切削用制御装置
1か月前
戸田建設株式会社
コンクリート構造
26日前
三信工業株式会社
床版架設装置
1か月前
桑名金属工業株式会社
融雪マットおよび融雪方法
1か月前
戸田建設株式会社
鋼製ブラケットの取付装置
26日前
戸田建設株式会社
鋼製ブラケットの取付装置
26日前
東亜グラウト工業株式会社
防護柵の支柱構造
1か月前
株式会社川金コアテック
橋梁用鋼弾塑性ダンパー
10日前
日鉄神鋼建材株式会社
補強金具、及び支柱取付構造
1か月前
西尾レントオール株式会社
コーンベット型電源装置
1か月前
株式会社NIPPO
アスファルトスタッカ制御装置
1か月前
日鉄建材株式会社
吊り材で支持された足場用床パネル
1か月前
鹿島建設株式会社
床版架設方法
29日前
日立建機株式会社
転圧機械
1か月前
株式会社日本コンポジット工業
壁用構造体
1か月前
オリエンタル白石株式会社
補強鋼板及び排土方法
1か月前
ダンレックス株式会社
表示装置
3日前
宮地エンジニアリング株式会社
ワイヤブリッジの設置方法
1か月前
株式会社プロテックエンジニアリング
衝撃吸収柵
1か月前
鹿島建設株式会社
橋、および橋の製造方法
1か月前
愛知製鋼株式会社
磁気マーカの施工方法および施工用の補助工具
16日前
清水建設株式会社
床版架設装置および床版架設方法
2日前
株式会社NIPPO
スコップ加熱器
1か月前
PUMP MAN株式会社
路面成型補助部材、及び、路面成型方法
15日前
オリエンタル白石株式会社
馬蹄形ジベルの合成床版撤去工法
1か月前
株式会社NIPPO
土壌改質材及びそれを含む土壌
1か月前
日本製鉄株式会社
仮設橋による施工方法
2日前
続きを見る
他の特許を見る