TOP
|
特許
|
意匠
|
商標
特許ウォッチ
Twitter
他の特許を見る
10個以上の画像は省略されています。
公開番号
2025170604
公報種別
公開特許公報(A)
公開日
2025-11-19
出願番号
2024075332
出願日
2024-05-07
発明の名称
表示装置
出願人
ダンレックス株式会社
代理人
弁理士法人酒井国際特許事務所
主分類
E01F
9/615 20160101AFI20251112BHJP(道路,鉄道または橋りょうの建設)
要約
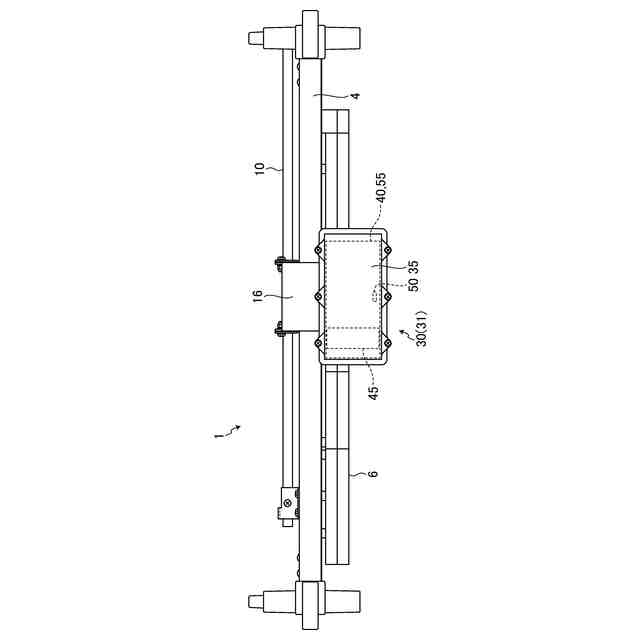
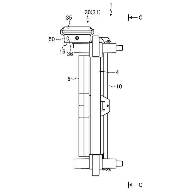
【課題】発光部の発光時における視認性を向上させることのできる表示装置を提供すること。
【解決手段】自発光する発光部20と、発光部20が配置される本体部2と、発光部20の輝度を制御する制御部60と、発光部20が光を照射する方向から照射される光を検出する照射光検出部50と、を備え、制御部60は、発光部20を発光させている状態において発光部20が光を照射する方向から照射される光を照射光検出部50によって検出した場合に発光部20の輝度を高くする。
【選択図】図1
特許請求の範囲
【請求項1】
自発光する発光部と、
前記発光部が配置される本体部と、
前記発光部の輝度を制御する制御部と、
前記発光部が光を照射する方向から照射される光を検出する照射光検出部と、
を備え、
前記制御部は、前記発光部を発光させている状態において前記発光部が光を照射する方向から照射される光を前記照射光検出部によって検出した場合に前記発光部の輝度を高くすることを特徴とする表示装置。
続きを表示(約 980 文字)
【請求項2】
前記制御部は、前記発光部の輝度を高くした後、所定の時間が経過したら前記発光部の輝度を元に戻す請求項1に記載の表示装置。
【請求項3】
周囲の照度を検出する照度検出部を備え、
前記制御部は、前記照度検出部で検出した照度が所定の閾値以下である場合は前記発光部を発光させ、前記照度検出部で検出した照度が前記閾値より高い場合は前記発光部を消灯させる請求項1または2に記載の表示装置。
【請求項4】
光エネルギーを電力に変換する太陽電池と、
前記太陽電池で変換した電力を蓄える蓄電部と、
を備え、
前記発光部は、前記蓄電部から供給される電力によって発光する請求項1または2に記載の表示装置。
【請求項5】
前記制御部からの信号を無線によって送受信する通信部を備え、
前記制御部は、前記発光部の点滅制御を行い、
前記制御部は、前記通信部を介して他の前記表示装置の前記制御部と通信を行うと共に通信を行う前記表示装置同士の間で前記発光部の点滅を同期させて前記点滅制御を行う請求項4に記載の表示装置。
【請求項6】
一次電池を収容する電池収容部を備え、
前記発光部は、前記蓄電部から供給される電力または前記電池収容部に収容された前記一次電池から供給される電力によって発光する請求項5に記載の表示装置。
【請求項7】
前記太陽電池と前記蓄電部とを備える第1ユニットと、
前記太陽電池と前記蓄電部と前記通信部とを備える第2ユニットと、
前記太陽電池と前記蓄電部と前記電池収容部とを備える第3ユニットと、
を有し、
前記第1ユニットと前記第2ユニットと前記第3ユニットとは、前記本体部に対してそれぞれ着脱自在であり、前記本体部に対してそれぞれ交換自在に取り付けられる請求項6に記載の表示装置。
【請求項8】
前記照射光検出部に対して上側から照射される光を遮る庇部を備える請求項1または2に記載の表示装置。
【請求項9】
前記照射光検出部を覆うと共に、前記照射光検出部を覆う部分の少なくとも一部が透明な部材からなるカバーを備える請求項1または2に記載の表示装置。
発明の詳細な説明
【技術分野】
【0001】
本発明は、表示装置に関する。
続きを表示(約 1,400 文字)
【背景技術】
【0002】
車両が走行をする道路上で工事を行う場合、工事を行う作業者の安全性の確保や、走行する車両の安全性を確保するために、歩行者や車両の運転者に対して工事箇所を示す必要がある。このように工事箇所を示すための手段としては、発光体を用いた工事灯や表示装置が知られている。
【0003】
例えば、特許文献1に記載された表示装置は、太陽電池と、太陽電池で変換した電力を蓄える蓄電部と、乾電池を収容すると共に収容した少なくとも一部が透明な部材により形成される電池収容部と、蓄電部または乾電池から供給される電力によって発光する発光部と、発光部に供給する電力の電源を蓄電部と乾電池とのいずれかに切り替える電源切替部とを備えている。これにより、特許文献1に記載された表示装置は、発光部を発光させることができない事態を回避することを可能としている。
【先行技術文献】
【特許文献】
【0004】
特開2019-27058号公報
【発明の概要】
【発明が解決しようとする課題】
【0005】
ここで、工事箇所の近傍に配置される表示装置が有する発光部が発光する状況、即ち、夜間等によって表示装置の周囲が暗い状況では、道路を走行する車両は、ヘッドライトを点灯させた状態で走行をする。このため、走行中の車両が表示装置に近付いた際には、車両のヘッドライトから照射された光は表示装置にも照射される。
【0006】
しかし、車両のヘッドライトからの光が表示装置に照射された場合、ヘッドライトからの光は表示装置全体で反射してしまい、発光状態の表示装置の発光部からの光は、表示装置全体で反射したヘッドライトの光の反射光に紛れてしまう虞がある。この場合、車両の運転者は表示装置の発光部からの光を視認し難くなるため、車両の運転者は、発光部からの光も用いて表示装置によって示される情報を認識し難くなる虞がある。
【0007】
特に近年では、車両のヘッドライトはLED化が進み、明るさが増しているため、ヘッドライトからの光が表示装置に照射された際に表示装置で反射する反射光の明るさも増しており、表示装置の発光部からの光は以前にも増して視認し難くなる傾向にある。このため、発光部を発光させることによって車両の運転者に対して所望の情報を認識させる表示装置では、夜間等の周囲が暗い状況における視認性の観点で改善の余地があった。
【0008】
本発明は、上記に鑑みてなされたものであって、発光部の発光時における視認性を向上させることのできる表示装置を提供することを目的とする。
【課題を解決するための手段】
【0009】
上述した課題を解決し、目的を達成するために、本発明に係る表示装置は、自発光する発光部と、前記発光部が配置される本体部と、前記発光部の輝度を制御する制御部と、前記発光部が光を照射する方向から照射される光を検出する照射光検出部と、を備え、前記制御部は、前記発光部を発光させている状態において前記発光部が光を照射する方向から照射される光を前記照射光検出部によって検出した場合に前記発光部の輝度を高くすることを特徴とする。
【0010】
また、上記表示装置において、前記制御部は、前記発光部の輝度を高くした後、所定の時間が経過したら前記発光部の輝度を元に戻すことが好ましい。
(【0011】以降は省略されています)
この特許をJ-PlatPat(特許庁公式サイト)で参照する
関連特許
ダンレックス株式会社
表示装置
1日前
株式会社熊谷組
床版
1か月前
株式会社熊谷組
床版
1か月前
株式会社セイトク
防雪パネル
1か月前
コスモテック株式会社
表示装置
13日前
株式会社NIPPO
斜面用ローラ
1か月前
株式会社ササキコーポレーション
作業機
1か月前
株式会社 林物産発明研究所
道路安全体
今日
株式会社NIPPO
距離補正装置
1か月前
戸田建設株式会社
コンクリート構造
24日前
株式会社NIPPO
切削用制御装置
1か月前
三信工業株式会社
床版架設装置
1か月前
桑名金属工業株式会社
融雪マットおよび融雪方法
1か月前
戸田建設株式会社
鋼製ブラケットの取付装置
24日前
東亜グラウト工業株式会社
防護柵の支柱構造
1か月前
戸田建設株式会社
鋼製ブラケットの取付装置
24日前
株式会社川金コアテック
橋梁用鋼弾塑性ダンパー
8日前
西尾レントオール株式会社
コーンベット型電源装置
1か月前
株式会社NIPPO
アスファルトスタッカ制御装置
1か月前
日鉄神鋼建材株式会社
補強金具、及び支柱取付構造
1か月前
日鉄建材株式会社
吊り材で支持された足場用床パネル
1か月前
鹿島建設株式会社
床版架設方法
27日前
日立建機株式会社
転圧機械
1か月前
株式会社日本コンポジット工業
壁用構造体
1か月前
オリエンタル白石株式会社
補強鋼板及び排土方法
1か月前
宮地エンジニアリング株式会社
ワイヤブリッジの設置方法
1か月前
ダンレックス株式会社
表示装置
1日前
鹿島建設株式会社
橋、および橋の製造方法
1か月前
株式会社プロテックエンジニアリング
衝撃吸収柵
1か月前
清水建設株式会社
床版架設装置および床版架設方法
今日
愛知製鋼株式会社
磁気マーカの施工方法および施工用の補助工具
14日前
オリエンタル白石株式会社
馬蹄形ジベルの合成床版撤去工法
28日前
PUMP MAN株式会社
路面成型補助部材、及び、路面成型方法
13日前
株式会社NIPPO
スコップ加熱器
1か月前
株式会社NIPPO
土壌改質材及びそれを含む土壌
1か月前
日本製鉄株式会社
仮設橋による施工方法
今日
続きを見る
他の特許を見る