TOP
|
特許
|
意匠
|
商標
特許ウォッチ
Twitter
他の特許を見る
10個以上の画像は省略されています。
公開番号
2025176901
公報種別
公開特許公報(A)
公開日
2025-12-05
出願番号
2024083286
出願日
2024-05-22
発明の名称
建設車両
出願人
酒井重工業株式会社
代理人
弁理士法人磯野国際特許商標事務所
主分類
E01C
19/26 20060101AFI20251128BHJP(道路,鉄道または橋りょうの建設)
要約
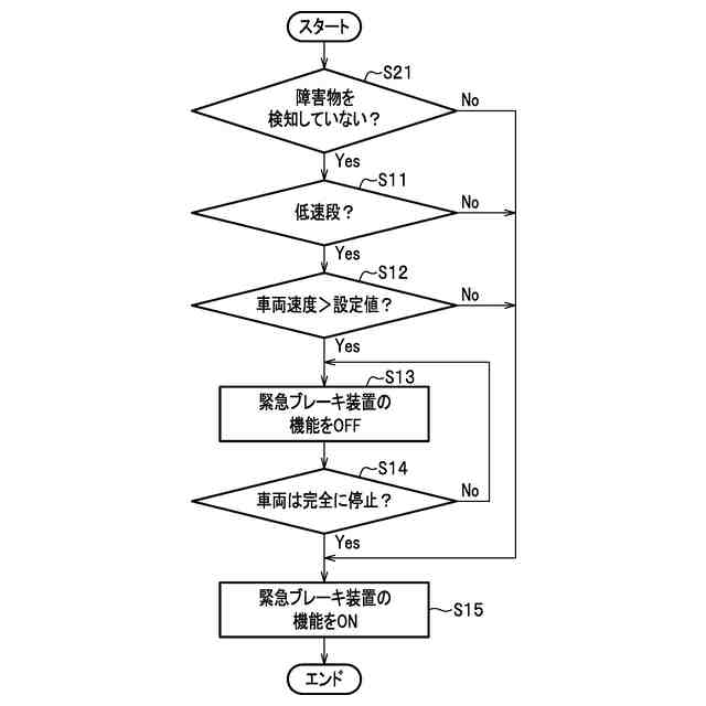
【課題】安全性及び作業効率の両立を図ることができる建設車両を提供する。
【解決手段】緊急ブレーキ装置10を備えた建設車両1であって、障害物センサ12と、障害物Gの有無を判定する判定部31を備えた制御装置13と、車両速度データを制御装置13に出力する車速センサ11と、判定部31により障害物Gがあると判定された場合、車両に緊急ブレーキを作動させる制動装置14と、を有し、車両速度が設定値よりも大きい場合、緊急ブレーキ装置10の機能をOFFにするとともに、前記緊急ブレーキ装置の機能がOFFになっていることをオペレーターに報知し、車両速度が設定値以下の場合、緊急ブレーキ装置10の機能をONとし、緊急ブレーキ装置10の機能をOFFとした後、車両が完全に停止したと判定した場合、緊急ブレーキ装置10の機能をONにすることを特徴とする。
【選択図】図3
特許請求の範囲
【請求項1】
緊急ブレーキ装置を備えた建設車両であって、
前記緊急ブレーキ装置は、
障害物を検知する障害物センサと、
前記障害物センサに基づいて障害物の有無を判定する判定部を備えた制御装置と、
車両速度を計測し、車両速度データを前記制御装置に出力する車速センサと、
前記判定部により前記障害物があると判定された場合、車両に緊急ブレーキを作動させる制動装置と、を有し、
前記車両速度が設定値よりも大きい場合、前記緊急ブレーキ装置の機能をOFFにするとともに、前記緊急ブレーキ装置の機能がOFFになっていることをオペレーターに報知し、
前記車両速度が設定値以下の場合、前記緊急ブレーキ装置の機能をONとし、
前記緊急ブレーキ装置の機能をOFFとした後、前記車両が完全に停止したと判定した場合、前記緊急ブレーキ装置の機能をONにすることを特徴とする建設車両。
続きを表示(約 600 文字)
【請求項2】
前記車両の前進又は後進を切り替えるとともに、中立位置でブレーキが作動する前後進レバーを備え、
前記車両速度が所定時間ゼロになった場合、前記前後進レバーが所定時間中立位置に位置する場合、又は、前記車両を機械的に停止させるパーキングボタンがONになった場合、前記車両が完全に停止したと判定することを特徴とする請求項1に記載の建設車両。
【請求項3】
前記車両が停止した状態において、
前記車両速度が前記設定値よりも大きいか否か判定する前に、障害物の有無を判定し、
前記判定部により障害物があると判定された場合、前記緊急ブレーキ装置の機能をONとすることを特徴とする請求項1に記載の建設車両。
【請求項4】
前記車両の傾斜角度を計測し、傾斜角度データを前記制御装置に出力する傾斜センサを備え、
前記車両が停止した状態において、
前記車両速度が前記設定値よりも大きいか否か判定する前に、停止位置が傾斜しているか否かを判定し、
前記車両の停止位置が傾斜していると判定された場合、前記車両速度が前記設定値よりも大きいか否か判定することを特徴とする請求項1に記載の建設車両。
【請求項5】
前記車両の傾斜角度が大きいほど、前記設定値が小さくなるように設定することを特徴とする請求項4に記載の建設車両。
発明の詳細な説明
【技術分野】
【0001】
本発明は、緊急ブレーキ装置を備えた建設車両に関する。
続きを表示(約 1,500 文字)
【背景技術】
【0002】
例えば転圧ローラ等の建設車両付近に存在する障害物を検知する障害物装置が知られている(特許文献1参照)。特許文献1に記載の障害物検知装置は、センサからのデータに基づいて障害物の有無を判定する判定部を備えた制御装置と、判定部が障害物を検知した後、車両に緊急ブレーキを作動させる緊急ブレーキ装置と、を有する。
【0003】
従来の緊急ブレーキ装置は、衝突回避などの安全面への効果は大きいものの、誤検知が発生したり、オペレーターの負担が増えたり、急ブレーキによる転圧対象物へのダメージもあったりする。つまり、安全性と作業効率との両立を図るのが難しいという問題がある。
【0004】
例えば、作業効率を高めるために、制動回避限界ぎりぎりで急制動をかけることが考えられるが、急制動による転圧対象物の押出、剥離、欠損といった瑕疵が生じるおそれがある。
また、例えば、転圧対象物への悪影響を防ぐために、制動回避限界を待たずに緩やかな制動にすることが考えらえるが、オペレーターにとって意図しない動きであるため、オペレーターへの負担が大きくなるおそれがある。
【0005】
このように、緊急ブレーキ装置は安全性を高めることができるものの、オペレーターにとって使い勝手が悪く、利用しづらい側面もある。
【先行技術文献】
【特許文献】
【0006】
特開2019-12394号公報
【発明の概要】
【発明が解決しようとする課題】
【0007】
一方、建設車両の運転は、兼任業務として他の作業者が必要な時に運転作業をすることが多い。そのため、オペレーターがその都度変わったり、停止状態から発進したりケースが多い。また、停止する際には、転圧対象物への品質の低下(凹みなど)を避けるため、施工現場内の狭い場所に建設車両を密集させておくことが多い。オペレーターや作業者は、作業走行中に関しては比較的注意力が高くなっているが、車両停止時から発進する際は車両速度が低いこともあり、周囲への注意力が低くなる傾向がある。
【0008】
また、作業走行する際は、停止状態で周囲の安全確認を行った後、前後進レバーを操作して走行しているが、現実的には、オペレーターが前後進レバーを操作しながら、低速で進みながら進行方向の確認をするだけでなく、周辺で作業している状況にも注意を向ける必要があり、発進時の巻き込み事故に結びついてしまう例も多い。
【0009】
そこで本発明は、安全性と作業効率の両立を図ることができる建設車両を提供することを課題とする。
【課題を解決するための手段】
【0010】
本発明は、緊急ブレーキ装置を備えた建設車両であって、前記緊急ブレーキ装置は、障害物を検知する障害物センサと、前記障害物センサに基づいて障害物の有無を判定する判定部を備えた制御装置と、車両速度を計測し、車両速度データを前記制御装置に出力する車速センサと、前記判定部により前記障害物があると判定された場合、車両に緊急ブレーキを作動させる制動装置と、を有し、前記車両速度が設定値よりも大きい場合、前記緊急ブレーキ装置の機能をOFFにするとともに、前記緊急ブレーキ装置の機能がOFFになっていることをオペレーターに報知し、前記車両速度が設定値以下の場合、前記緊急ブレーキ装置の機能をONとし、前記緊急ブレーキ装置の機能をOFFとした後、前記車両が完全に停止したと判定した場合、前記緊急ブレーキ装置の機能をONにすることを特徴とする。
(【0011】以降は省略されています)
この特許をJ-PlatPat(特許庁公式サイト)で参照する
関連特許
酒井重工業株式会社
建設車両
1日前
酒井重工業株式会社
物体検知装置
16日前
酒井重工業株式会社
物体検知装置
16日前
JIG-SAW株式会社
施工システム、施工方法、および建設機械
2か月前
個人
掃除装置
1日前
積水樹脂株式会社
カバー体
1日前
株式会社熊谷組
床版
3日前
株式会社セイトク
防雪パネル
1か月前
コスモテック株式会社
表示装置
29日前
株式会社パロマ
融雪装置
8日前
株式会社 林物産発明研究所
道路安全体
16日前
戸田建設株式会社
コンクリート構造
1か月前
戸田建設株式会社
鋼製ブラケットの取付装置
1か月前
戸田建設株式会社
鋼製ブラケットの取付装置
1か月前
西松建設株式会社
耐震補強方法
8日前
株式会社丸治コンクリート工業所
防護柵
10日前
株式会社川金コアテック
橋梁用鋼弾塑性ダンパー
24日前
西尾レントオール株式会社
コーンベット型電源装置
1か月前
個人
充填剤及びそれが充填された人工芝
8日前
鹿島建設株式会社
床版架設方法
1か月前
オリエンタル白石株式会社
補強鋼板及び排土方法
1か月前
鹿島建設株式会社
壁高欄の施工方法
9日前
宮地エンジニアリング株式会社
ワイヤブリッジの設置方法
1か月前
ダンレックス株式会社
表示装置
17日前
株式会社朝日設計事務所
床版橋の梁組合せ床版及び施工方法
8日前
酒井重工業株式会社
建設車両
1日前
鹿島建設株式会社
橋、および橋の製造方法
1か月前
清水建設株式会社
床版架設装置および床版架設方法
16日前
ワールド開発工業株式会社
センサ用支持体およびロードローラー
2日前
愛知製鋼株式会社
磁気マーカの施工方法および施工用の補助工具
1か月前
オリエンタル白石株式会社
馬蹄形ジベルの合成床版撤去工法
1か月前
公益財団法人鉄道総合技術研究所
レール締結用工具
1日前
PUMP MAN株式会社
路面成型補助部材、及び、路面成型方法
29日前
ミネベアミツミ株式会社
冠水検出ユニット
3日前
日本製鉄株式会社
仮設橋による施工方法
16日前
個人
蓄光性の白色モルタル、その硬化体、及びその硬化体の耐候性強化方法。
1日前
続きを見る
他の特許を見る