TOP
|
特許
|
意匠
|
商標
特許ウォッチ
Twitter
他の特許を見る
公開番号
2025175403
公報種別
公開特許公報(A)
公開日
2025-12-03
出願番号
2024081495
出願日
2024-05-20
発明の名称
床版
出願人
株式会社熊谷組
代理人
個人
主分類
E01D
19/12 20060101AFI20251126BHJP(道路,鉄道または橋りょうの建設)
要約
【課題】辺縁面の長手方向に沿って隣り合う継手構成部材と継手構成部材との間のせん断耐力を向上させることができる床版を提供する。
【解決手段】本発明に係る床版10は、橋梁の桁の上に目地を介して隣り合うように設置されて床版継手装置により接続される四角形板状の鉄筋コンクリート製の床版であって、目地と隣接する辺縁面11側には、床版継手装置を構成する継手構成部材(受部材2)を、当該辺縁面11の長手方向に沿って所定の間隔を隔てて複数備え、かつ、当該辺縁面11の長手方向に沿って所定の間隔を隔てて隣り合う継手構成部材(受部材2)と継手構成部材(受部材2)との間に設けられた補強部材9を備えた。
【選択図】図3
特許請求の範囲
【請求項1】
橋梁の桁の上に目地を介して隣り合うように設置されて床版継手装置により接続される四角形板状の鉄筋コンクリート製の床版であって、
目地と隣接する辺縁面側には、床版継手装置を構成する継手構成部材を、当該辺縁面の長手方向に沿って所定の間隔を隔てて複数備え、かつ、当該辺縁面の長手方向に沿って所定の間隔を隔てて隣り合う継手構成部材と継手構成部材との間に設けられた補強部材を備えたことを特徴とする床版。
続きを表示(約 180 文字)
【請求項2】
補強部材は、補強部と当該補強部の両端側に設けられた端側係合部とを備え、
各端側係合部が辺縁面の長手方向に沿って所定の間隔を隔てて隣り合う各継手構成部材に係合されて、補強部が辺縁面の長手方向に沿って所定の間隔を隔てて隣り合う各継手構成部材間に延在するように床版のコンクリートに埋設されたことを特徴とする請求項1に記載の床版。
発明の詳細な説明
【技術分野】
【0001】
本発明は、橋梁の桁の上に目地を介して隣り合うように設置される床版に関する。
続きを表示(約 3,200 文字)
【背景技術】
【0002】
橋梁の桁の上に目地を介して隣り合うように設置されて床版継手装置により接続される四角形板状の鉄筋コンクリート製の床版が知られている(特許文献1等参照)。
床版は、目地と隣接する辺縁面(端面)側に、床版継手装置を構成する継手構成部材を、当該辺縁面の長手方向に沿って所定の間隔を隔てて複数備えて構成されている。
床版継手装置は、橋梁の桁の上に隣り合うように設置される一方の床版と他方の床版とを接続するための装置であって、一方の床版に設けられるC型金物と呼ばれるような継手構成部材としての受部材と、他方の床版に設けられるC型金物と呼ばれるような継手構成部材としての受部材と、これら各受部材をH型金物と呼ばれるような繋ぐ繋ぎ部材とを備えて構成される。
継手構成部材としての受部材は、係合凹部を有した継手機能部としての被係合部と、当該被係合部を床版のコンクリートに定着させるために当該床版のコンクリートに定着される定着部材とを備える。
繋ぎ部材は、一方の受部材の係合凹部に係合する一方の係合部と、他方の受部材の係合凹部に係合する他方の係合部と、一方の係合部と他方の係合部とを繋ぐ連結部とを備える。
【先行技術文献】
【特許文献】
【0003】
特開2018-159233号公報
【発明の概要】
【発明が解決しようとする課題】
【0004】
上述した従来の床版は、辺縁面の長手方向に沿って所定の間隔を隔てて継手構成部材を備えた構成となっているが、当該辺縁面の長手方向に沿って隣り合う継手構成部材と継手構成部材との間は、コンクリートだけであるので、当該隣り合う継手構成部材と継手構成部材との間の間隔が大きくなるほど、当該間隔部分でのせん断抵抗が小さくなり、床版に車両荷重が加わり続けることで、当該間隔部分に、せん断ひび割れが進行して押抜せん断破壊等が生じる恐れがある。
本発明は、上述した課題に鑑みてなされたものであり、辺縁面の長手方向に沿って隣り合う継手構成部材と継手構成部材との間のせん断耐力を向上させることができる床版を提供するものである。
【課題を解決するための手段】
【0005】
本発明に係る床版は、橋梁の桁の上に目地を介して隣り合うように設置されて床版継手装置により接続される四角形板状の鉄筋コンクリート製の床版であって、目地と隣接する辺縁面側には、床版継手装置を構成する継手構成部材を、当該辺縁面の長手方向に沿って所定の間隔を隔てて複数備え、かつ、当該辺縁面の長手方向に沿って所定の間隔を隔てて隣り合う継手構成部材と継手構成部材との間に設けられた補強部材を備えたことを特徴とする。
また、補強部材は、補強部と当該補強部の両端側に設けられた端側係合部とを備え、各端側係合部が辺縁面の長手方向に沿って所定の間隔を隔てて隣り合う各継手構成部材に係合されて、補強部が辺縁面の長手方向に沿って所定の間隔を隔てて隣り合う各継手構成部材間に延在するように床版のコンクリートに埋設されたことを特徴とする。
本発明に係る床版によれば、辺縁面の長手方向に沿って隣り合う継手構成部材と継手構成部材との間のせん断耐力を向上させることができ、押抜せん断破壊等を抑制できる床版を提供できるようになった。
【図面の簡単な説明】
【0006】
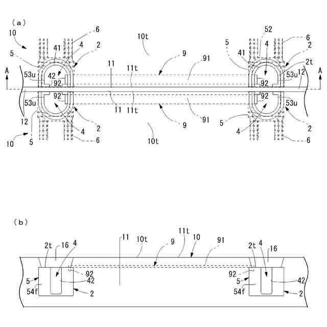
床版を示す平面図(実施形態1)。
床版継手装置を示す図であり、(a)は床版継手装置の分解斜視図、(b)は床版継手装置の斜視図(実施形態1)。
各受部材間に設けられる補強部材を示し、(a)は設置前の補強部材を示す斜視図、(b)は設置後の補強部材を示す斜視図(実施形態1)。
(a)は補強部材を床版の上方から見た平面図、(b)は(a)のA-A矢視図(実施形態1)。
【発明を実施するための形態】
【0007】
実施形態1
図1に示すように、実施形態1に係る床版10は、例えば橋梁の橋軸方向Xに沿って図外の桁の上に目地12を介して隣り合うように設置されて床版継手装置1により接続される四角形板状の鉄筋コンクリート製の床版であって、辺縁面11の長手方向に沿って所定の間隔を隔てて隣り合うように設けられた複数の受部材2,2…と、辺縁面11の長手方向に沿って所定の間隔を隔てて隣り合う受部材2と受部材2との間のコンクリート部分を補強する補強部材9とを備えた構成とした。
尚、図1は橋梁の橋軸方向Xに沿って桁の上に目地12を介して互いに隣り合うように配置された床版10,10が床版継手装置1により連結された状態を上方から見た平面図であり、当該平面図は目地12に未だ充填材が充填されていない状態での平面図である。
また、鉄筋コンクリート製の床版10とは、例えば、鉄筋、又は、PC鋼線、又は、鋼材、又は、これら鉄筋、鋼材、PC鋼線のうちの2つ以上を内蔵した床版である。
また、受部材2は、床版継手装置1を構成する継手構成部材である。
【0008】
即ち、床版10は、目地12と隣接する辺縁面11側に、床版継手装置1を構成する受部材2を、当該辺縁面11の長手方向に沿って所定の間隔を隔てて複数備え、かつ、当該辺縁面11の長手方向に沿って所定の間隔を隔てて隣り合う受部材2と受部材2との間に設けられた補強部材9を備えて構成される。
尚、図1においては、辺縁面11の長手方向に沿って所定の間隔を隔てて隣り合う受部材2と受部材2との間の間隔部分Wが長い部分にのみ補強部材9を設けた床版10を例示しているが、辺縁面11の長手方向に沿って所定の間隔を隔てて隣り合う受部材2と受部材2との間の全ての間隔部分W,W…に補強部材9を設けた構成としても良い。
即ち、実施形態1に係る床版10は、辺縁面11の長手方向に沿って所定の間隔を隔てて隣り合う受部材2と受部材2との間の全ての間隔部分W,W…において補強部材9を備えた構成、あるいは、辺縁面11の長手方向に沿って所定の間隔を隔てて隣り合う受部材2と受部材2との間の間隔部分Wにおいて、せん断耐力を向上させたい少なくとも1つ以上の間隔部分Wに補強部材9を備えた構成であればよい。
【0009】
床版10は、床版継手装置1を構成する一対の受部材2,2…のうちの片方の受部材2を、辺縁面11の長手方向に沿って所定の間隔を隔てて複数備えた構成となっている。
即ち、実施形態1に係る床版10は、例えば図1に示すように、橋梁の橋軸直角方向Yに沿って延長して目地12と隣接する辺縁面11側に、床版継手装置1を構成する一対の受部材2,2…のうちの片方の受部材2を、当該辺縁面11の長手方向(橋軸直角方向Y)に沿って所定の間隔を隔てて複数備えた構成となっている。
【0010】
以下、床版継手装置1の一例について説明する。
図1,図2に示すように、床版継手装置1は、橋梁の橋軸方向Xに沿って隣り合う各床版10,10の辺縁面11,11側に設けられた各受部材2A(2),2B(2)と、隣り合う各床版10,10の辺縁面11,11側に設けられた各受部材2A(2),2B(2)を繋ぐ繋ぎ部材3とを備えて構成される。
即ち、図1に示すように、橋梁の橋軸方向Xに沿って隣り合う一方の床版10の辺縁面11側に設置された一方の受部材2A(2)と隣り合う他方の床版10の辺縁面11側に設置された他方の受部材2B(2)とが繋ぎ部材3により連結されることによって、隣り合うように配置された一方の床版10と他方の床版10とが床版継手装置1を介して連結されることになる。
(【0011】以降は省略されています)
この特許をJ-PlatPat(特許庁公式サイト)で参照する
関連特許
株式会社熊谷組
床版
今日
株式会社熊谷組
長机
2か月前
株式会社熊谷組
床版
1か月前
株式会社熊谷組
床版
1か月前
株式会社熊谷組
吊り治具
2か月前
株式会社熊谷組
木質材料
2か月前
株式会社熊谷組
床構成材
1か月前
株式会社熊谷組
床版接合構造
26日前
株式会社熊谷組
床版接合構造
2か月前
株式会社熊谷組
山留壁用親杭
1か月前
株式会社熊谷組
RI計測装置
2か月前
株式会社熊谷組
地盤改良方法
1か月前
株式会社熊谷組
密度計測方法
2か月前
株式会社熊谷組
木材接合部材
2か月前
株式会社熊谷組
障害物の検出方法
1か月前
株式会社熊谷組
鉄筋コンクリート梁
2か月前
株式会社熊谷組
コンクリート打設装置
2か月前
株式会社熊谷組
コンクリート打設装置
2か月前
株式会社熊谷組
床版継手装置、及び、床版
2か月前
株式会社熊谷組
アクアポニックスシステム
2か月前
株式会社熊谷組
建物構造体の変位抑制装置
1か月前
株式会社熊谷組
床版継手装置、及び、床版
5日前
株式会社熊谷組
杭頭処理構造、杭頭処理方法
2か月前
株式会社熊谷組
吊り下げ物の防振構造改良方法
2か月前
株式会社熊谷組
非接触給電用コイルの埋設構造
26日前
株式会社熊谷組
壁体構築方法および鉄筋連結構造
2か月前
株式会社熊谷組
壁体構築方法およびアンカー部材
2か月前
株式会社熊谷組
耐火構造、及び、耐火構造の施工方法
1か月前
国立大学法人東北大学
重金属の不溶化方法
2か月前
岐阜工業株式会社
コンクリート用流量調整弁
2か月前
ベルテクス株式会社
コンクリート部材の継手構造
2か月前
株式会社熊谷組
傾斜地用コンクリート打設装置へのコンクリート積込方法
2か月前
株式会社熊谷組
トンネル坑内での重量物横移動方法及び重量物横移動装置
2か月前
ベルテクス株式会社
コンクリート部材の取付構造とその成型に用いる抜き型
2か月前
株式会社ホルツストラ一級建築士事務所
下地材付き軸材、及び、耐火被覆構造体
1か月前
株式会社熊谷組
床版
1か月前
続きを見る
他の特許を見る