TOP
|
特許
|
意匠
|
商標
特許ウォッチ
Twitter
他の特許を見る
公開番号
2025135073
公報種別
公開特許公報(A)
公開日
2025-09-18
出願番号
2024032653
出願日
2024-03-05
発明の名称
傾斜地用コンクリート打設装置へのコンクリート積込方法
出願人
株式会社熊谷組
代理人
個人
主分類
E04G
21/02 20060101AFI20250910BHJP(建築物)
要約
【課題】傾斜地において傾斜に沿って設けられたコンクリート打設対象位置にコンクリートを運搬する場合において、移動路設置コスト、及び、運搬コストを削減できるようにする。
【解決手段】コンクリート打設対象位置10の下端側近傍においてコンクリート積込場24を構築し、コンクリート積込方法は、コンクリート積込場の下方に位置される道路Rに進入させたコンクリートミキサー車から揚重用バケット5A内にコンクリートを積み込む第1積込ステップと、当該揚重用バケットを道路Rに設置した揚重機CTを用いて吊り上げてコンクリート積込場に位置する運搬打設用バケットの上方に移動させる移動ステップと、運搬打設用バケットの上方まで移動させた揚重用バケットの放出口を開放して揚重用バケットから運搬打設用バケット内にコンクリートを自然落下させて積み込む第2積込ステップと、を備えた。
【選択図】図7
特許請求の範囲
【請求項1】
傾斜地において傾斜に沿って設けられたコンクリート打設対象位置にコンクリートを打設するための傾斜地用コンクリート打設装置へのコンクリート積込方法であって、
コンクリート打設対象位置の下端側近傍においてコンクリート積込場を構築し、
コンクリート打設装置は、
移動手段と、
移動手段により移動可能に設けられたコンクリート打設手段とを備え、
移動手段は、
コンクリート積込場からコンクリート打設対象位置の横に傾斜地の傾斜に沿って延長するように設けられた移動路と、
移動路を移動可能に設けられた移動体とを備え、
コンクリート打設手段は、
コンクリートを運搬及び打設するための運搬打設用バケットと、
運搬打設用バケットを揺動可能に支持するバケット支持装置と、
を備えて構成され、
コンクリート積込方法は、
コンクリート積込場の下方に位置される道路に進入させたコンクリートミキサー車から揚重用バケット内にコンクリートを積み込む第1積込ステップと、
当該コンクリートが積み込まれた揚重用バケットを道路に設置した揚重機を用いて吊り上げてコンクリート積込場に位置するコンクリート打設手段の運搬打設用バケットの上方に移動させる移動ステップと、
運搬打設用バケットの上方まで移動させた揚重用バケットの放出口を開放して揚重用バケットから運搬打設用バケット内にコンクリートを自然落下させて積み込む第2積込ステップと、
を備えたことを特徴とする傾斜地用コンクリート打設装置へのコンクリート積込方法。
続きを表示(約 540 文字)
【請求項2】
バケット支持装置は、
直方体形状の枠体により構成された架台と、バケットを揺動可能に支持するバケット支持機構とを備え、
架台は、
下側に位置される左右の長手側横材と前後の短手側横材とによって長方形枠に形成された下枠部と、
上側に位置される左右の長手側横材と前後の短手側横材とによって長方形枠に形成された上枠部と、
左側に位置される上下の長手側横材と前後の縦材とによって長方形枠に形成された左枠部と、
右側に位置される上下の長手側横材と前後の縦材とによって長方形枠に形成された右枠部と、
前側の左右に位置される縦材と前側の上下に位置される短手側横材とによって長方形枠に形成された前枠部と、
後側の左右に位置される縦材と後側の上下に位置される短手側横材とによって長方形枠に形成された後枠部と、を備えた直方体状の枠体により構成され、
上枠部は、揚重用バケットを載置するための載置部を備え、
バケット支持機構は、上枠部の左右の長手側横材間に亘って設けられて運搬打設用バケットを揺動可能に支持する支持軸を備えたことを特徴とする請求項1に記載の傾斜地用コンクリート打設装置へのコンクリート積込方法。
発明の詳細な説明
【技術分野】
【0001】
本発明は、傾斜地において傾斜に沿って設けられたコンクリート打設対象位置にコンクリートを打設するための傾斜地用コンクリート打設装置へのコンクリート積込方法に関する。
続きを表示(約 4,100 文字)
【背景技術】
【0002】
傾斜した場合であっても内部に収容された生コンクリートが外部にこぼれ落ちることがなく、且つ、作業現場における作業性も良好な生コンクリート運搬用バケット装置が知られている(特許文献1参照)。
特許文献1では、建設現場が急峻な山岳地の山腹や山頂であり、このような建設現場においてコンクリートを使用する必要がある場合には、道路に面した平坦な山麓の資材集積所から建設現場に亘って移動路(軌条)を設置するとともに、当該移動路上を走行する運搬機に台車を接続して、この台車上に生コンクリート運搬用のバケットを載置固定した構成とし、この生コンクリート運搬用のバケット内に生コンクリートを収容させて資材集積所から建設現場まで運搬することが開示されている。
【先行技術文献】
【特許文献】
【0003】
特開平9-144316号公報
【発明の概要】
【発明が解決しようとする課題】
【0004】
しかしながら、特許文献1のように、道路に面した平坦な山麓の資材集積所と山頂や山腹の建設現場とに亘って延長する移動路を設置する場合、移動路の距離が長くなるため、移動路を設置するためのコストが嵩む。
また、資材集積所において運搬用のバケットにコンクリート(生コンクリート)を積み込んでから建設現場に運搬するまでの運搬距離が長くなるため、運搬の手間や時間等の運搬コストも嵩む。
また、資材集積所において、コンクリートミキサー車から運搬用のバケット内に生コンクリートを積み込む場合、資材集積所内にコンクリートミキサー車を進入させて積込作業を行うために必要なスペースを確保しなければならない。即ち、道路に面した平坦地にコンクリート積込場を設ける場合には、コンクリートミキサー車を進入させて積込作業を行うために必要なスペースを設けなくてはならず、当該スペースを確保できない場合には、コンクリートミキサー車が進入できる場所でコンクリートミキサー車からコンクリートを何らかの容器に積み込んだ後に運搬用のバケットまで運ばなければならず、この場合、さらに、運搬の手間や時間等の運搬コストが嵩むことになる。
本発明は、上述した課題に鑑み、傾斜地において傾斜に沿って設けられたコンクリート打設対象位置にコンクリートを運搬する場合において、移動路設置コスト、及び、運搬コストを削減できるようにした傾斜地用コンクリート打設装置へのコンクリート積込方法を提供するものである。
【課題を解決するための手段】
【0005】
本発明に係る傾斜地用コンクリート打設装置へのコンクリート積込方法は、傾斜地において傾斜に沿って設けられたコンクリート打設対象位置にコンクリートを打設するためのコンクリート打設装置へのコンクリート積込方法であって、コンクリート打設対象位置の下端側近傍においてコンクリート積込場を構築し、コンクリート打設装置は、移動手段と、移動手段により移動可能に設けられたコンクリート打設手段とを備え、移動手段は、コンクリート積込場からコンクリート打設対象位置の横に傾斜地の傾斜に沿って延長するように設けられた移動路と、移動路を移動可能に設けられた移動体とを備え、コンクリート打設手段は、コンクリートを運搬及び打設するための運搬打設用バケットと、運搬打設用バケットを揺動可能に支持するバケット支持装置と、を備えて構成され、コンクリート積込方法は、コンクリート積込場の下方に位置される道路に進入させたコンクリートミキサー車から揚重用バケット内にコンクリートを積み込む第1積込ステップと、当該コンクリートが積み込まれた揚重用バケットを道路に設置した揚重機を用いて吊り上げてコンクリート積込場に位置するコンクリート打設手段の運搬打設用バケットの上方に移動させる移動ステップと、運搬打設用バケットの上方まで移動させた揚重用バケットの放出口を開放して揚重用バケットから運搬打設用バケット内にコンクリートを自然落下させて積み込む第2積込ステップと、を備えたことを特徴とする。
本発明に係る傾斜地用コンクリート打設装置へのコンクリート積込方法によれば、コンクリート打設対象位置の下端側近傍においてコンクリートミキサー車が進入不可能な傾斜地にコンクリート積込場を構築し、かつ、コンクリート積込場に位置するコンクリート打設手段の運搬打設用バケットに対するコンクリート積込作業を、コンクリート積込場の下方に位置される道路から、運搬打設用バケットと同様な揚重用バケットを用いて行うようにしたので、傾斜地において傾斜に沿って設けられたコンクリート打設対象位置にコンクリートを運搬する場合において、移動路設置コスト、及び、運搬コストを削減できるようになった。
また、コンクリート積込場に位置するコンクリート打設手段の運搬打設用バケットに対するコンクリート積込作業は、コンクリートが積み込まれた揚重用バケットを揚重機で持ち上げた後、揚重用バケットの放出口を開閉するだけの簡単な操作によって、コンクリートを自然落下させて運搬打設用バケットに積み込むことができるようになり、コンクリートの積込作業を効率的に行えるようになったので、運搬コストを削減できるようになった。
また、バケット支持装置は、直方体形状の枠体により構成された架台と、バケットを揺動可能に支持するバケット支持機構とを備え、架台は、下側に位置される左右の長手側横材と前後の短手側横材とによって長方形枠に形成された下枠部と、上側に位置される左右の長手側横材と前後の短手側横材とによって長方形枠に形成された上枠部と、左側に位置される上下の長手側横材と前後の縦材とによって長方形枠に形成された左枠部と、右側に位置される上下の長手側横材と前後の縦材とによって長方形枠に形成された右枠部と、前側の左右に位置される縦材と前側の上下に位置される短手側横材とによって長方形枠に形成された前枠部と、後側の左右に位置される縦材と後側の上下に位置される短手側横材とによって長方形枠に形成された後枠部と、を備えた直方体状の枠体により構成され、上枠部は、揚重用バケットを載置するための載置部を備え、バケット支持機構は、上枠部の左右の長手側横材間に亘って設けられて運搬打設用バケットを揺動可能に支持する支持軸を備えたことを特徴とする。
このように、架台の上枠部に載置部を備えたので、揚重機で吊り下げられた揚重用バケットを載置部に載置できるようになり、揚重機で吊り下げられた揚重用バケットを安定な状態に維持できるようになるので、揚重用バケットから運搬打設用バケット内にコンクリートを積み込む作業を安全かつ効率的に行えるようになる。
【図面の簡単な説明】
【0006】
コンクリート打設装置のコンクリート打設手段を示す斜視図。
コンクリート打設装置を示す図であり、(a)は正面図、(b)は平面図、(c)は右側面図(移動手段は省略した)である。
コンクリート打設装置のコンクリート打設手段の運搬打設用バケットの上方に揚重用バケットを載置した状態を示す図であり、(a)は平面図、(b)は右側面図(移動手段は省略した)である。
コンクリート打設手段の傾斜形態を示す図。
コンクリート打設時におけるシュートによるコンクリート溢れ止め機能を示す斜視図。
折り畳み可能に構成された作業床の使用時状態、及び、不使用時状態を示す図。
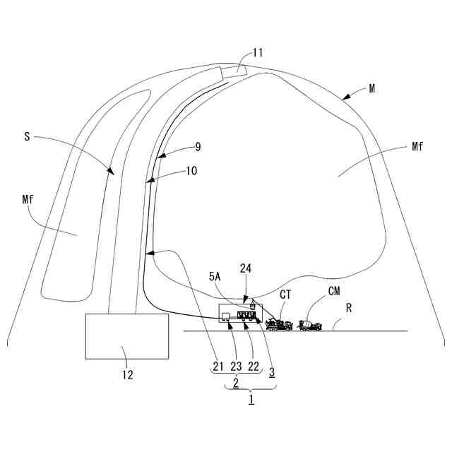
現場でのコンクリート打設対象位置とコンクリート打設装置との関係、及び、コンクリート打設装置へのコンクリート積込方法を示す図。
【発明を実施するための形態】
【0007】
実施形態1
実施形態1に係るコンクリート打設装置は、例えば図7に示すように、傾斜地Sにおいて傾斜に沿って設けられたコンクリート打設対象位置10にコンクリート(生コンクリート)C(図5参照)を打設するための傾斜地用コンクリート打設装置1である。
【0008】
傾斜地Sは、例えば、山Mの山肌に沿った傾斜面である。Mfは山Mの森林部である。
コンクリート打設対象位置10は、例えば、山Mの頂上部に設けられた取水設備11から水力発電所の建屋12に水を送るための図外の水圧管路を設置するためのコンクリート台を構築する場所である。
【0009】
図7に示すように、傾斜地用コンクリート打設装置1は、移動手段2と、移動手段2により移動可能に設けられたコンクリート打設手段3とを備える。
【0010】
移動手段2は、移動路21と、移動路21を移動可能に設けられた移動体22と、移動体22と連結された動力車23とを備え、移動体22及び移動体22上に連結されたコンクリート打設手段3を動力車23で移動させる構成である。
移動路21は、コンクリート打設対象位置10の横の傾斜地Sの傾斜に沿って延長するように、コンクリート積込場24とコンクリート打設対象位置10の横のコンクリート打設作業場所9とに亘って連続するように設けられる。
コンクリート積込場24は、コンクリート打設対象位置10の下端側近傍においてコンクリートミキサー車CMが進入不可能な傾斜地Sに構築されている。
即ち、移動路21は、コンクリート打設対象位置10の下端側近傍においてコンクリートミキサー車CMが進入不可能な傾斜地Sに設けられたコンクリート積込場24からコンクリート打設対象位置10の横に傾斜地Sの傾斜に沿って延長するように設けられている。
例えば、移動路21はレール、移動体22は、レール21上を移動するための台車等により構成される。
移動手段2としては、例えば、モノレール方式等の移動手段が用いられる。
(【0011】以降は省略されています)
この特許をJ-PlatPat(特許庁公式サイト)で参照する
関連特許
株式会社熊谷組
床版
16日前
株式会社熊谷組
床版
16日前
株式会社熊谷組
長机
24日前
株式会社熊谷組
吊り治具
23日前
株式会社熊谷組
木質材料
1か月前
株式会社熊谷組
床構成材
16日前
株式会社熊谷組
木材接合部材
23日前
株式会社熊谷組
山留壁用親杭
15日前
株式会社熊谷組
地盤改良方法
18日前
株式会社熊谷組
床版接合構造
26日前
株式会社熊谷組
RI計測装置
24日前
株式会社熊谷組
密度計測方法
24日前
株式会社熊谷組
障害物の検出方法
17日前
株式会社熊谷組
鉄筋コンクリート梁
1か月前
株式会社熊谷組
コンクリート打設装置
1か月前
株式会社熊谷組
コンクリート打設装置
1か月前
株式会社熊谷組
アクアポニックスシステム
22日前
株式会社熊谷組
床版継手装置、及び、床版
26日前
株式会社熊谷組
建物構造体の変位抑制装置
15日前
株式会社熊谷組
杭頭処理構造、杭頭処理方法
26日前
株式会社熊谷組
吊り下げ物の防振構造改良方法
26日前
株式会社熊谷組
壁体構築方法および鉄筋連結構造
26日前
株式会社熊谷組
壁体構築方法およびアンカー部材
26日前
株式会社熊谷組
耐火構造、及び、耐火構造の施工方法
16日前
国立大学法人東北大学
重金属の不溶化方法
23日前
岐阜工業株式会社
コンクリート用流量調整弁
22日前
ベルテクス株式会社
コンクリート部材の継手構造
22日前
株式会社熊谷組
傾斜地用コンクリート打設装置へのコンクリート積込方法
1か月前
株式会社熊谷組
トンネル坑内での重量物横移動方法及び重量物横移動装置
1か月前
ベルテクス株式会社
コンクリート部材の取付構造とその成型に用いる抜き型
22日前
株式会社ホルツストラ一級建築士事務所
下地材付き軸材、及び、耐火被覆構造体
11日前
個人
接合構造
19日前
個人
屋台
1か月前
個人
タッチミー
18日前
個人
野良猫ハウス
1か月前
個人
安心補助てすり
2日前
続きを見る
他の特許を見る