TOP
|
特許
|
意匠
|
商標
特許ウォッチ
Twitter
他の特許を見る
公開番号
2025135071
公報種別
公開特許公報(A)
公開日
2025-09-18
出願番号
2024032650
出願日
2024-03-05
発明の名称
コンクリート打設装置
出願人
株式会社熊谷組
代理人
個人
主分類
E04G
21/02 20060101AFI20250910BHJP(建築物)
要約
【課題】傾斜地において傾斜に沿って設けられたコンクリート打設対象位置にコンクリートを打設する作業を、効率的に行えるようにしたコンクリート打設装置を提供する。
【解決手段】傾斜に沿って設けられたコンクリート打設対象位置にコンクリートを打設するためのコンクリート打設装置であって、移動手段と、移動手段により移動可能に設けられたコンクリート打設手段3とを備え、移動手段は、コンクリート積込場からコンクリート打設対象位置の横に傾斜地の傾斜に沿って延長するように設けられた移動路と、移動路を移動可能な移動体とを備え、コンクリート打設手段3は、コンクリートを運搬及び打設するためのバケット5と、バケットを揺動可能に支持するバケット支持装置4と、バケットから放出されたコンクリートをコンクリート打設対象位置に導くシュート8と、シュート8は、上流部81と、下流部82と、コンクリートの溢れ止め部83とを備えた。
【選択図】図4
特許請求の範囲
【請求項1】
傾斜地において傾斜に沿って設けられたコンクリート打設対象位置にコンクリートを打設するためのコンクリート打設装置であって、
移動手段と、
移動手段により移動可能に設けられたコンクリート打設手段とを備え、
移動手段は、
コンクリート積込場からコンクリート打設対象位置の横に傾斜地の傾斜に沿って延長するように設けられた移動路と、
移動路を移動可能に設けられた移動体とを備え、
コンクリート打設手段は、
コンクリートを運搬及び打設するためのバケットと、
バケットを揺動可能に支持するバケット支持装置と、
バケットから放出されたコンクリートをコンクリート打設対象位置に導くシュートと、
を備え、
シュートは、コンクリート打設手段が移動手段によりコンクリート打設対象位置の横のコンクリート打設作業場所に移動した際に、バケットのコンクリート放出口の下方に位置するとともに傾斜地の傾斜に沿って延長する断面凹状の流路を有した上流部と、上流部の終端からコンクリート打設対象位置の方向に向けて延長する断面凹状の流路を有した下流部と、コンクリート打設対象位置から遠い側に位置される上流部の終端と下流部の始端との境界位置において、境界位置の上方近傍に、上流部を流下してくるコンクリートの溢れ止め部とを備えたことを特徴とするコンクリート打設装置。
続きを表示(約 780 文字)
【請求項2】
溢れ止め部は、上流部の流路の左右の側壁部のうちコンクリート打設対象位置から遠い側に位置される一方の側壁部の終端側から当該一方の側壁部と連続する下流部の一方の側壁部の終端側にかけて、当該上流部の一方の側壁部の上端及び下流部の一方の側壁部の上端よりも上方に延長する壁体により構成されたことを特徴とする請求項1に記載のコンクリート打設装置。
【請求項3】
バケット支持装置は、
直方体形状の枠体により構成された架台と、バケットを揺動可能に支持するバケット支持機構とを備え、
架台は、
下側に位置される左右の長手側横材と前後の短手側横材とによって長方形枠に形成された下枠部と、
上側に位置される左右の長手側横材と前後の短手側横材とによって長方形枠に形成された上枠部と、
左側に位置される上下の長手側横材と前後の縦材とによって長方形枠に形成された左枠部と、
右側に位置される上下の長手側横材と前後の縦材とによって長方形枠に形成された右枠部と、
前側の左右に位置される縦材と前側の上下に位置される短手側横材とによって長方形枠に形成された前枠部と、
後側の左右に位置される縦材と後側の上下に位置される短手側横材とによって長方形枠に形成された後枠部と、を備えた直方体状の枠体により構成され、
バケット支持機構は、上枠部の左右の長手側横材間に亘って設けられてバケットを揺動可能に支持する支持軸を備えたことを特徴とする請求項1に記載のコンクリート打設装置。
【請求項4】
バケットを複数備え、シュートの上流部が複数の各バケットの各コンクリート放出口の下方に位置されるように設けられたことを特徴する請求項1乃至請求項3のいずれか一項に記載のコンクリート打設装置。
発明の詳細な説明
【技術分野】
【0001】
本発明は、傾斜地において傾斜に沿って設けられたコンクリート打設対象位置にコンクリートを打設するためのコンクリート打設装置に関する。
続きを表示(約 3,000 文字)
【背景技術】
【0002】
傾斜した場合であっても内部に収容された生コンクリートが外部にこぼれ落ちることがなく、且つ、作業現場における作業性も良好な生コンクリート運搬用バケット装置が知られている(特許文献1参照)。
【先行技術文献】
【特許文献】
【0003】
特開平9-144316号公報
【発明の概要】
【発明が解決しようとする課題】
【0004】
特許文献1に記載された生コンクリート運搬用バケット装置は、特に急峻な山腹を移送する際に、傾斜した場合であっても内部に収容された生コンクリートが外部にこぼれ落ちることがないように構成されたバケット装置であって、傾斜地において傾斜に沿って設けられたコンクリート打設対象位置にコンクリートを打設する際に用いられるバケット装置ではない。
本発明は、傾斜地において傾斜に沿って設けられたコンクリート打設対象位置にコンクリートを打設する作業を、効率的に行えるようにしたコンクリート打設装置を提供するものである。
【課題を解決するための手段】
【0005】
本発明に係るコンクリート打設装置は、傾斜地において傾斜に沿って設けられたコンクリート打設対象位置にコンクリートを打設するためのコンクリート打設装置であって、移動手段と、移動手段により移動可能に設けられたコンクリート打設手段とを備え、移動手段は、コンクリート積込場からコンクリート打設対象位置の横に傾斜地の傾斜に沿って延長するように設けられた移動路と、移動路を移動可能に設けられた移動体とを備え、コンクリート打設手段は、コンクリートを運搬及び打設するためのバケットと、バケットを揺動可能に支持するバケット支持装置と、バケットから放出されたコンクリートをコンクリート打設対象位置に導くシュートと、を備え、シュートは、コンクリート打設手段が移動手段によりコンクリート打設対象位置の横のコンクリート打設作業場所に移動した際に、各バケットのコンクリート放出口の下方に位置するとともに傾斜地の傾斜に沿って延長する断面凹状の流路を有した上流部と、上流部の終端からコンクリート打設対象位置の方向に向けて延長する断面凹状の流路を有した下流部と、コンクリート打設対象位置から遠い側に位置される上流部の終端と下流部の始端との境界位置において、境界位置の上方近傍に、上流部を流下してくるコンクリートの溢れ止め部とを備えたことを特徴とする。
また、溢れ止め部は、上流部の流路の左右の側壁部のうちコンクリート打設対象位置から遠い側に位置される一方の側壁部の終端側から当該一方の側壁部と連続する下流部の一方の側壁部の終端側にかけて、当該上流部の一方の側壁部の上端及び下流部の一方の側壁部の上端よりも上方に延長する壁体により構成されたことを特徴とする。
また、バケット支持装置は、直方体形状の枠体により構成された架台と、バケットを揺動可能に支持するバケット支持機構とを備え、架台は、下側に位置される左右の長手側横材と前後の短手側横材とによって長方形枠に形成された下枠部と、上側に位置される左右の長手側横材と前後の短手側横材とによって長方形枠に形成された上枠部と、左側に位置される上下の長手側横材と前後の縦材とによって長方形枠に形成された左枠部と、右側に位置される上下の長手側横材と前後の縦材とによって長方形枠に形成された右枠部と、前側の左右に位置される縦材と前側の上下に位置される短手側横材とによって長方形枠に形成された前枠部と、後側の左右に位置される縦材と後側の上下に位置される短手側横材とによって長方形枠に形成された後枠部と、を備えた直方体状の枠体により構成され、バケット支持機構は、上枠部の左右の長手側横材間に亘って設けられてバケットを揺動可能に支持する支持軸を備えたことを特徴とする。
また、バケットを複数備え、シュートの上流部が複数の各バケットの各コンクリート放出口の下方に位置されるように設けられたことを特徴する。
本発明に係るコンクリート打設装置によれば、傾斜地において傾斜に沿って設けられたコンクリート打設対象位置にコンクリートを打設する作業を、効率的に行えるようになる。
特に、溢れ止め部を有したシュートを備えたので、傾斜地において傾斜に沿って設けられたコンクリート打設対象位置に必要な量のコンクリートを、早く的確に送り出すことができるようになり、傾斜地に設けられたコンクリート打設対象位置へのコンクリート打設作業を、効率的に行えるようになる。
【図面の簡単な説明】
【0006】
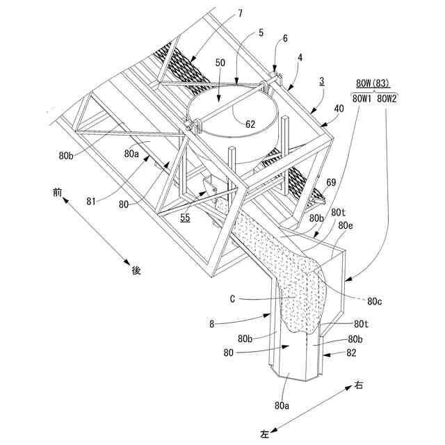
コンクリート打設装置のコンクリート打設手段を示す斜視図。
コンクリート打設装置を示す図であり、(a)は正面図、(b)は平面図、(c)は右側面図(移動手段は省略した)である。
コンクリート打設手段の傾斜形態を示す図。
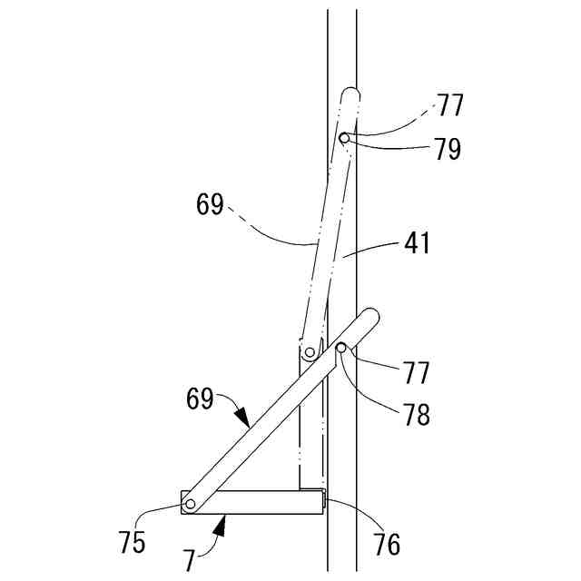
コンクリート打設時におけるシュートによるコンクリート溢れ止め機能を示す斜視図。
折り畳み可能に構成された作業床の使用時状態、及び、不使用時状態を示す図。
現場でのコンクリート打設対象位置とコンクリート打設装置との関係を示す図。
【発明を実施するための形態】
【0007】
実施形態1
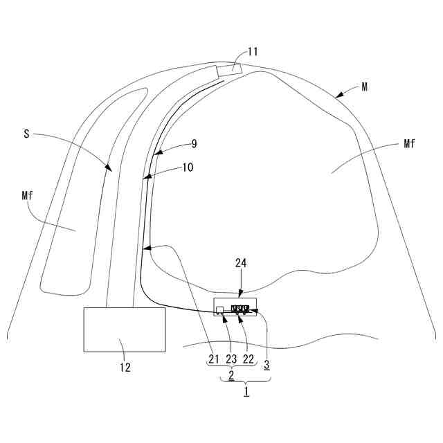
実施形態1に係るコンクリート打設装置は、例えば図6に示すように、傾斜地Sにおいて傾斜に沿って設けられたコンクリート打設対象位置10にコンクリート(生コンクリート)C(図4参照)を打設するためのコンクリート打設装置1である。
【0008】
傾斜地Sは、例えば、山Mの山肌に沿った傾斜面である。Mfは山Mの森林部である。
コンクリート打設対象位置10は、例えば、山Mの頂上部に設けられた取水設備11から水力発電所の建屋12に水を送るための図外の水圧管路を設置するためのコンクリート台を構築する場所である。
【0009】
図6に示すように、コンクリート打設装置1は、移動手段2と、移動手段2により移動可能に設けられたコンクリート打設手段3とを備える。
【0010】
移動手段2は、移動路21と、移動路21を移動可能に設けられた移動体22と、移動体22と連結された動力車23とを備え、移動体22及び移動体22上に連結されたコンクリート打設手段3を動力車23で移動させる構成である。
移動路21は、コンクリート打設対象位置10の横の傾斜地Sの傾斜に沿って延長するように、コンクリート積込場24とコンクリート打設対象位置10の横のコンクリート打設作業場所9とに亘って連続するように設けられる。
即ち、移動路21は、コンクリート積込場24からコンクリート打設対象位置10の横に傾斜地Sの傾斜に沿って延長するように設けられている。
例えば、移動路21はレール、移動体22は、レール21上を移動するための台車等により構成される。
移動手段2としては、例えば、モノレール方式等の移動手段が用いられる。
(【0011】以降は省略されています)
この特許をJ-PlatPat(特許庁公式サイト)で参照する
関連特許
株式会社熊谷組
床版
14日前
株式会社熊谷組
床版
14日前
株式会社熊谷組
長机
22日前
株式会社熊谷組
床構成材
14日前
株式会社熊谷組
木質材料
1か月前
株式会社熊谷組
吊り治具
21日前
株式会社熊谷組
密度計測方法
22日前
株式会社熊谷組
木材接合部材
21日前
株式会社熊谷組
山留壁用親杭
13日前
株式会社熊谷組
地盤改良方法
16日前
株式会社熊谷組
床版接合構造
24日前
株式会社熊谷組
RI計測装置
22日前
株式会社熊谷組
障害物の検出方法
15日前
株式会社熊谷組
観測装置の防塵装置
2か月前
株式会社熊谷組
鉄筋コンクリート梁
1か月前
株式会社熊谷組
観測装置の防塵装置
2か月前
株式会社熊谷組
コンクリート打設装置
1か月前
株式会社熊谷組
コンクリート打設装置
1か月前
株式会社熊谷組
建物構造体の変位抑制装置
13日前
株式会社熊谷組
アクアポニックスシステム
20日前
株式会社熊谷組
床版継手装置、及び、床版
24日前
株式会社熊谷組
杭頭処理構造、杭頭処理方法
24日前
株式会社熊谷組
吊り下げ物の防振構造改良方法
24日前
株式会社熊谷組
壁体構築方法および鉄筋連結構造
24日前
株式会社熊谷組
壁体構築方法およびアンカー部材
24日前
株式会社熊谷組
耐火構造、及び、耐火構造の施工方法
14日前
国立大学法人東北大学
重金属の不溶化方法
21日前
岐阜工業株式会社
コンクリート用流量調整弁
20日前
ベルテクス株式会社
コンクリート部材の継手構造
20日前
株式会社熊谷組
傾斜地用コンクリート打設装置へのコンクリート積込方法
1か月前
株式会社熊谷組
トンネル坑内での重量物横移動方法及び重量物横移動装置
1か月前
ベルテクス株式会社
コンクリート部材の取付構造とその成型に用いる抜き型
20日前
株式会社ホルツストラ一級建築士事務所
下地材付き軸材、及び、耐火被覆構造体
9日前
個人
接合構造
17日前
個人
屋台
1か月前
個人
タッチミー
16日前
続きを見る
他の特許を見る