TOP
|
特許
|
意匠
|
商標
特許ウォッチ
Twitter
他の特許を見る
公開番号
2025142482
公報種別
公開特許公報(A)
公開日
2025-10-01
出願番号
2024041852
出願日
2024-03-18
発明の名称
長机
出願人
株式会社熊谷組
代理人
個人
,
個人
主分類
A47B
13/08 20060101AFI20250924BHJP(家具;家庭用品または家庭用設備;コーヒーひき;香辛料ひき;真空掃除機一般)
要約
【課題】天板による振動の伝達を抑制することのできる長机を提供する。
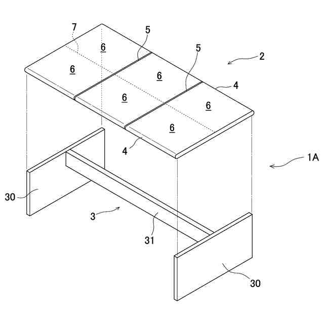
【解決手段】長机1Aは、二人以上の使用者が横並びで利用可能なものであり、天板2と、床面上に載置されて天板2の全体を下方から支持する脚部3とを備えている。天板2は、使用者が横並びする長辺4で開放されたスリット5によって、上述した長辺4に沿う方向で複数の分割領域6に分割されている。
【選択図】図2
特許請求の範囲
【請求項1】
二人以上の使用者が横並びで利用可能な長机であって、
天板と、床面上に載置されて前記天板の全体を下方から支持する脚部とを備えており、
前記天板が、使用者が横並びする長辺で開放されたスリットによって、前記長辺に沿う方向で複数の分割領域に分割されている、長机。
続きを表示(約 180 文字)
【請求項2】
前記天板が、前記天板の前記長辺から奥へと厚さが増している、請求項1に記載の長机。
【請求項3】
前記スリットを跨いで前記天板の上面又は下面を覆う振動吸収シート部材をさらに備えている、請求項1又は2に記載の長机。
【請求項4】
前記スリットの内部に振動伝達低減材が充填されている、請求項1又は2に記載の長机。
発明の詳細な説明
【技術分野】
【0001】
本発明は、二人以上の使用者が横並びで利用可能な長机に関する。
続きを表示(約 1,700 文字)
【背景技術】
【0002】
オフィスで固定席を持たずに任意の席で働く執務形態であるいわゆるフリーアドレスと呼ばれるものなど、執務形態が多様化している。フリーアドレスのような執務形態に合わせて、二人以上の使用者が横並びで利用可能な長机の活用も増えている。長机は、その天板の平行な二つの長辺のうちの一方のみで使用者が利用する形態と、二つの長辺のそれぞれで使用者が利用する形態(対面形態)とがある。下記特許文献1(図6)は、対面形態でない長机を開示している。下記特許文献2(図1)は、一枚の天板が用いられた対面形態の長机を開示している。
【0003】
長机の天板は長手方向の一端から他端までつながっているのが一般的であり、長手方向で天板が分割されていてもその継ぎ目同士は隙間が生じないように互いに突き当てられている。上述した対面形態の場合は、一枚の天板が用いられることもあれば、二枚の長い板材で天板が構成される場合もある。二枚の長い板材で天板が構成される場合でも、各天板は長手方向の一端から他端までつながっているのが一般的であり、長手方向で天板が分割されていてもその継ぎ目同士は隙間が生じないように互いに突き当てられている。
【先行技術文献】
【特許文献】
【0004】
特開2019-076590号公報
特開2019-165844号公報
【発明の概要】
【発明が解決しようとする課題】
【0005】
長机は、二人以上の使用者が横並びで使用することになり、その天板は共有される。このため、例えば、携帯電話のバイブレーション機能の振動が天板を介して共有使用者の使用エリアにまで伝達されてしまい、共有使用者にとっては迷惑になることがある。また、横並びの人数が増えれば、天板の縦横比は大きくなって天板の長さが数メートルになる。このような場合、天板の共振による振動が起きやすくなり、階下フロアのための空調設備の振動が床スラブ及び長机の脚部を介して天板に伝達され、長い天板が振動して使用者にとって使い心地の悪いものとなる場合がある。また、天板上にプリンターが置かれている場合に、プリンターの印刷時の動きにより天板に振動が誘発されるような場合もある。
【0006】
本発明の目的は、天板による振動の伝達を抑制することのできる長机を提供することにある。
【課題を解決するための手段】
【0007】
本発明に係る長机は、二人以上の使用者が横並びで利用可能なものであり、天板と、床面上に載置されて天板の全体を下方から支持する脚部とを備えている。天板は、使用者が横並びする長辺で開放されたスリットによって、上述した長辺に沿う方向で複数の分割領域に分割されている。
【発明の効果】
【0008】
本発明に係る長机によれば、その天板による振動の伝達を効果的に抑制することができる。
【図面の簡単な説明】
【0009】
第1実施形態に係る長机の斜視図である。
上記長机の分解斜視図である。
第2実施形態に係る長机の断面図である。
変形例に係る長机におけるスリットでの拡大断面図である。
【発明を実施するための形態】
【0010】
ここに言う長机とは、二人以上の使用者が横並びで利用可能な机のことである。対面形態でない長机の場合、その天板の全体の縦横比(長手長さ/短手長さ)は2以上である。対面形態の長机の場合は、対面形態に応じて天板を二分割したときの一方の分割形状の縦横比が2以上である。ここで、天板に関して、使用者が横並びする長辺、即ち、利用時に使用者が向かい合う辺を手前辺と呼ぶこととする。また、ここに言う長机とは、上述した天板の縦横比の要件に加えて、その手前辺の長さが1.5メートル程度以上のものを言う。さらに、ここに言う長机とは、その手前辺が両端でのみ脚部によって下方から支持されるものを言う。言い換えれば、長机では、その手前辺は両端以外では脚部によって下方から支持されない。以下、実施形態に係る長机について図面を参照しつつ説明する。
(【0011】以降は省略されています)
この特許をJ-PlatPat(特許庁公式サイト)で参照する
関連特許
株式会社熊谷組
長机
1か月前
株式会社熊谷組
床版
22日前
株式会社熊谷組
床版
22日前
株式会社熊谷組
木質材料
1か月前
株式会社熊谷組
吊り治具
29日前
株式会社熊谷組
床構成材
22日前
株式会社熊谷組
RI計測装置
1か月前
株式会社熊谷組
密度計測方法
1か月前
株式会社熊谷組
木材接合部材
29日前
株式会社熊谷組
床版接合構造
1か月前
株式会社熊谷組
山留壁用親杭
21日前
株式会社熊谷組
地盤改良方法
24日前
株式会社熊谷組
障害物の検出方法
23日前
株式会社熊谷組
床版継手装置、及び、床版
1か月前
株式会社熊谷組
建物構造体の変位抑制装置
21日前
株式会社熊谷組
アクアポニックスシステム
28日前
株式会社熊谷組
杭頭処理構造、杭頭処理方法
1か月前
株式会社熊谷組
吊り下げ物の防振構造改良方法
1か月前
株式会社熊谷組
壁体構築方法およびアンカー部材
1か月前
株式会社熊谷組
壁体構築方法および鉄筋連結構造
1か月前
株式会社熊谷組
耐火構造、及び、耐火構造の施工方法
22日前
国立大学法人東北大学
重金属の不溶化方法
29日前
岐阜工業株式会社
コンクリート用流量調整弁
28日前
ベルテクス株式会社
コンクリート部材の継手構造
28日前
ベルテクス株式会社
コンクリート部材の取付構造とその成型に用いる抜き型
28日前
株式会社ホルツストラ一級建築士事務所
下地材付き軸材、及び、耐火被覆構造体
17日前
個人
箸
17日前
個人
椅子
2か月前
個人
家具
3か月前
個人
自助箸
6か月前
個人
掃除機
8か月前
個人
掃除道具
8か月前
個人
枕
8か月前
個人
耳拭き棒
10か月前
個人
ハンガー
6か月前
個人
枕
4か月前
続きを見る
他の特許を見る