TOP
|
特許
|
意匠
|
商標
特許ウォッチ
Twitter
他の特許を見る
10個以上の画像は省略されています。
公開番号
2025141139
公報種別
公開特許公報(A)
公開日
2025-09-29
出願番号
2024040926
出願日
2024-03-15
発明の名称
床版継手装置、及び、床版
出願人
株式会社熊谷組
代理人
個人
主分類
E01D
19/12 20060101AFI20250919BHJP(道路,鉄道または橋りょうの建設)
要約
【課題】小型化が可能で、コストを削減できるように構成された受部材を備えた床版継手装置等を提供する。
【解決手段】一方の床版10と他方の床版10とを接続するための床版継手装置1であって、受部材2と繋ぎ部材3とを備え、受部材2は、被係合部5と定着部6と被係合部と定着部とを連結する連結部とを備え、被係合部5は、繋ぎ部材3が係合する前壁部52と、前壁部52より後方に延長する左壁部53Lと、前壁部52より後方に延長する右壁部53Rとを備え、定着部6は、左右の定着部を備え、左の定着部6Lは、前壁部52の左端より左側に突出するように設けられた連結部としての左側延長前壁部55Lから後方に延長するように設けられ、右の定着部6Rは、前壁部52の右端より右側に突出するように設けられた連結部としての右側延長前壁部55Rから後方に延長するように設けられた。
【選択図】図1
特許請求の範囲
【請求項1】
橋梁の桁の上に隣り合うように設置される一方の床版と他方の床版とを接続するための床版継手装置であって、
一方の床版に設けられる受部材と他方の床版に設けられる受部材とこれら各受部材を繋ぐ繋ぎ部材とを備えて構成されるか、
あるいは、
一方の床版に設けられる受部材と他方の床版に設けられて一方の床版に設けられる受部材と繋がれる繋ぎ部材とを備えて構成され、
受部材は、繋ぎ部材が係合する被係合部と、当該被係合部を床版のコンクリートに定着させるための定着部と、被係合部と定着部とを連結する連結部とを備え、
被係合部は、繋ぎ部材が係合する前壁部と、前壁部の左端より後方に延長する左壁部と、前壁部の右端より後方に延長する右壁部とを備え、
定着部は、左右の定着部を備え、
左の定着部は、前壁部の左端より左側に突出するように設けられた連結部としての左側延長前壁部から後方に延長するように設けられ、
右の定着部は、前壁部の右端より右側に突出するように設けられた連結部としての右側延長前壁部から後方に延長するように設けられたことを特徴とする床版継手装置。
続きを表示(約 1,400 文字)
【請求項2】
橋梁の桁の上に隣り合うように設置される一方の床版と他方の床版とを接続するための床版継手装置であって、
一方の床版に設けられる受部材と他方の床版に設けられる受部材とこれら各受部材を繋ぐ繋ぎ部材とを備えて構成されるか、
あるいは、
一方の床版に設けられる受部材と他方の床版に設けられて一方の床版に設けられる受部材と繋がれる繋ぎ部材とを備えて構成され、
受部材は、繋ぎ部材が係合する被係合部と、当該被係合部を床版のコンクリートに定着させるための定着部材が取付けられる定着部材取付部とを備え、
被係合部は、繋ぎ部材が係合する前壁部と、前壁部の左端より後方に延長する左壁部と、前壁部の右端より後方に延長する右壁部とを備え、
定着部材取付部は、前壁部の左端より左側に突出するように設けられた左側延長前壁部、及び、前壁部の右端よりも右側に突出するように設けられた右側延長前壁部であることを特徴とする床版継手装置。
【請求項3】
被係合部は、前壁部より後方に延長する底部と、底部、左壁部、右壁部の後端から延長する後壁部とを備えるとともに、これら、前壁部と左壁部と右壁部と底部と後壁部とで囲まれた上部開口の係合凹部を備え、当該係合凹部に繋ぎ部材が係合するように構成されたことを特徴とする請求項1又は請求項2に記載の床版継手装置。
【請求項4】
被係合部は、前壁部と、前壁部の左端より後方に延長する左壁部と、前壁部の右端より後方に延長する右壁部とで形成されて、前壁部の後面に繋ぎ部材が係合するように構成されたことを特徴とする請求項1又は請求項2に記載の床版継手装置。
【請求項5】
左側延長前壁部から後方に延長するように設けられて当該左側延長前壁部を補強する左側補強部と、
右側延長前壁部から後方に延長するように設けられて当該右側延長前壁部を補強する右側補強部とを備えたことを特徴とする請求項1又は請求項2に記載の床版継手装置。
【請求項6】
左側補強部の外面及び右側補強部の外面には、前後方向に延長する凹部を備えたことを特徴とする請求項5に記載の床版継手装置。
【請求項7】
左側補強部は、左側延長前壁部の後面と左壁部とに亘って延長するバットレスにより構成され、
右側補強部は、右側延長前壁部の後面と右壁部とに亘って延長するバットレスにより構成されたことを特徴とする請求項5に記載の床版継手装置。
【請求項8】
受部材は、被係合部と左側延長前壁部と右側延長前壁部とが一体に構成されるとともに、左の定着部と左側延長前壁部とが一体で、かつ、右の定着部と右側延長前壁部とが一体に構成された一体成型品であることを特徴とする請求項1に記載の床版継手装置。
【請求項9】
受部材は、左の定着部を構成する左の定着部材と左側延長前壁部とが接続され、かつ、右の定着部を構成する右の定着部材と右側延長前壁部とが接続されて構成されたことを特徴とする請求項1に記載の床版継手装置。
【請求項10】
左の定着部は、上下方向に間隔を隔てて設けられた複数の定着部材を備えて構成され、
右の定着部は、上下方向に間隔を隔てて設けられた複数の定着部材を備えて構成されたことを特徴とする請求項1に記載の床版継手装置。
(【請求項11】以降は省略されています)
発明の詳細な説明
【技術分野】
【0001】
本発明は、橋梁の桁の上に隣り合うように設置される一方の床版と他方の床版とを接続するための床版継手装置等に関する。
続きを表示(約 5,700 文字)
【背景技術】
【0002】
橋梁の桁の上に隣り合うように設置される一方の床版と他方の床版とを接続するための床版継手装置として、一方の床版に設置される受部材と、他方の床版に設置される受部材と、この各受部材を繋ぐ繋ぎ部材とを備えて構成された床版継手装置が知られている(特許文献1参照)。
当該構成の床版継手装置を用い、隣り合う一方の床版に設置された受部材と他方の床版に設置された受部材とを繋ぎ部材で繋ぐことによって、隣り合う床版同士が接続される。
上述した床版継手装置の受部材は、繋ぎ部材が係合する被係合部と、当該被係合部を床版のコンクリートに定着させるための定着部とを備えている。
被係合部は、例えば、前壁部と、前壁部より後方に延長する左壁部と、前壁部より後方に延長する右壁部と、前壁部より後方に延長する底部と、底部、左壁部、右壁部の後端から延長する後壁部とを備えるとともに、これら、前壁部と左壁部と右壁部と底部と後壁部とで囲まれた上部開口の凹部を備え、繋ぎ部材が、当該凹部に挿入されて、前壁部に係合する構成となっている。
特許文献1に開示された受部材では、定着部を構成する定着部材が、後壁部から後方に延長するように設けられている。
【先行技術文献】
【特許文献】
【0003】
特開2018-159233号公報
【発明の概要】
【発明が解決しようとする課題】
【0004】
特許文献1に開示された従来の床版継手装置の受部材では、定着部材が被係合部の後壁部の後面の左右側から後方に突出するように設けられた構成となっているため、被係合部の後壁部の大きさが大きくなって、被係合部全体の大きさが大きくなるため、被係合部を構成する材料費が嵩み、受部材のコストが高くなる。
特に、床版継手装置の受部材は、床版の辺縁面側に当該辺縁面の長手方向に沿って所定の間隔を隔てて設置されるので、床版設置工事において、多数の受部材が必要になることから、受部材のコスト(単価)をできるだけ削減したいという要望があり、小型化が可能で、コストを削減できる受部材を備えた床版継手装置の開発が望まれていた。
本発明は、上述した課題に鑑みて、小型化が可能で、コストを削減できるように構成された受部材を備えた床版継手装置等を提供するものである。
【課題を解決するための手段】
【0005】
本発明に係る床版継手装置は、橋梁の桁の上に隣り合うように設置される一方の床版と他方の床版とを接続するための床版継手装置であって、一方の床版に設けられる受部材と他方の床版に設けられる受部材とこれら各受部材を繋ぐ繋ぎ部材とを備えて構成されるか、あるいは、一方の床版に設けられる受部材と他方の床版に設けられて一方の床版に設けられる受部材と繋がれる繋ぎ部材とを備えて構成され、受部材は、繋ぎ部材が係合する被係合部と、当該被係合部を床版のコンクリートに定着させるための定着部と、被係合部と定着部とを連結する連結部とを備え、被係合部は、繋ぎ部材が係合する前壁部と、前壁部の左端より後方に延長する左壁部と、前壁部の右端より後方に延長する右壁部とを備え、定着部は、左右の定着部を備え、左の定着部は、前壁部の左端より左側に突出するように設けられた連結部としての左側延長前壁部から後方に延長するように設けられ、右の定着部は、前壁部の右端より右側に突出するように設けられた連結部としての右側延長前壁部から後方に延長するように設けられたことを特徴とする。
また、本発明に係る床版継手装置は、橋梁の桁の上に隣り合うように設置される一方の床版と他方の床版とを接続するための床版継手装置であって、一方の床版に設けられる受部材と他方の床版に設けられる受部材とこれら各受部材を繋ぐ繋ぎ部材とを備えて構成されるか、あるいは、一方の床版に設けられる受部材と他方の床版に設けられて一方の床版に設けられる受部材と繋がれる繋ぎ部材とを備えて構成され、受部材は、繋ぎ部材が係合する被係合部と、当該被係合部を床版のコンクリートに定着させるための定着部材が取付けられる定着部材取付部とを備え、被係合部は、繋ぎ部材が係合する前壁部と、前壁部の左端より後方に延長する左壁部と、前壁部の右端より後方に延長する右壁部とを備え、定着部材取付部は、前壁部の左端より左側に突出するように設けられた左側延長前壁部、及び、前壁部の右端よりも右側に突出するように設けられた右側延長前壁部であることを特徴とする。
また、被係合部は、前壁部より後方に延長する底部と、底部、左壁部、右壁部の後端から延長する後壁部とを備えるとともに、これら、前壁部と左壁部と右壁部と底部と後壁部とで囲まれた上部開口の係合凹部を備え、当該係合凹部に繋ぎ部材が係合するように構成されたことを特徴とする。
また、被係合部は、前壁部と、前壁部の左端より後方に延長する左壁部と、前壁部の右端より後方に延長する右壁部とで形成されて、前壁部の後面に繋ぎ部材が係合するように構成されたことを特徴とする。
また、左側延長前壁部から後方に延長するように設けられて当該左側延長前壁部を補強する左側補強部と、右側延長前壁部から後方に延長するように設けられて当該右側延長前壁部を補強する右側補強部とを備えたことを特徴とする。
また、左側補強部の外面及び右側補強部の外面には、前後方向に延長する凹部を備えたことを特徴とする。
また、左側補強部は、左側延長壁部の後面と左壁部とに亘って延長するバットレスにより構成され、右側補強部は、右側延長壁部の後面と右壁部とに亘って延長するバットレスにより構成されたことを特徴とする。
また、受部材は、被係合部と左側延長前壁部と右側延長前壁部とが一体に構成されるとともに、左の定着部と左側延長前壁部とが一体で、かつ、右の定着部と右側延長前壁部とが一体に構成された一体成型品であることを特徴とする。
また、受部材は、左の定着部を構成する左の定着部材と左側延長前壁部とが接続され、かつ、右の定着部を構成する右の定着部材と右側延長前壁部とが接続されて構成されたことを特徴とする。
また、左の定着部は、上下方向に間隔を隔てて設けられた複数の定着部材を備えて構成され、右の定着部は、上下方向に間隔を隔てて設けられた複数の定着部材を備えて構成されたことを特徴とする。
本発明に係る床版継手装置によれば、小型化が可能で、コストを削減できるように構成された受部材を備えた床版継手装置を提供できるようになった。
また、本発明に係る床版は、橋梁の桁の上に隣り合うように設置されて床版継手装置により接続される四角形板状の鉄筋コンクリート製の床版であって、辺縁面側には、上述の床版継手装置の受部材を備えたことを特徴とする。
また、本発明に係る床版は、橋梁の橋軸方向及び橋軸直角方向に沿って桁の上に隣り合うように設置されて床版継手装置により接続される四角形板状の鉄筋コンクリート製の床版であって、橋梁の橋軸直角方向に沿って延長する辺縁面側には、第1の床版継手装置の受部材を、当該辺縁面の長手方向に沿って所定の間隔を隔てて複数備え、橋梁の橋軸方向に沿って延長する辺縁面側には、第2の床版継手装置の受部材を、当該辺縁面の長手方向に沿って所定の間隔を隔てて複数備え、第1の床版継手装置の受部材、及び、第2の床版継手装置の受部材のうち、一方の受部材は、上述に記載の床版継手装置の受部材であり、第1の床版継手装置の受部材、及び、第2の床版継手装置の受部材のうち、他方の受部材は、単一の定着部材、又は、左右方向に間隔を隔てて設けられた複数の定着部材を備えた受部材であり、四角形板状の床版の角縁を境界として隣り合う一方の辺縁面と他方の辺縁面とにおいて、一方の辺縁面における角縁の近傍には前記一方の受部材が設けられるとともに、他方の辺縁面における角縁の近傍には前記他方の受部材が設けられ、他方の受部材の定着部材が、一方の受部材の上下方向に間隔を隔てて設けられた複数の定着部材の間に位置されたことを特徴とする。
また、定着部材と床版内の鉄筋とが接続されたことを特徴とする。
また、定着部材は、左側延長前壁部に接続されて床版にプレストレストを付加する緊張材、及び、右側延長前壁部に接続されて床版にプレストレストを付加する緊張材により構成されたことを特徴とする。
また、定着部材は、左側延長前壁部に接続された床版内の鉄筋、及び、右側延長前壁部に接続された床版内の鉄筋により構成されたことを特徴とする。
本発明に係る床版によれば、隅角部のひび割れ抑制効果、耐久性、及び、耐荷力等が向上する床版を提供できるようになった。
【図面の簡単な説明】
【0006】
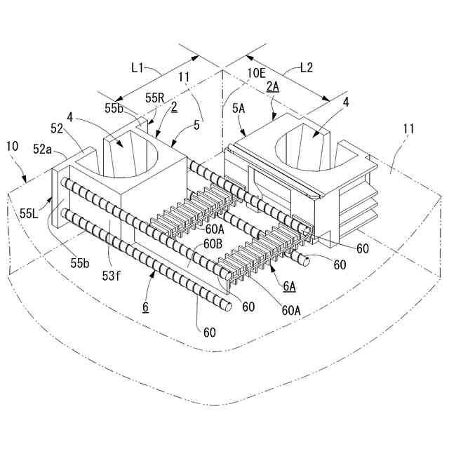
実施形態1に係る床版継手装置1を示す図であり、(a)は床版継手装置1の分解斜視図、(b)は床版継手装置1の斜視図。
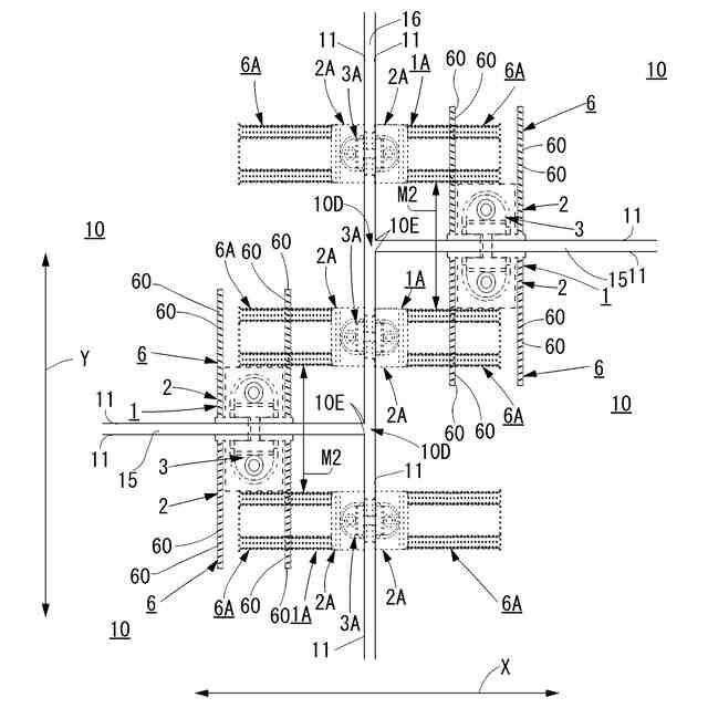
実施形態1,2に係る床版、及び、床版接合構造を示す平面図。
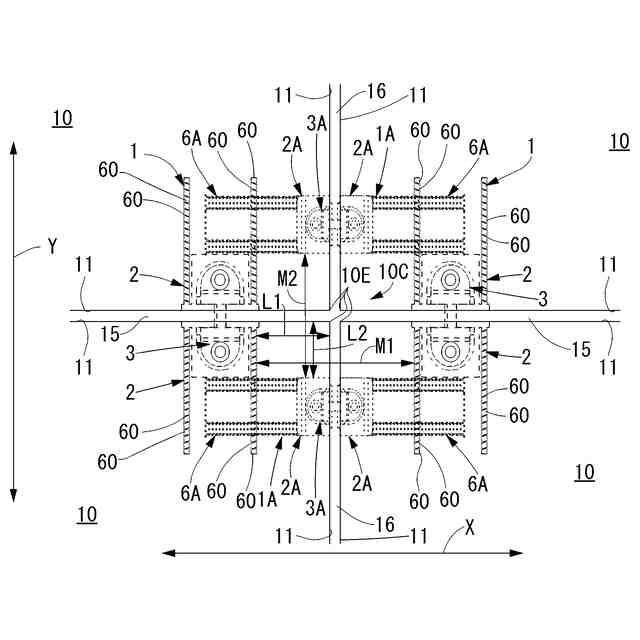
実施形態2に係る床版を用いた床版接合構造における4つの床版10,10…の隅角集合部10Cを示す要部拡大平面図。
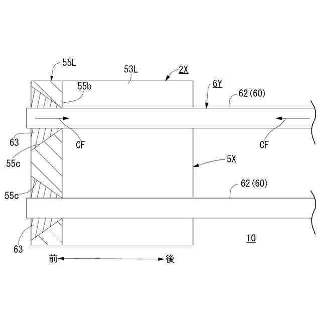
実施形態2に係る床版を示す図であって、床版の角縁近傍での床版継手装置1の定着部材60と床版継手装置1Aの定着部材60Aとの配置関係を示す斜視図。
実施形態2に係る床版に設置される受部材を備えた床版継手装置1Aを示す図であり、(a)は床版継手装置1Aの分解斜視図、(b)は床版継手装置1Aの斜視図。
実施形態3に係る床版接合構造を示す平面図。
実施形態3に係る床版接合構造における2つの床版10,10の隅角集合部10Dを示す要部拡大平面図。
実施形態4に係る床版10を示す要部説明図。
実施形態6に係る床版10を示す要部説明図。
実施形態8に係る床版10を示す要部説明図。
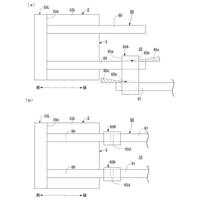
実施形態9に係る床版継手装置1を構成する受部材2を示す斜視図。
実施形態9に係る床版継手装置1を構成する受部材2を示す斜視図。
実施形態9に係る床版継手装置1を構成する受部材2を示す斜視図。
実施形態9に係る床版継手装置1を構成する受部材2を示す図であり、(a)は受部材2の平面図、(b)は受部材2を後方から見た図。
実施形態9に係る床版継手装置1を構成する受部材2を示す図であり、(a)は受部材2の平面図、(b)は受部材2を後方から見た図。
実施形態9に係る床版継手装置1を構成する受部材2を示す図であり、(a)は受部材2の平面図、(b)は受部材2を後方から見た図。
実施形態9に係る床版継手装置1を構成する受部材2を示す図であり、(a)は受部材2の平面図、(b)は受部材2を後方から見た図。
実施形態5乃至実施形態8に係る床版継手装置に使用される受部材2Xを示す斜視図。
実施形態10に係る床版継手装置1を構成する受部材2Yを示す図であり、(a)は受部材2Yの斜視図、(b)は受部材2Yの平面図。
実施形態10に係る床版継手装置1を構成する受部材2Yを用いた床版の製作方法を示す図であり、(a)は型枠に設置された受部材2Yの平面図、(b)は(a)のA-A断面相当図。
【発明を実施するための形態】
【0007】
実施形態1
図1に示すように、実施形態1に係る床版継手装置1は、橋梁の桁(図示せず)の上に隣り合うように設置される一方の床版10と他方の床版10とを接続するための床版継手装置である。
当該床版継手装置1は、一方の床版10に設けられる受部材2と、他方の床版10に設けられる受部材2と、これら各受部材2,2を繋ぐ繋ぎ部材3とを備えて構成される。
即ち、当該床版継手装置1は、例えば、橋梁の桁の上に隣り合うように配置された一方の床版10に設けられたC型金物と呼ばれるような一方の受部材2と、橋梁の桁の上に隣り合うように配置された他方の床版10に設けられたC型金物と呼ばれるような他方の受部材2と、当該一方の受部材2と他方の受部材2とを繋ぐH型金物と呼ばれるような繋ぎ部材3とを備えた構成の床版継手装置1である。
【0008】
受部材2は、係合凹部4を有した被係合部5と、当該被係合部5を床版10のコンクリートに定着させるために当該床版10のコンクリートに定着される定着部6と、被係合部5と定着部6とを連結する連結部とを備える。
【0009】
繋ぎ部材3は、一方の受部材2の係合凹部4に係合する一方の係合部7と、他方の受部材2の係合凹部4に係合する他方の係合部7と、一方の係合部7と他方の係合部7とを繋ぐ連結部8とを備える。
繋ぎ部材3の材質は特に限定されないが、例えば、図外の型枠に鋳鉄を流し込んで一方の係合部7と他方の係合部7と連結部8とが一体成型された鋼製等の一体成型品により構成される。
【0010】
被係合部5は、前壁部52と、前壁部52の左端より後方に延長する左壁部53Lと、前壁部52の右端より後方に延長する右壁部53Rと、前壁部52の下端より後方に延長する底部51と、底部51、左壁部53L、右壁部53Rの後端から延長するように設けられた後壁部54とを備え、これら、前壁部52と左壁部53Lと右壁部53Rと底部51と後壁部54とで囲まれた上部開口の係合凹部4を備えて構成される。
尚、本明細書において、上、下、左、右、前、後は、図1に示した方向と定義して説明する。
(【0011】以降は省略されています)
この特許をJ-PlatPat(特許庁公式サイト)で参照する
関連特許
株式会社熊谷組
床版
11日前
株式会社熊谷組
床版
11日前
株式会社熊谷組
長机
19日前
株式会社熊谷組
吊り治具
18日前
株式会社熊谷組
床構成材
11日前
株式会社熊谷組
木質材料
1か月前
株式会社熊谷組
密度計測方法
19日前
株式会社熊谷組
山留壁用親杭
10日前
株式会社熊谷組
地盤改良方法
13日前
株式会社熊谷組
床版接合構造
21日前
株式会社熊谷組
RI計測装置
19日前
株式会社熊谷組
木材接合部材
18日前
株式会社熊谷組
障害物の検出方法
12日前
株式会社熊谷組
鉄筋コンクリート梁
1か月前
株式会社熊谷組
観測装置の防塵装置
2か月前
株式会社熊谷組
コンクリート打設装置
1か月前
株式会社熊谷組
コンクリート打設装置
1か月前
株式会社熊谷組
アクアポニックスシステム
17日前
株式会社熊谷組
床版継手装置、及び、床版
21日前
株式会社熊谷組
建物構造体の変位抑制装置
10日前
株式会社熊谷組
杭頭処理構造、杭頭処理方法
21日前
株式会社熊谷組
吊り下げ物の防振構造改良方法
21日前
株式会社熊谷組
壁体構築方法およびアンカー部材
21日前
株式会社熊谷組
壁体構築方法および鉄筋連結構造
21日前
株式会社熊谷組
耐火構造、及び、耐火構造の施工方法
11日前
国立大学法人東北大学
重金属の不溶化方法
18日前
岐阜工業株式会社
コンクリート用流量調整弁
17日前
ベルテクス株式会社
コンクリート部材の継手構造
17日前
株式会社熊谷組
傾斜地用コンクリート打設装置へのコンクリート積込方法
1か月前
株式会社熊谷組
トンネル坑内での重量物横移動方法及び重量物横移動装置
1か月前
ベルテクス株式会社
コンクリート部材の取付構造とその成型に用いる抜き型
17日前
株式会社ホルツストラ一級建築士事務所
下地材付き軸材、及び、耐火被覆構造体
6日前
株式会社熊谷組
床版
11日前
株式会社熊谷組
床版
11日前
個人
折り畳み式標識具
18日前
株式会社熊谷組
床版接合構造
21日前
続きを見る
他の特許を見る