TOP
|
特許
|
意匠
|
商標
特許ウォッチ
Twitter
他の特許を見る
公開番号
2025146129
公報種別
公開特許公報(A)
公開日
2025-10-03
出願番号
2024046750
出願日
2024-03-22
発明の名称
アクアポニックスシステム
出願人
株式会社熊谷組
代理人
個人
,
個人
主分類
A01K
63/04 20060101AFI20250926BHJP(農業;林業;畜産;狩猟;捕獲;漁業)
要約
【課題】水の消費を抑制しつつ水質を調整することができるアクアポニックスシステムを提供する。
【解決手段】水生動物を養殖する養殖部と、植物を栽培する栽培部と、養殖部と栽培部との間で水を循環する循環路と、微細藻類を培養する藻類培養部とを備え、栽培部から養殖部の間の循環路から栽培排水を取り出す栽培排水取出部と、栽培排水取出部から取出した栽培排水を藻類培養部に供給する栽培排水供給部と、藻類培養部から水と微細藻類を含む懸濁液を取り出す懸濁液取出部と、懸濁液取出部から取出した懸濁液を固液分離する固液分離部と、固液分離部で固液分離した液相を取り出す液相取出部と、液相取出部と、栽培排水取出部から養殖部の間の循環路とを接続する接続部とを備える、アクアポニックスシステムである。
【選択図】図1
特許請求の範囲
【請求項1】
水生動物を養殖する養殖部と、
植物を栽培する栽培部と、
前記養殖部と前記栽培部との間で水を循環する循環路と、
微細藻類を培養する藻類培養部とを備え、
前記栽培部から前記養殖部の間の循環路から栽培排水を取り出す栽培排水取出部と、
前記栽培排水取出部から取出した栽培排水を前記藻類培養部に供給する栽培排水供給部と、
前記藻類培養部から水と微細藻類を含む懸濁液を取り出す懸濁液取出部と、
前記懸濁液取出部から取出した前記懸濁液を固液分離する固液分離部と、
前記固液分離部で固液分離した液相を取り出す液相取出部と、
前記液相取出部と、前記栽培排水取出部から前記養殖部の間の前記循環路とを接続する接続部とを備える、アクアポニックスシステム。
続きを表示(約 1,500 文字)
【請求項2】
前記藻類培養部の前記懸濁液のpHを調整するpH調整部と、
前記養殖部において水が前記水生動物に適したpH範囲となり、前記栽培部において水が前記植物に適したpH範囲となるように、前記pH調整部によってpHが調整された前記懸濁液から固液分離された液相について、前記液相取出部から取出され前記接続部を介して前記養殖部に供給する液相の供給量を制御する液相供給量制御部とをさらに備える、請求項1に記載のアクアポニックスシステム。
【請求項3】
前記栽培部から前記接続部の間のうち少なくとも1か所において水中の硝酸濃度を測定する第1硝酸濃度測定部と、
前記藻類培養部から前記接続部の間、及び前記接続部から前記養殖部の間のうち少なくとも1か所において水中又は懸濁液中の硝酸濃度を測定する第2硝酸濃度測定部と、
前記第1硝酸濃度測定部と第2硝酸濃度測定部の測定値に基づき、前記養殖部へ供給される循環水の硝酸濃度を所定濃度範囲となるように、前記液相取出部から取出され前記接続部を介して前記養殖部に供給する液相の供給量を制御する液相供給量制御部とをさらに備える、請求項1に記載のアクアポニックスシステム。
【請求項4】
前記藻類培養部の前記懸濁液に二酸化炭素ガスを供給する二酸化炭素ガス供給部と、
前記懸濁液において微細藻類の培養に適する炭酸濃度範囲となること、前記栽培部において植物の成長に適する範囲で循環水にミネラルが可溶すること、又はこれらの組み合わせとなるように、前記二酸化炭素ガス供給部から前記懸濁液又は前記栽培部の循環水に供給される二酸化炭素ガスの供給量を制御する二酸化炭素ガス供給量制御部と、
前記懸濁液又は前記栽培部の循環水への二酸化炭素ガスの供給に伴う前記懸濁液のpHの変動に基づいて、前記養殖部において水が前記水生動物に適したpH範囲となり、前記栽培部において水が前記植物に適したpH範囲となるように、前記懸濁液から固液分離された液相について、前記液相取出部から排出され前記接続部を介して前記養殖部に供給する液相の供給量を制御する液相供給量制御部とをさらに備える、請求項1に記載のアクアポニックスシステム。
【請求項5】
前記栽培部から前記養殖部との間で、循環水の循環方向の前記栽培排水取出部の下流側に備えられ、前記液相取出部から排出される液相が前記接続部を介して供給される水質調整部であって、前記水質調整部はオーバーフローした循環水を前記養殖部に供給する、請求項1に記載のアクアポニックスシステム。
【請求項6】
微細藻類を培養する第2藻類培養部と、
前記養殖部から前記栽培部の間の前記循環路から養殖排水を取り出す養殖排水取出部と、
前記養殖排水取出部から取出した養殖排水を前記第2藻類培養部に供給する養殖排水供給部と、
前記第2藻類培養部から水と微細藻類を含む懸濁液を取り出す第2懸濁液取出部と、
前記第2懸濁液取出部から取出した前記懸濁液を固液分離する第2固液分離部と、
前記第2固液分離部で固液分離した液相を取出す第2液相取出部と、
前記第2液相取出部と、前記養殖排水取出部から前記栽培部の間の前記循環路とを接続する第2接続部とを備える、請求項1に記載のアクアポニックスシステム。
【請求項7】
前記微細藻類は、前記藻類培養部の水に含まれる無機態窒素を同化し得る微細藻類である、請求項1~6のいずれか一項に記載のアクアポニックスシステム。
発明の詳細な説明
【技術分野】
【0001】
本発明は、アクアポニックスシステムに関する。
続きを表示(約 1,900 文字)
【背景技術】
【0002】
アクアポニックスシステムは、一般的に水産養殖と水耕栽培を同一システムで行うものである。水産養殖部と水耕栽培部の間で水を循環することで循環式のアクアポニックスシステムが提供される。循環式のアクアポニックスシステムでは、水産養殖で生じる排泄物、残餌等の分解物であるアンモニア、亜硝酸、硝酸といった無機態窒素を含んだ水を水耕栽培の栄養分として供給し、さらに農産物の栽培により吸収され無機態窒素濃度が減少した水を水産養殖用の水槽に戻すという循環を行う。このシステムは水の循環を伴うため、少量の水で水産物と農産物を得ることができるとされている。
【0003】
特許文献1には、養殖槽と水耕栽培部との間の流路に生物濾過装置を設けずに、養殖槽から排出される水を直接水耕栽培部に流入するように接続し、水耕栽培部の循環水の流れる方向の下流に循環水中の有機窒素を硝化菌及び/又は脱窒菌で分解して浄化する生物濾過装置を設けるアクアポニックスシステムが開示される。
【先行技術文献】
【特許文献】
【0004】
特許第7369412号公報
【発明の概要】
【発明が解決しようとする課題】
【0005】
アクアポニックスシステムにおいて、水産養殖で生じる無機態窒素を水耕栽培で農作物が全て吸収することは難しく、水耕栽培から排出される水は残留した硝酸及び根から出る有機酸等の酸性成分の影響で低pHとなってしまい、水産物の養殖には適さないことがある。そのため、pH調整剤の添加、栽培排水の希釈等を行う必要があり、水産養殖用の水槽での水質低下、希釈のための大量の水の消費等の事態が生じ得る。
【0006】
特許文献1には、上記したシステムを用いて、生物濾過装置を小さくし、農作物の窒素源を増やし、逆洗洗浄等の作業を減らして新たな水の供給を最低限に抑えることが開示される。また、特許文献1には、物理濾過装置で発生した汚泥を微細藻類の栄養分として利用することが開示される。特許文献1に開示の技術では、養殖槽から水耕栽培の間に調整槽を設けてpH及び水温を調整することが記載され、水耕栽培から養殖槽の間に生物濾過装置を設けて各種イオンを吸収しpHを中性程度にすることが記載される。しかし、システム内で、養殖槽の直前で生物濾過装置を使用すると、循環水の浄化とともに、水耕栽培で生じた水産物への有用な成分が減少してしまうことがあり得る。また、微細藻類は汚泥の除去のため、あるいは養殖槽への餌として用いられるのみで、水質の調整には用いられていない。このように、養殖部及び栽培部の全体を通して水質を適正に調整することは難しい。
【0007】
本発明は、水の消費を抑制しつつ水質を調整することができるアクアポニックスシステムを提供することを目的の一つとする。
【課題を解決するための手段】
【0008】
本発明のいくつかの実施形態を以下に例示する。
【0009】
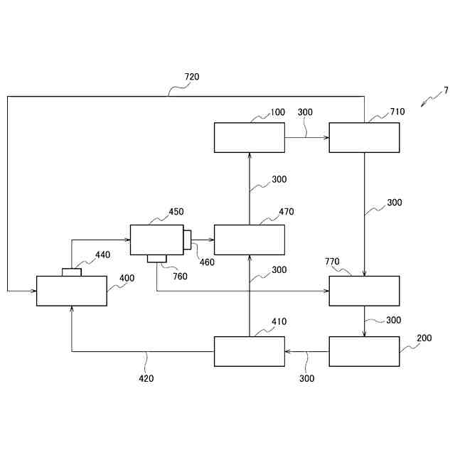
[1]水生動物を養殖する養殖部100と、植物を栽培する栽培部200と、前記養殖部100と前記栽培部200との間で水を循環する循環路300と、微細藻類を培養する藻類培養部400とを備え、前記栽培部200から前記養殖部100の間の前記循環路300から栽培排水を取り出す栽培排水取出部410と、前記栽培排水取出部410から取出した栽培排水を前記藻類培養部400に供給する栽培排水供給部420と、前記藻類培養部400から水と微細藻類を含む懸濁液を取り出す懸濁液取出部440と、前記懸濁液取出部440から取出した前記懸濁液を固液分離する固液分離部450と、前記固液分離部450で固液分離した液相を取り出す液相取出部460と、前記液相取出部460と、前記栽培排水取出部410から前記養殖部100の間の前記循環路300とを接続する接続部470とを備える、アクアポニックスシステム。
【0010】
[2]前記藻類培養部400の懸濁液のpHを調整するpH調整部480と、前記養殖部100において水が前記水生動物に適したpH範囲となり、前記栽培部200において水が前記植物に適したpH範囲となるように、前記pH調整部480によってpHが調整された前記懸濁液から固液分離された液相について、前記液相取出部460から取出され前記接続部470を介して前記養殖部100に供給する液相の供給量を制御する液相供給量制御部475とをさらに備える、[1]に記載のアクアポニックスシステム。
(【0011】以降は省略されています)
この特許をJ-PlatPat(特許庁公式サイト)で参照する
関連特許
株式会社熊谷組
長机
5日前
株式会社熊谷組
ノズル
2か月前
株式会社熊谷組
木質材料
17日前
株式会社熊谷組
吊り治具
4日前
株式会社熊谷組
RI計測装置
5日前
株式会社熊谷組
床版接合構造
7日前
株式会社熊谷組
計測システム
5か月前
株式会社熊谷組
密度計測方法
5日前
株式会社熊谷組
木材接合部材
4日前
株式会社熊谷組
天井板撤去装置
5か月前
株式会社熊谷組
濁水処理システム
4か月前
株式会社熊谷組
観測装置の防塵装置
1か月前
株式会社熊谷組
観測装置の防塵装置
1か月前
株式会社熊谷組
鉄筋コンクリート梁
26日前
株式会社熊谷組
コンクリート打設装置
18日前
株式会社熊谷組
コンクリート打設装置
18日前
株式会社熊谷組
手摺子及び格子状構造物
5か月前
株式会社熊谷組
床版、及び、床版接合方法
4か月前
株式会社熊谷組
床版継手装置、及び、床版
7日前
株式会社熊谷組
アクアポニックスシステム
3日前
株式会社熊谷組
杭頭処理構造、杭頭処理方法
7日前
株式会社熊谷組
吊り下げ物の防振構造改良方法
7日前
株式会社熊谷組
壁体構築方法および鉄筋連結構造
7日前
株式会社熊谷組
壁体構築方法およびアンカー部材
7日前
株式会社熊谷組
骨材管理システムおよび骨材管理方法
2か月前
国立大学法人東北大学
重金属の不溶化方法
4日前
岐阜工業株式会社
コンクリート用流量調整弁
3日前
ベルテクス株式会社
コンクリート部材の継手構造
3日前
株式会社熊谷組
床版、及び、床版製造方法、並びに、床版接合構造
4か月前
株式会社熊谷組
傾斜地用コンクリート打設装置へのコンクリート積込方法
18日前
株式会社熊谷組
トンネル坑内での重量物横移動方法及び重量物横移動装置
25日前
ベルテクス株式会社
コンクリート部材の取付構造とその成型に用いる抜き型
3日前
個人
虫捕り器
7日前
個人
巻糸係止具
28日前
個人
刈込鋏保持具
3日前
個人
後付巻降ろし器
7日前
続きを見る
他の特許を見る