TOP
|
特許
|
意匠
|
商標
特許ウォッチ
Twitter
他の特許を見る
公開番号
2025139820
公報種別
公開特許公報(A)
公開日
2025-09-29
出願番号
2024038865
出願日
2024-03-13
発明の名称
壁体構築方法および鉄筋連結構造
出願人
株式会社熊谷組
代理人
個人
,
個人
主分類
E04B
1/35 20060101AFI20250919BHJP(建築物)
要約
【課題】容易かつ適正に壁縦筋を基礎縦筋の上部に連結することができる壁体構築方法を提供する。
【解決手段】
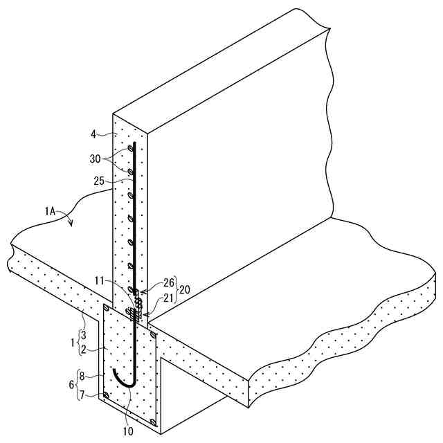
鉄筋コンクリート造の床構造体1の上面1Aに腰壁4を構築する壁体構築方法は、床構造体1を構築するための第1型枠5に配置された鉄筋構造体6に対して基礎縦筋10を立設させ、床構造体1の上面1Aからの基礎縦筋10の上部の突出量Pをナット13の厚さ程度にする配筋工程と、第1型枠5にコンクリートを打設して床構造体1を構築する第1打設工程と、構築された床構造体1の上面1Aから突出した基礎縦筋10の上部に壁縦筋25を連結し、壁縦筋25を床構造体1上に立設させる連結工程と、壁縦筋25を配置した第2型枠31にコンクリートを打設して腰壁4を構築する第2打設工程と、を備えている。
【選択図】図3
特許請求の範囲
【請求項1】
鉄筋コンクリート造の床構造体の上面に壁体を構築する壁体構築方法であって、
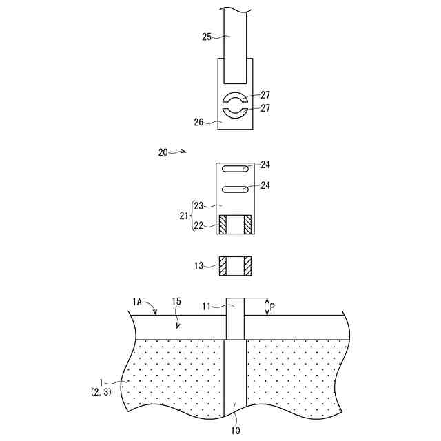
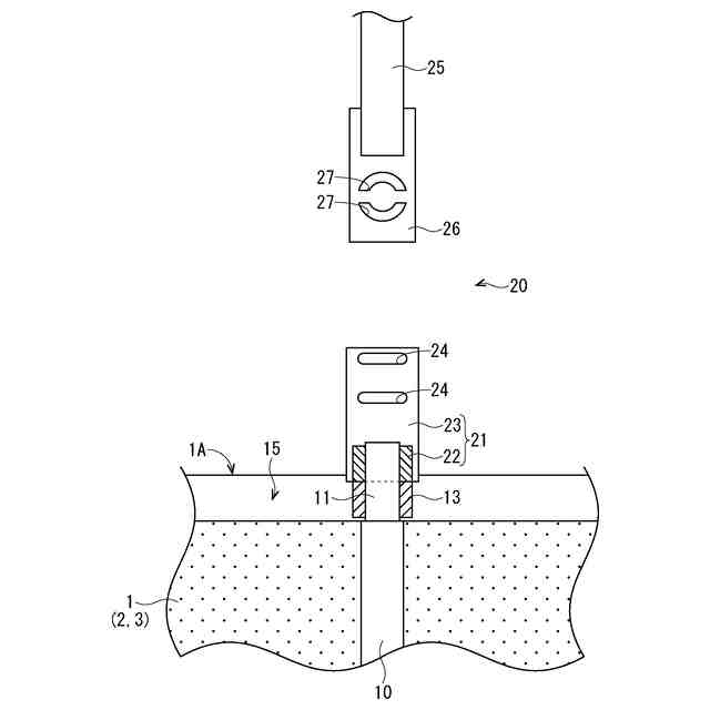
前記床構造体を構築するための第1型枠に配置された鉄筋構造体に対して基礎縦筋を立設させ、前記床構造体の上面からの前記基礎縦筋の上部の突出量をナットの厚さ程度にする配筋工程と、
前記第1型枠にコンクリートを打設して前記床構造体を構築する第1打設工程と、
構築された前記床構造体の上面から突出した前記基礎縦筋の上部に壁縦筋を連結し、前記壁縦筋を前記床構造体上に立設させる連結工程と、
前記壁縦筋を配置した第2型枠にコンクリートを打設して前記壁体を構築する第2打設工程と、を備えていることを特徴とする壁体構築方法。
続きを表示(約 710 文字)
【請求項2】
前記配筋工程では、プレートが前記鉄筋構造体上に配置され、前記基礎縦筋の上部が前記プレートを貫通し、前記ナットが前記基礎縦筋の上部に螺合して前記鉄筋構造体との間に前記プレートを挟み込み、
前記第1打設工程では、前記床構造体の上面を前記プレートの上面に一致させるようにコンクリートが打設され、
前記連結工程では、前記ナットと前記プレートとが取り除かれることで、前記床構造体の上面に連結凹部が凹設されることを特徴とする請求項1に記載の壁体構築方法。
【請求項3】
雌ネジ部から上方に延設された第1羽子板を含む連結部材と、
前記壁縦筋の下部に固定された第2羽子板と、を有し、
前記第1羽子板と前記第2羽子板の何れか一方には、円弧状の調整穴が開口し、
前記連結工程では、前記連結部材の前記雌ネジ部が前記基礎縦筋の上部に螺合し、前記第1羽子板と前記第2羽子板とが厚さ方向に積層されて前記調整穴に移動可能に差し込まれたピンを介して連結されることを特徴とする請求項1または2に記載の壁体構築方法。
【請求項4】
第1鉄筋の端部に螺合する雌ネジ部と、前記雌ネジ部から前記第1鉄筋とは反対側に延設された第1羽子板と、を含む連結部材と、
第2鉄筋の端部に固定された第2羽子板と、を備えている鉄筋連結構造であって、
前記第1羽子板と前記第2羽子板の何れか一方には、円弧状の調整穴が開口し、
前記第1羽子板と前記第2羽子板とは、厚さ方向に積層され、前記調整穴に移動可能に差し込まれたピンを介して連結されることを特徴とする鉄筋連結構造。
発明の詳細な説明
【技術分野】
【0001】
本発明は、壁体構築方法および鉄筋連結構造に関する。
続きを表示(約 1,800 文字)
【背景技術】
【0002】
鉄筋コンクリート造の構造物において、スラブの上面にコンクリートを打ち継いで壁等の立ち上がり部分を構築する場合、差し筋がスラブの上面から大きく突出するようにスラブに埋設されていた。差し筋の突出量は立ち上がり部分の高さに相当する長さにされ、差し筋の突出部分がコンクリートに埋設されることで、立ち上がり部分が構築されていた。
【0003】
しかしながら、立ち上がり部分の構築前に、資材の搬入等で作業者や重機がスラブ上を往来することがあるため、作業者等の往来の妨げにならないように、差し筋の突出部分が根本付近(スラブの上面付近)で折り曲げられることがあった。立ち上がり部分を構築する際(コンクリートを打設する際)、折り曲げた差し筋の突出部分が曲げ戻されていた。差し筋の折り曲げや曲げ戻しによって差し筋の構造性能が低下するため、例えば、曲げ戻しに伴って差し筋が破断する虞もあった。
【0004】
上記のような問題を解決するため、差し筋に代えて、雌ネジを有するスリーブにネジ節鉄筋をねじ込んだ鉄筋付きの継手をスラブに埋設する技術がある(特許文献1)。この技術では、スリーブが完全にスラブに埋め込まれており、スラブの上面がスリーブの上端面と一致している。スリーブにネジ節鉄筋がねじ込まれ、ネジ節鉄筋を配筋した型枠にコンクリートを打設することで、柱(立ち上がり部分)が構築されていた。
【先行技術文献】
【特許文献】
【0005】
特開2021-156036号公報
【発明の概要】
【発明が解決しようとする課題】
【0006】
しかしながら、上記した技術では、スリーブが完全にスラブに埋設されているため、スリーブ内に埃やコンクリート等が入り込み易く、入り込んだ埃等を除去し難いという問題があった。また、スリーブ内に入り込んだ埃等が原因で、ネジ節鉄筋をスリーブに螺合させることができなくなる場合もあった。さらに、スラブを構築する際、コンクリートの圧力や締固めに使用するバイブレータの振動によってスリーブが傾いた姿勢で埋設されることがあった。すると、スリーブに螺合させたネジ節鉄筋も傾くことになり、ネジ節鉄筋を略鉛直姿勢にするために、根本付近(スリーブの上端面付近)で折り曲げなければならず、ネジ節鉄筋の機械的性質の性能の低下を防ぐことができない虞もあった。
【0007】
本発明は、上記事情を考慮し、容易かつ適正に壁縦筋を基礎縦筋の上部に連結することができる壁体構築方法および鉄筋連結構造を提供する。
【課題を解決するための手段】
【0008】
本発明は、鉄筋コンクリート造の床構造体の上面に壁体を構築する壁体構築方法であって、前記床構造体を構築するための第1型枠に配置された鉄筋構造体に対して基礎縦筋を立設させ、前記床構造体の上面からの前記基礎縦筋の上部の突出量をナットの厚さ程度にする配筋工程と、前記第1型枠にコンクリートを打設して前記床構造体を構築する第1打設工程と、構築された前記床構造体の上面から突出した前記基礎縦筋の上部に壁縦筋を連結し、前記壁縦筋を前記床構造体上に立設させる連結工程と、前記壁縦筋を配置した第2型枠にコンクリートを打設して前記壁体を構築する第2打設工程と、を備えている。
【0009】
この場合、前記配筋工程では、プレートが前記鉄筋構造体上に配置され、前記基礎縦筋の上部が前記プレートを貫通し、前記ナットが前記基礎縦筋の上部に螺合して前記鉄筋構造体との間に前記プレートを挟み込み、前記第1打設工程では、前記床構造体の上面を前記プレートの上面に一致させるようにコンクリートが打設され、前記連結工程では、前記ナットと前記プレートとが取り除かれることで、前記床構造体の上面に連結凹部が凹設されるとよい。
【0010】
この場合、雌ネジ部から上方に延設された第1羽子板を含む連結部材と、前記壁縦筋の下部に固定された第2羽子板と、を有し、前記第1羽子板と前記第2羽子板の何れか一方には、円弧状の調整穴が開口し、前記連結工程では、前記連結部材の前記雌ネジ部が前記基礎縦筋の上部に螺合し、前記第1羽子板と前記第2羽子板とが厚さ方向に積層されて前記調整穴に移動可能に差し込まれたピンを介して連結されるとよい。
(【0011】以降は省略されています)
この特許をJ-PlatPat(特許庁公式サイト)で参照する
関連特許
株式会社熊谷組
床版
18日前
株式会社熊谷組
床版
18日前
株式会社熊谷組
長机
26日前
株式会社熊谷組
床構成材
18日前
株式会社熊谷組
木質材料
1か月前
株式会社熊谷組
吊り治具
25日前
株式会社熊谷組
密度計測方法
26日前
株式会社熊谷組
木材接合部材
25日前
株式会社熊谷組
山留壁用親杭
17日前
株式会社熊谷組
地盤改良方法
20日前
株式会社熊谷組
床版接合構造
28日前
株式会社熊谷組
RI計測装置
26日前
株式会社熊谷組
障害物の検出方法
19日前
株式会社熊谷組
観測装置の防塵装置
2か月前
株式会社熊谷組
鉄筋コンクリート梁
1か月前
株式会社熊谷組
観測装置の防塵装置
2か月前
株式会社熊谷組
コンクリート打設装置
1か月前
株式会社熊谷組
コンクリート打設装置
1か月前
株式会社熊谷組
建物構造体の変位抑制装置
17日前
株式会社熊谷組
アクアポニックスシステム
24日前
株式会社熊谷組
床版継手装置、及び、床版
28日前
株式会社熊谷組
杭頭処理構造、杭頭処理方法
28日前
株式会社熊谷組
吊り下げ物の防振構造改良方法
28日前
株式会社熊谷組
壁体構築方法および鉄筋連結構造
28日前
株式会社熊谷組
壁体構築方法およびアンカー部材
28日前
株式会社熊谷組
耐火構造、及び、耐火構造の施工方法
18日前
国立大学法人東北大学
重金属の不溶化方法
25日前
岐阜工業株式会社
コンクリート用流量調整弁
24日前
ベルテクス株式会社
コンクリート部材の継手構造
24日前
株式会社熊谷組
傾斜地用コンクリート打設装置へのコンクリート積込方法
1か月前
株式会社熊谷組
トンネル坑内での重量物横移動方法及び重量物横移動装置
1か月前
ベルテクス株式会社
コンクリート部材の取付構造とその成型に用いる抜き型
24日前
株式会社ホルツストラ一級建築士事務所
下地材付き軸材、及び、耐火被覆構造体
13日前
個人
接合構造
21日前
個人
タッチミー
20日前
個人
屋台
1か月前
続きを見る
他の特許を見る