TOP
|
特許
|
意匠
|
商標
特許ウォッチ
Twitter
他の特許を見る
公開番号
2025140969
公報種別
公開特許公報(A)
公開日
2025-09-29
出願番号
2024040645
出願日
2024-03-15
発明の名称
杭頭処理構造、杭頭処理方法
出願人
株式会社熊谷組
代理人
個人
,
個人
主分類
E02D
5/34 20060101AFI20250919BHJP(水工;基礎;土砂の移送)
要約
【課題】安価で作業準備の負担が軽く、精度よく杭頭処理を実施する。
【解決手段】杭頭処理構造(1)は、コンクリート杭(5)から余盛コンクリート(6)を除去するための構図である。杭頭処理構造には、コンクリート杭の杭穴(9)に設置された筒状の鉄筋籠(11)と、鉄筋籠の所定高さに縁切り面(32、42)を形成する縁切り材(31、41)と、が設けられている。縁切り材はコンクリートを通す開口を除いて鉄筋籠を覆い、鉄筋籠から縁切り材が持ち上げ可能に形成されている。
【選択図】図1
特許請求の範囲
【請求項1】
コンクリート杭から余盛コンクリートを除去する杭頭処理構造であって、
前記コンクリート杭の杭穴に設置された筒状の鉄筋籠と、
前記鉄筋籠の所定高さに縁切り面を形成する縁切り材と、を備え、
前記縁切り材はコンクリートを通す開口を除いて前記鉄筋籠を覆い、
前記鉄筋籠から前記縁切り材が持ち上げ可能に形成されていることを特徴とする杭頭処理構造。
続きを表示(約 1,100 文字)
【請求項2】
前記縁切り材には少なくとも中央部分に開口が形成されていることを特徴とする請求項1に記載の杭頭処理構造。
【請求項3】
平面視にて前記縁切り材が前記鉄筋籠の50%以上を覆っていることを特徴とする請求項1又は請求項2に記載の杭頭処理構造。
【請求項4】
前記縁切り材は前記鉄筋籠の複数の高さに縁切り面を形成する複数の縁切り材であり、
下段の縁切り材よりも上段の縁切り材が広い範囲で前記鉄筋籠を覆っていることを特徴とする請求項1又は請求項2に記載の杭頭処理構造。
【請求項5】
前記鉄筋籠の上端部に固定された補強用の段取り筋を備え、
前記段取り筋に吊り上げ鉄筋を介して前記縁切り材が支持され、
前記段取り筋から前記吊り上げ鉄筋が切断されることで、当該吊り上げ鉄筋によって前記鉄筋籠から前記縁切り材が持ち上げ可能に形成されていることを特徴とする請求項1又は請求項2に記載の杭頭処理構造。
【請求項6】
前記鉄筋籠の杭主筋が前記縁切り材よりも上方に突き出しており、
前記杭主筋の突出部分は縁切りカバーで覆われていることを特徴とする請求項1又は請求項2に記載の杭頭処理構造。
【請求項7】
前記縁切り材は、格子状に鉄筋が組まれた鉄筋格子と、前記鉄筋格子の開口を塞ぐ複数の閉塞板と、を有していることを特徴とする請求項1又は請求項2に記載の杭頭処理構造。
【請求項8】
前記複数の閉塞板は前記鉄筋格子の中央部分を除いて千鳥状に設置されていることを特徴とする請求項7に記載の杭頭処理構造。
【請求項9】
コンクリート杭から余盛コンクリートを除去する杭頭処理方法であって、
前記コンクリート杭の杭穴に対して筒状の鉄筋籠を設置する工程と、
前記鉄筋籠の所定高さで縁切り材を支持して縁切り面を形成する工程と、
前記杭穴にコンクリートを打設して前記コンクリート杭を形成する工程と、
前記縁切り材を持ち上げることで前記余盛コンクリートを除去する工程と、を有し、
前記コンクリート杭を形成する工程では、前記縁切り材がコンクリートを通す開口を除いて前記鉄筋籠を覆い、
前記余盛コンクリートを除去する工程では、前記鉄筋籠から前記縁切り材が持ち上げられて前記コンクリート杭に縁切り面に沿った亀裂を生じさせることを特徴とする杭頭処理方法。
【請求項10】
前記余盛コンクリートを除去する工程では、前記縁切り材の昇降を繰り返しながら当該縁切り材が持ち上げられることを特徴とする請求項9に記載の杭頭処理方法。
発明の詳細な説明
【技術分野】
【0001】
本発明は、杭頭処理構造、杭頭処理方法に関する。
続きを表示(約 1,800 文字)
【背景技術】
【0002】
場所打ちコンクリート杭は、鉄筋籠が設置された縦穴にコンクリートが打ち込まれることで形成される。コンクリート杭の杭頭には土砂等の不純物が混在して強度低下を招くおそれがあり、コンクリート杭を所定高さよりも高く形成した後に杭頭処理によって杭頭の余盛コンクリートが所定高さで除去される。ハンドブレイカー等を用いた杭頭処理では騒音、振動、粉塵等によって作業環境が悪化する。このため、杭頭処理として、静的破砕材の膨張作用や水の凍結時の膨張作用を利用して、余盛コンクリートを水平に破断して撤去する方法が提案されている(例えば、特許文献1、2参照)。
【先行技術文献】
【特許文献】
【0003】
特開2014-095254号公報
特開2016-204827号公報
【発明の概要】
【発明が解決しようとする課題】
【0004】
しかしながら、特許文献1、2の杭頭処理では、静的破砕材等が必要になってコストが増加すると共に作業準備の負担が大きい。また、静的破砕材等の設置位置のズレによってはコンクリート杭の杭本体に損傷を与えるおそれがある。
【0005】
本発明はかかる点に鑑みてなされたものであり、安価で作業準備の負担が軽く、精度よく杭頭処理を実施することができる杭頭処理構造及び杭頭処理方法を提供することを目的とする。
【課題を解決するための手段】
【0006】
本発明の一態様の杭頭処理構造は、コンクリート杭から余盛コンクリートを除去する杭頭処理構造であって、前記コンクリート杭の杭穴に設置された筒状の鉄筋籠と、前記鉄筋籠の所定高さに縁切り面を形成する縁切り材と、を備え、前記縁切り材はコンクリートを通す開口を除いて前記鉄筋籠を覆い、前記鉄筋籠から前記縁切り材が持ち上げ可能に形成されている。
【発明の効果】
【0007】
本発明の一態様の杭頭処理構造は、杭穴にコンクリートが打設されると、良質コンクリートによって杭穴内の不純物が持ち上げられる。縁切り材の開口を通って所定高さよりも高い位置までコンクリートが打設されて、コンクリート杭の杭頭に不純物を含んだ余盛コンクリートが形成される。コンクリート杭の硬化後に鉄筋籠から縁切り材が持ち上げられると、コンクリート杭に縁切り面に沿った亀裂が生じてコンクリート杭から余盛コンクリートが除去される。ハンドブレイカー等が不要であるため、騒音、振動、粉塵等によって作業環境が悪化することがなく、静的破砕材等が不要であるため、コストを低減できると共に作業準備の負担を軽減できる。さらに、静的破砕材よりも精度よく縁切りできるため、コンクリート杭の杭本体に損傷を与え難い。
【図面の簡単な説明】
【0008】
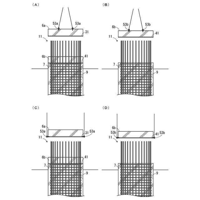
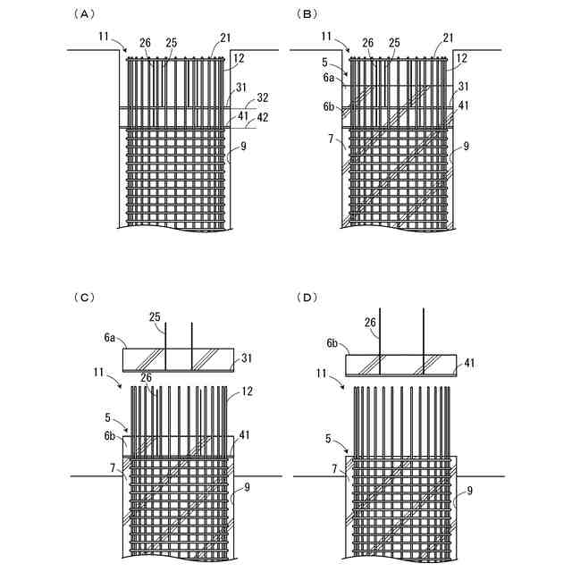
本実施形態の杭頭処理構造の側面図である。
本実施形態の段取り筋の上面図である。
本実施形態の上段縁切り材の上面図である。
本実施形態の下段縁切り材の上面図である。
本実施形態の杭頭処理の説明図である。
変形例の杭頭処理の説明図である。
【発明を実施するための形態】
【0009】
以下、本実施形態の杭頭処理構造について説明する。図1は本実施形態の杭頭処理構造の側面図である。図2は本実施形態の段取り筋の上面図である。図3は本実施形態の上段縁切り材の上面図である。図4は本実施形態の下段縁切り材の上面図である。
【0010】
図1に示すように、杭頭処理構造1は、コンクリート杭5から余盛コンクリート6を除去するための構造である。杭頭処理構造1は、コンクリートの打設前にコンクリート杭5の杭穴に設置された筒状の鉄筋籠11を上段縁切り材31及び下段縁切り材41で水平に仕切ることで形成されている。鉄筋籠11は、杭穴の内周に沿って環状に並んだ複数の杭主筋12と杭穴の高さ方向に並んだ複数のフープ筋13を接合して筒状に形成されている。複数の杭主筋12は下段縁切り材41よりも上方に突き出しているが、下段縁切り材41の上方では複数のフープ筋13が高さ方向に並んでいない。
(【0011】以降は省略されています)
この特許をJ-PlatPat(特許庁公式サイト)で参照する
関連特許
株式会社熊谷組
床版
22日前
株式会社熊谷組
床版
22日前
株式会社熊谷組
長机
1か月前
株式会社熊谷組
床構成材
22日前
株式会社熊谷組
木質材料
1か月前
株式会社熊谷組
吊り治具
29日前
株式会社熊谷組
密度計測方法
1か月前
株式会社熊谷組
木材接合部材
29日前
株式会社熊谷組
山留壁用親杭
21日前
株式会社熊谷組
地盤改良方法
24日前
株式会社熊谷組
床版接合構造
1か月前
株式会社熊谷組
RI計測装置
1か月前
株式会社熊谷組
障害物の検出方法
23日前
株式会社熊谷組
観測装置の防塵装置
2か月前
株式会社熊谷組
鉄筋コンクリート梁
1か月前
株式会社熊谷組
観測装置の防塵装置
2か月前
株式会社熊谷組
コンクリート打設装置
1か月前
株式会社熊谷組
コンクリート打設装置
1か月前
株式会社熊谷組
建物構造体の変位抑制装置
21日前
株式会社熊谷組
アクアポニックスシステム
28日前
株式会社熊谷組
床版継手装置、及び、床版
1か月前
株式会社熊谷組
杭頭処理構造、杭頭処理方法
1か月前
株式会社熊谷組
吊り下げ物の防振構造改良方法
1か月前
株式会社熊谷組
壁体構築方法および鉄筋連結構造
1か月前
株式会社熊谷組
壁体構築方法およびアンカー部材
1か月前
株式会社熊谷組
耐火構造、及び、耐火構造の施工方法
22日前
国立大学法人東北大学
重金属の不溶化方法
29日前
岐阜工業株式会社
コンクリート用流量調整弁
28日前
ベルテクス株式会社
コンクリート部材の継手構造
28日前
株式会社熊谷組
傾斜地用コンクリート打設装置へのコンクリート積込方法
1か月前
株式会社熊谷組
トンネル坑内での重量物横移動方法及び重量物横移動装置
1か月前
ベルテクス株式会社
コンクリート部材の取付構造とその成型に用いる抜き型
28日前
株式会社ホルツストラ一級建築士事務所
下地材付き軸材、及び、耐火被覆構造体
17日前
個人
バケット
1日前
個人
建物の不同沈下の修正方法
8日前
鈴健興業株式会社
敷板部材
28日前
続きを見る
他の特許を見る