TOP
|
特許
|
意匠
|
商標
特許ウォッチ
Twitter
他の特許を見る
10個以上の画像は省略されています。
公開番号
2025156090
公報種別
公開特許公報(A)
公開日
2025-10-14
出願番号
2025049268
出願日
2025-03-25
発明の名称
下地材付き軸材、及び、耐火被覆構造体
出願人
株式会社ホルツストラ一級建築士事務所
,
株式会社熊谷組
代理人
個人
主分類
E04B
1/94 20060101AFI20251002BHJP(建築物)
要約
【課題】耐火被覆構造体を施工するにあたって、施工性に優れた下地材付き軸材及び耐火被覆構造体を提供することを目的とする。
【解決手段】本発明に係る下地材付き軸材9は、金属製の軸材(鋼管10)と、軸材の表面に設けられた下地材とを備えた下地材付き軸材であって、下地材11は、軸材の表面側において軸材の材軸を中心とした周方向に延長するように設けられたことを特徴とする。また、本発明に係る耐火被覆構造体1は、下地材付き軸材9と、軸材の表面(鋼管10の表面10f)に設けられた耐火材4と、軸材の表面及び耐火材4を覆うように下地材11に取付けられたボード材2とを備えたことを特徴とする。
【選択図】図2
特許請求の範囲
【請求項1】
金属製の軸材と、軸材の表面に設けられた下地材とを備えた下地材付き軸材であって、
下地材は、軸材の表面側において軸材の材軸を中心とした周方向に延長するように設けられたことを特徴とする下地材付き軸材。
続きを表示(約 910 文字)
【請求項2】
軸材は、柱として使用される鋼管であり、
下地材は、柱の外周に沿った方向に延長するように設けられたことを特徴とする請求項1に記載の下地材付き軸材。
【請求項3】
軸材は、梁として使用されるH形鋼であり、
下地材は、梁の側部を構成する一方のフランジの幅方向端面と他方のフランジの幅方向端面とに亘って延長するように設けられたとともに、梁の下面を構成する他方のフランジの下面において梁の幅方向に延長するように設けられたことを特徴とする請求項1に記載の下地材付き軸材。
【請求項4】
軸材は、柱又は梁として使用されるH形鋼であり、
下地材は、柱又は梁の外周に沿った方向に延長するように設けられたことを特徴とする請求項1に記載の下地材付き軸材。
【請求項5】
下地材は、軸材の表面に取付けられた形鋼により形成されたことを特徴とする請求項1に記載の下地材付き軸材。
【請求項6】
請求項1乃至請求項5のいずれか一項に記載の下地材付き軸材と、軸材の表面に設けられた耐火材と、軸材の表面及び耐火材を覆うように下地材に取付けられたボード材とを備えたことを特徴とする耐火被覆構造体。
【請求項7】
軸材は、柱として使用される鋼管や、柱又は梁として使用されるH形鋼であり、
耐火材は、柱又は梁の表面の外周に巻き付けられるようにして設けられたことを特徴とする請求項6に記載の耐火被覆構造体。
【請求項8】
軸材は、梁として使用されるH形鋼であり、
耐火材は、梁の材軸を中心とした周方向に延長して梁の一方の側部と梁の下面と梁の他方の側部とを覆うように設けられたことを特徴とする請求項6に記載の耐火被覆構造体。
【請求項9】
軸材の表面と下地材との間に耐火材が設けられたことを特徴とする請求項6に記載の耐火被覆構造体。
【請求項10】
ボード材は、木質板、又は、石こうボード、又は、ケイ酸カルシウム板であることを特徴とする請求項6に記載の耐火被覆構造体。
発明の詳細な説明
【技術分野】
【0001】
本発明は、軸材の表面にボード材を取付けるための下地材を備えた下地材付き軸材、及び、当該下地材付き軸材を用いて構成される耐火被覆構造体に関する。
続きを表示(約 4,200 文字)
【背景技術】
【0002】
鋼管(軸材)の表面にアングル等の取付部材13(下地材)が取付けられた構成の下地材付き鋼管(下地材付き軸材)、及び、当該下地材付き鋼管の下地材にビスなどの取付材25により木質板部21(ボード材)が取付けられ、木質板部21の内面には耐火材23が設けられた構成の耐火構造10(耐火被覆構造体)が知られている(特許文献1参照)。
【先行技術文献】
【特許文献】
【0003】
特許第7318837号公報
【発明の概要】
【発明が解決しようとする課題】
【0004】
特許文献1に開示された耐火被覆構造体の耐火材の代わりに、下地材付き鋼管の表面に耐火材を設けた後に、下地材付き鋼管の下地材に木質板(ボード材)をビス等の取付材で取付けるようにして耐火被覆構造体を構築する場合がある。
しかしながら、特許文献1に開示された下地材付き鋼管は、アングル等の取付部材13(下地材)が鋼管の表面において鋼管の中心軸に沿った方向(上下方向)に延長するように設けられている。
従って、特許文献1に開示された下地材付き鋼管を用いて上述した耐火被覆構造体を構築しようとした場合、耐火材を、鋼管の表面の外周に巻き付けるようにして設けることができない。つまり、耐火材を、特許文献1に開示された下地材付き鋼管の表面の外周に巻き付けるようにした場合、耐火材が下地材の表面を覆うように位置されてしまって、下地材の表面と当該下地材に取付けられる木質板との間に耐火材が挟まれた状態となってしまうため、木質板の下地材に対する取付状態が不安定になってしまう。
従って、特許文献1に開示された下地材付き軸材としての下地材付き鋼管を用いる場合には、下地材の表面を覆わないように耐火材を設ける必要があり、耐火材が下地材の表面を覆わないようにするためには、鋼管の四角の各表面毎、及び、鋼管の四角の各角部の表面毎に、これら各表面に対応する大きさに耐火材を切り分けた後に、これら切り分けた耐火材を各表面に設けるようにしなければならず、施工が非常に煩わしくなる。
このように、特許文献1に開示された下地材付き軸材としての下地材付き鋼管を用いて耐火被覆構造体を施工するにあたっては、施工性の面での課題が生じる。
本発明は、耐火被覆構造体を施工するにあたって、施工性に優れた下地材付き軸材及び耐火被覆構造体を提供することを目的とするものである。
【課題を解決するための手段】
【0005】
本発明に係る下地材付き軸材は、金属製の軸材と、軸材の表面に設けられた下地材とを備えた下地材付き軸材であって、下地材は、軸材の表面側において軸材の材軸を中心とした周方向に延長するように設けられたことを特徴とする。
また、軸材は、柱として使用される鋼管であり、下地材は、柱の外周に沿った方向に延長するように設けられたことを特徴とする。
また、軸材は、梁として使用されるH形鋼であり、下地材は、梁の側部を構成する一方のフランジの幅方向端面と他方のフランジの幅方向端面とに亘って延長するように設けられたとともに、梁の下面を構成する他方のフランジの下面において梁の幅方向に延長するように設けられたことを特徴とする。
また、軸材は、柱又は梁として使用されるH形鋼であり、下地材は、柱又は梁の外周に沿った方向に延長するように設けられたことを特徴とする。
また、下地材は、軸材の表面に取付けられた形鋼により形成されたことを特徴とする。
本発明に係る下地材付き軸材によれば、軸材の表面側において軸材の材軸を中心とした周方向に延長するように耐火材を設けることができるので、軸材の表面に耐火材を設ける作業を簡単容易に行えるようになり、当該下地材付き軸材を用いて耐火被覆構造体を施工するにあたって、施工性に優れた下地材付き軸材を提供できるようになった。
また、本発明に係る耐火被覆構造体は、上述した下地材付き軸材と、軸材の表面に設けられた耐火材と、軸材の表面及び耐火材を覆うように下地材に取付けられたボード材とを備えたことを特徴とする。
また、軸材は、柱として使用される鋼管や、柱又は梁として使用されるH形鋼であり、耐火材は、柱又は梁の表面の外周に巻き付けられるようにして設けられたことを特徴とする。
また、軸材は、梁として使用されるH形鋼であり、耐火材は、梁の材軸を中心とした周方向に延長して梁の一方の側部と梁の下面と梁の他方の側部とを覆うように設けられたことを特徴とする。
また、軸材の表面と下地材との間に耐火材が設けられたことを特徴とする。
また、ボード材は、木質板、又は、石こうボード、又は、ケイ酸カルシウム板であることを特徴とする。
本発明に係る耐火被覆構造体によれば、耐火被覆構造体を施工するにあたって、施工性に優れた耐火被覆構造体を提供できるようになった。
【図面の簡単な説明】
【0006】
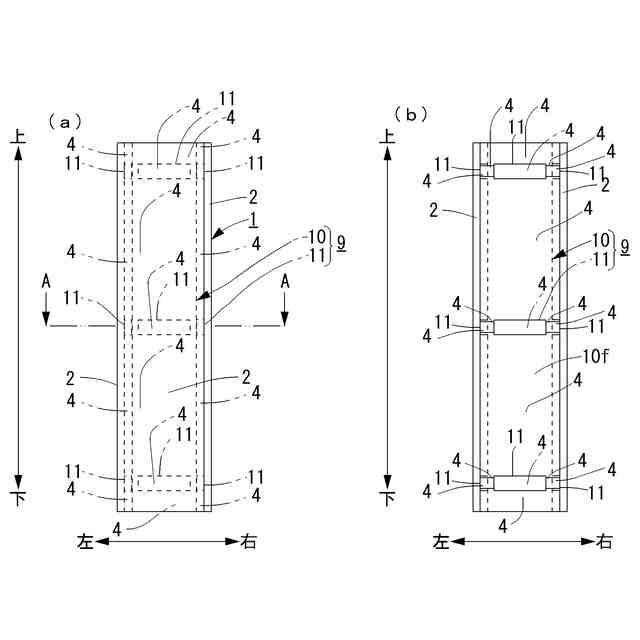
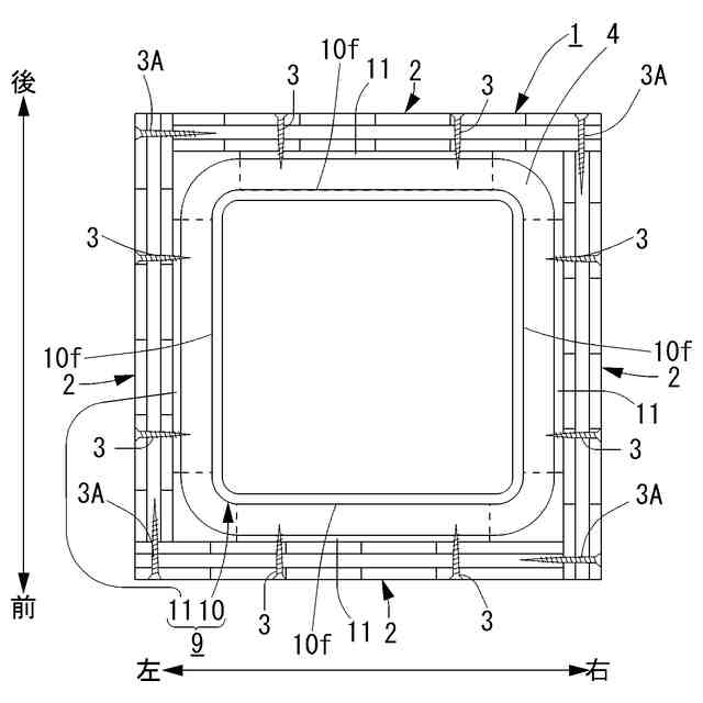
耐火被覆構造体としての耐火被覆柱を示す図であり、(a)は正面図、(b)は(a)の正面側のボード材を外した状態を示す正面図(実施形態1)。
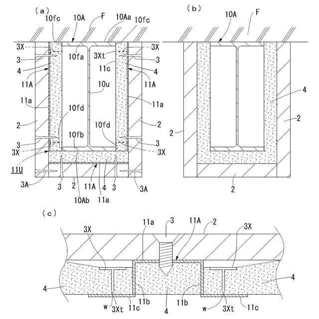
図1(a)のA-A断面図(耐火被覆柱の横断面図)(実施形態1)。
耐火被覆柱の下地材付近の縦断面図であり、(a)はリップ溝形鋼(Cチャネル)を下地材として用いた場合を示す図、(b)は山形鋼(アングル)を下地材として用いた場合を示す図、(c)はハット形鋼を下地材として用いた場合を示す図、(d)はH形鋼を下地材として用いた場合を示す図(実施形態1)。
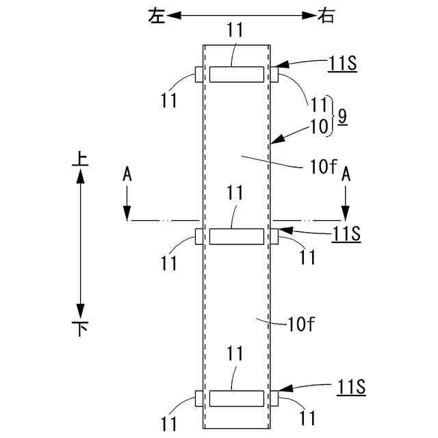
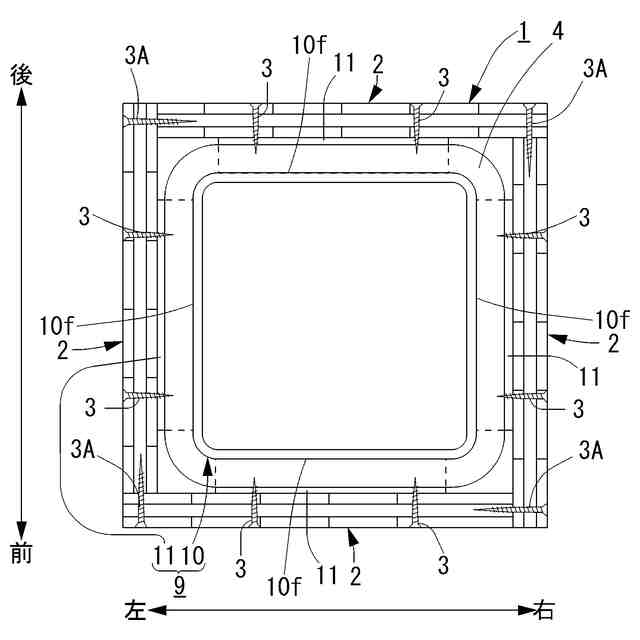
下地材付き軸材としての下地材付き柱を示す正面図(実施形態1)。
図1(a)のA-A断面図(下地材付き柱の横断面図)(実施形態1)。
耐火被覆構造体としての耐火被覆梁を示す側面図(実施形態3)。
(a)は図1のA-A断面図、(b)は図1のB-B切断部端面図、(c)は下地材に対するボード材及び耐火材の取付状態を示す拡大断面図(実施形態3)。
耐火被覆構造体としての耐火被覆梁の施工手順を示す図であり、(a)は下地材付き梁の状態を示す要部斜視図、(b)は下地材付き梁の下面及び側部に耐火材を取付けた状態を示す要部斜視図、(c)は耐火被覆梁の状態を示す要部斜視図(実施形態3)。
耐火被覆梁の分解斜視図(実施形態3)。
耐火被覆構造体としての耐火被覆柱を示す正面図(実施形態4)。
(a)は図10のA-A断面図、(b)は図10のB-B切断部端面図(実施形態4)。
【発明を実施するための形態】
【0007】
図1乃至図11に示すように、本発明に係る耐火被覆構造体(耐火被覆柱1,耐火被覆梁1A,耐火被覆柱1B,耐火被覆梁)は、下地材付き軸材(下地材付き柱9,下地材付き梁9A,下地材付き柱9B,下地材付き梁)と、耐火材4と、ボード材2とを備えて構成される。
本発明に係る下地材付き軸材9,9A,9Bは、金属製の軸材と、軸材の表面に設けられた下地材11,11A,11Bとを備えて構成される。
軸材は、例えば、柱として使用される鋼管10A(実施形態1)、梁として使用されるH形鋼10A(実施形態3)、柱として使用されるH形鋼10B(実施形態4)、梁として使用されるH形鋼(実施形態5)等である。
下地材11,11A,11Bは、軸材の表面側において材軸を中心とした周方向に延長するように設けられる。
下地材11,11A,11Bは、例えば、軸材に取付けられた形鋼等により形成される。
耐火材4は、軸材の表面側を覆うように設けられる。
ボード材2は、軸材の表面及び耐火材4を覆うように下地材11,11A,11Bに取付けられた板材である。
【0008】
実施形態1
図1乃至図3に示すように、実施形態1に係る耐火被覆構造体としての耐火被覆柱1は、例えば、下地材付き軸材としての下地材付き柱9と、耐火材4と、ボード材2とを備えて構成される。
図4,図5に示すように、実施形態1に係る下地材付き柱9は、例えば柱として使用される金属製の軸材としての鋼管10と、当該鋼管10の表面10fに設けられた下地材11とを備えて構成される。
下地材11は、ボード材2の取付面を形成するとともに、ボード材2を取付けるためのねじ3等の取付材が取付けられる部材である。
尚、実施形態1に係る耐火被覆柱1、及び、下地材付き柱9において、上、下、左、右、前、後は、図1乃至図5に示した方向と定義して説明する。
また、図2は図1(a)のA-A断面図であり、図5は図4のA-A断面図であるが、これら図2,図5において、断面部分のハッチングは省略した。
【0009】
鋼管10は、例えば断面四角中空形状の角型鋼管である。
角型鋼管としては、例えば、冷間ロール形成角型鋼管、冷間プレス成型角型鋼管、組立4面ボックス角型鋼管等がある。
【0010】
下地材11は、柱を構成する鋼管10の表面10fの外周に沿った方向(横方向)に延長するように設けられている。
即ち、下地材付き柱9は、図4,5に示すように、鋼管10の四角の各表面(鋼管10の各側面)10f,10f…において、左右方向(横方向)又は前後方向(横方向)に延長するように設けられた前後左右の4つの下地材11,11…によって周回状下地部11Sが構成され、当該周回状下地部11Sが、鋼管10(柱)の上下方向に沿って所定の間隔を隔てて複数個設けられている。
尚、鋼管10の4つの角部には、下地材11が設けられておらず、周回状下地部11Sは、鋼管10の各表面10fにおいて同一水平面上に位置するように設けられた個別の4つの下地材11,11…で構成される。
換言すれば、周回状下地部11Sは、鋼管10の4つの角部において下地材11が欠落した構成となっている。
(【0011】以降は省略されています)
この特許をJ-PlatPat(特許庁公式サイト)で参照する
関連特許
他の特許を見る