TOP
|
特許
|
意匠
|
商標
特許ウォッチ
Twitter
他の特許を見る
公開番号
2025141148
公報種別
公開特許公報(A)
公開日
2025-09-29
出願番号
2024040940
出願日
2024-03-15
発明の名称
吊り下げ物の防振構造改良方法
出願人
株式会社熊谷組
代理人
個人
主分類
F16F
15/02 20060101AFI20250919BHJP(機械要素または単位;機械または装置の効果的機能を生じ維持するための一般的手段)
要約
【課題】吊り下げ物の防振構造の改良を容易に行える方法を提供する。
【解決手段】建物の上階の梁や天井から設けられた吊りボルト2に支持具3及び防振装置4を介して取付けられた吊り下げ物(天吊り式空調機1)の防振構造改良方法であって、吊りボルト2に支持プレート5を増設する支持プレート増設ステップと、増設された支持プレート5に防振装置6を増設する防振装置増設ステップと、増設された防振装置6に吊り下げ物を支持させる支持構造を形成する支持構造形成ステップと、を備えたことを特徴とする。
【選択図】図1
特許請求の範囲
【請求項1】
建物の上階の梁や天井から設けられた吊りボルトに支持具及び防振装置を介して取付けられた吊り下げ物の防振構造改良方法であって、
吊りボルトに支持プレートを増設する支持プレート増設ステップと、
増設された支持プレートに防振装置を増設する防振装置増設ステップと、
増設された防振装置に吊り下げ物を支持させる支持構造を形成する支持構造形成ステップと、
を備えたことを特徴とする吊り下げ物の防振構造改良方法。
続きを表示(約 500 文字)
【請求項2】
支持プレート増設ステップでは、吊りボルトに取付けられている既設の支持具の取付位置よりも上方の位置において、当該吊りボルトに支持プレートを取付けることによって、支持プレートを増設することを特徴とする請求項1に記載の吊り下げ物の防振構造改良方法。
【請求項3】
支持プレート増設ステップでは、吊りボルトに取付けられている既設の支持具の取付位置よりも上方の位置において、当該吊りボルトに上下方向に間隔を隔てて下側の支持プレートと上側の支持プレートとを取付けることによって、上側の支持プレートと下側の支持プレートとを増設し、
防振装置増設ステップでは、増設された下側の支持プレートと上側の支持プレートとに2つの防振装置を増設し、2つの防振装置は、吊りボルトを中心として左右の位置に対称となるように設けられ、
支持構造形成ステップでは、下側の支持プレートと上側の支持プレートとの間に位置する吊りボルトを切断することにより、増設された2つの防振装置に吊り下げ物を支持させる支持構造を形成することを特徴とする請求項1に記載の吊り下げ物の防振構造改良方法。
発明の詳細な説明
【技術分野】
【0001】
本発明は、上階の梁や天井から設けられた吊りボルトに支持具及び防振装置を介して取付けられた吊り下げ物の防振構造を改良する方法に関する。
続きを表示(約 3,800 文字)
【背景技術】
【0002】
建物において、上階の梁や天井から吊りボルトによって吊られた吊り下げ物として例えば天吊り式空調機が知られている(特許文献1参照)。
天吊り式空調機は、その駆動源であるモータや送風ファンといった構成機器が振動を発生させる。
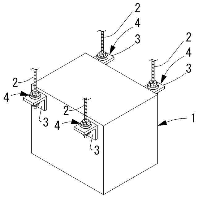
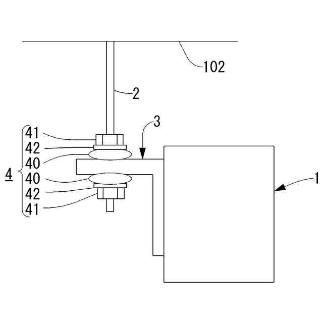
そこで、図3乃至図5に示すように、天吊り式空調機1に起因する振動が建物100のスラブ101へ伝達されることを抑制すべく、建物100のスラブ101の下面である天井102から垂下するように設けられた吊りボルト2に、支持具3及び防振装置4を介して天吊り式空調機1が取付けられている。
天吊り式空調機1は、例えば図4に示すように、4本の吊りボルト2,2…に、支持具3及び防振装置4を介して取付けられている。
支持具3は、例えば図4,5に示すように、天吊り式空調機1に取付けられたアングル(山形鋼)により形成された支持金具等により構成され、防振装置4は、例えば図5に示すように、防振ゴム40がナット41及びワッシャ42により支持具3に取付けられて構成される。
【先行技術文献】
【特許文献】
【0003】
特許第4527694号公報
【発明の概要】
【発明が解決しようとする課題】
【0004】
上述したように、天吊り式空調機1の設置にあたっては、天吊り式空調機1と建物の構造躯体の間に防振ゴム40等の防振材を挟み、揺れを抑えることが一般的である。
しかしながら、設備機器と防振材のメーカーは異なるため、一般的な機器よりも低周波数で振動する機器に対しては、市販の防振材では振動を十分に低減しきれない可能性がある。例えば、設備機器の振動特性をメーカーが公開していない場合もあり、計画・施工段階で適した防振材を選定できない場合がある。
このように、天吊り式空調機1の振動を十分に低減しきれない場合、図3に示すように、スラブ101に振動が伝搬され、当該振動に含まれる振動数成分Vが上階UFの事務所等の机の固有振動数に一致した場合、振動が増幅されることによって、机上で不快な振動が生じる場合がある。
以上の背景から、建物の竣工後に利用者から机などの振動の申し立てを受ける場合があり、このような場合、現地で振動測定等を行った後、上階UFのスラブ101から吊られた天吊り式空調機1で使用されている防振材を別の防振材へ交換する等の対策を行う場合がある。
しかしながら、上階UFのスラブ101から吊られた天吊り式空調機1で使用されている防振材を別の防振材に交換するためには、天吊り式空調機1を吊りボルト2から取り外して、防振材を交換した後、吊りボルト2に吊り直さなければならないため、下階LFのフロアの供用中等においての施工が困難であり、かつ、施工期間、施工コストがかかるという課題があった。
本発明は、上述した課題に鑑みて、吊り下げ物の防振構造の改良を容易に行える方法を提供するものである。
【課題を解決するための手段】
【0005】
本発明に係る吊り下げ物の防振構造改良方法は、建物の上階の梁や天井から設けられた吊りボルトに支持具及び防振装置を介して取付けられた吊り下げ物の防振構造改良方法であって、吊りボルトに支持プレートを増設する支持プレート増設ステップと、増設された支持プレートに防振装置を増設する防振装置増設ステップと、増設された防振装置に吊り下げ物を支持させる支持構造を形成する支持構造形成ステップと、を備えたことを特徴とする。
また、支持プレート増設ステップでは、吊りボルトに取付けられている既設の支持具の取付位置よりも上方の位置において、当該吊りボルトに支持プレートを取付けることによって、支持プレートを増設することを特徴とする。
また、支持プレート増設ステップでは、吊りボルトに取付けられている既設の支持具の取付位置よりも上方の位置において、当該吊りボルトに上下方向に間隔を隔てて下側の支持プレートと上側の支持プレートとを取付けることによって、上側の支持プレートと下側の支持プレートとを増設し、防振装置増設ステップでは、増設された下側の支持プレートと上側の支持プレートとに2つの防振装置を増設し、2つの防振装置は、吊りボルトを中心として左右の位置に対称となるように設けられ、支持構造形成ステップでは、下側の支持プレートと上側の支持プレートとの間に位置する吊りボルトを切断することにより、増設された2つの防振装置に吊り下げ物を支持させる支持構造を形成することを特徴とする。
本発明に係る吊り下げ物の防振構造改良方法によれば、吊り下げ物の防振構造の改良を簡単に行えるようになった。
【図面の簡単な説明】
【0006】
実施形態1に係る吊り下げ物の防振構造改良方法を示す図であり、(a),(b)は改良方法の手順を示す図、(c)は支持プレートの平面図、(d)はナットの平面図。
実施形態2に係る吊り下げ物の防振構造改良方法を示す図であり、(a)~(c)は改良方法の手順を示す図。
建物内での従来の吊り下げ物の防振構造を示す図。
従来の吊り下げ物の防振構造を示す斜視図。
従来の吊り下げ物の防振構造を示す側面図。
【発明を実施するための形態】
【0007】
実施形態1
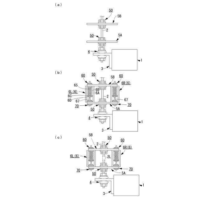
実施形態1に係る吊り下げ物の防振構造改良方法は、上階の梁や天井から設けられた吊りボルト2に支持具3及び防振装置4を介して取付けられた吊り下げ物としての天吊り式空調機1の防振構造を改良する方法であって、吊りボルト2に支持プレート5を増設する支持プレート増設ステップS1と、増設された支持プレート5に防振装置6を増設する防振装置増設ステップS2と、増設された防振装置6に天吊り式空調機1を支持させる支持構造を形成する支持構造形成ステップS3と、を備える。
【0008】
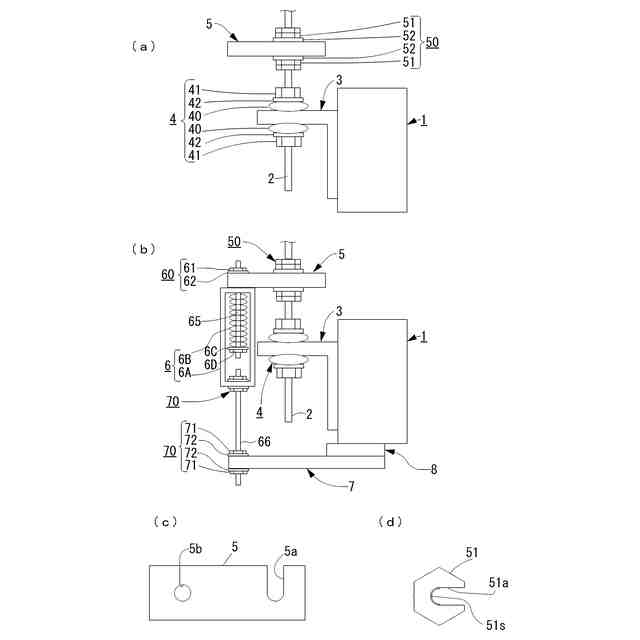
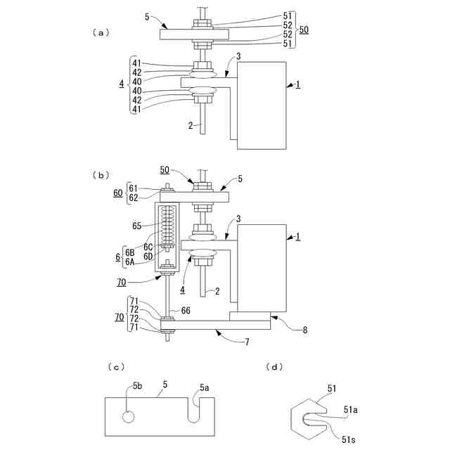
支持プレート増設ステップS1では、例えば図5に示したように、上階の天井102から設けられた吊りボルト2に支持具3及び防振装置4を介して取付けられた吊り下げ物としての天吊り式空調機1の既存の防振構造に支持プレート5を取付けて増設するステップである。
当該支持プレート増設ステップS1では、図1(a)に示すように、吊りボルト2に取付けられている既設の支持具3の取付位置よりも上方の位置において、当該吊りボルト2に支持プレート5を取付けることによって、支持プレート5を増設する。
【0009】
支持プレート5は、例えば図1(c)に示すように、長方形の平板材により構成される。
当該支持プレート5を構成する長方形の平板材は、長手方向一端側の長辺縁に開口する横挿入孔5aと、後述する軸材65を貫通させる貫通孔5bとを備えて構成される。
当該支持プレート5は取付手段50により吊りボルト2に取付けられる。
取付手段50は、例えば、ナット51及びワッシャ52により構成される。
尚、ナット51は、図1(d)に示すように、周面に開口する横挿入孔51aを備え、横挿入孔51aの孔底に雌ねじ51sが形成された構成のものを用いる。
即ち、ナット51としては、ボルトの両端からナットを螺着できないボルトに対して、ボルトの中間の横から挿入して螺着できるように構成されたロックナット、例えば、「中間挿入式ナット、品番DR-9、スリップオンロックナット社製」等を用いればよい。当該中間挿入式ナットは、周面に開口する横挿入孔51aを備えた2つのナット要素がナット要素の中心線を回転中心として互いに回転可能なように係合された構成のものである。
尚、ナット51として、ボルトの中間の横から挿入して螺着できるように構成されたナットを複数使用した例えばダブルナットを用いるようにしてもよい。
ワッシャ52もナット51と同様に、ボルトの中間の横から挿入できるように、周面に開口する横挿入孔を備えた構成のものを用いれば良い。
すなわち、支持プレート5,ナット51,ワッシャ52は、吊りボルト2の横方向から当該吊りボルト2に装着可能な横挿入孔を備えた構成のものを使用する。
【0010】
吊りボルト2に支持プレート5を取付ける方法の一例について説明する。
まず、吊りボルト2の横側から支持プレート5の横挿入孔5aを吊りボルト2に係合させる。即ち、支持プレート5の横挿入孔5aに吊りボルト2を挿入させる。
その後、当該支持プレート5の下側の吊りボルト2の位置にワッシャ52を係合させてワッシャ52の下の吊りボルト2の位置にナット51を締結するとともに、当該支持プレート5の上側の吊りボルト2の位置にワッシャ52を係合させてワッシャ52の上の吊りボルト2の位置にナット51を締結する。
以上により、支持プレート5が取付手段5により吊りボルト2に取付けられる。
(【0011】以降は省略されています)
この特許をJ-PlatPat(特許庁公式サイト)で参照する
関連特許
株式会社熊谷組
床版
11日前
株式会社熊谷組
床版
11日前
株式会社熊谷組
長机
19日前
株式会社熊谷組
吊り治具
18日前
株式会社熊谷組
床構成材
11日前
株式会社熊谷組
木質材料
1か月前
株式会社熊谷組
密度計測方法
19日前
株式会社熊谷組
山留壁用親杭
10日前
株式会社熊谷組
地盤改良方法
13日前
株式会社熊谷組
床版接合構造
21日前
株式会社熊谷組
RI計測装置
19日前
株式会社熊谷組
木材接合部材
18日前
株式会社熊谷組
障害物の検出方法
12日前
株式会社熊谷組
鉄筋コンクリート梁
1か月前
株式会社熊谷組
観測装置の防塵装置
2か月前
株式会社熊谷組
コンクリート打設装置
1か月前
株式会社熊谷組
コンクリート打設装置
1か月前
株式会社熊谷組
アクアポニックスシステム
17日前
株式会社熊谷組
床版継手装置、及び、床版
21日前
株式会社熊谷組
建物構造体の変位抑制装置
10日前
株式会社熊谷組
杭頭処理構造、杭頭処理方法
21日前
株式会社熊谷組
吊り下げ物の防振構造改良方法
21日前
株式会社熊谷組
壁体構築方法およびアンカー部材
21日前
株式会社熊谷組
壁体構築方法および鉄筋連結構造
21日前
株式会社熊谷組
耐火構造、及び、耐火構造の施工方法
11日前
国立大学法人東北大学
重金属の不溶化方法
18日前
岐阜工業株式会社
コンクリート用流量調整弁
17日前
ベルテクス株式会社
コンクリート部材の継手構造
17日前
株式会社熊谷組
傾斜地用コンクリート打設装置へのコンクリート積込方法
1か月前
株式会社熊谷組
トンネル坑内での重量物横移動方法及び重量物横移動装置
1か月前
ベルテクス株式会社
コンクリート部材の取付構造とその成型に用いる抜き型
17日前
株式会社ホルツストラ一級建築士事務所
下地材付き軸材、及び、耐火被覆構造体
6日前
個人
留め具
6日前
個人
流路体
9か月前
個人
鍋虫ねじ
1か月前
個人
ホース保持具
6か月前
続きを見る
他の特許を見る