TOP
|
特許
|
意匠
|
商標
特許ウォッチ
Twitter
他の特許を見る
10個以上の画像は省略されています。
公開番号
2025151613
公報種別
公開特許公報(A)
公開日
2025-10-09
出願番号
2024053133
出願日
2024-03-28
発明の名称
床版
出願人
株式会社熊谷組
代理人
個人
主分類
E01D
19/12 20060101AFI20251002BHJP(道路,鉄道または橋りょうの建設)
要約
【課題】角縁近傍部分のひび割れ抑制効果、耐久性、及び、耐荷力を向上させることできる床版を提供する。
【解決手段】橋梁の橋軸方向及び橋軸直角方向に沿って並ぶように桁の上に設置されて床版継手装置により接続される四角形板状の鉄筋コンクリート製の床版であって、四角形板状の床版の角縁を境界として隣り合う一方の辺縁面と他方の辺縁面とにおいて、一方の辺縁面の角縁近傍には、橋梁の橋軸方向に沿って隣り合う床版と接続するための第1の床版継手装置の継手構成部材を備えるとともに、他方の辺縁面の角縁近傍には、橋梁の橋軸直角方向に沿って隣り合う床版と接続するための第2の床版継手装置の継手構成部材を備え、第1の床版継手装置の継手構成部材及び第2の床版継手装置の継手構成部材は、それぞれ、継手機能部と、当該継手機能部を床版のコンクリートに定着させるための定着部材とを備え、第1の床版継手装置の継手構成部材の定着部材と第2の床版継手装置の継手構成部材の定着部材とが交差するように配置されている。
【選択図】図2
特許請求の範囲
【請求項1】
橋梁の橋軸方向及び橋軸直角方向に沿って並ぶように桁の上に設置されて床版継手装置により接続される四角形板状の鉄筋コンクリート製の床版であって、
四角形板状の床版の角縁を境界として隣り合う一方の辺縁面と他方の辺縁面とにおいて、一方の辺縁面の角縁近傍には、橋梁の橋軸方向に沿って隣り合う床版と接続するための第1の床版継手装置の継手構成部材を備えるとともに、他方の辺縁面の角縁近傍には、橋梁の橋軸直角方向に沿って隣り合う床版と接続するための第2の床版継手装置の継手構成部材を備え、
第1の床版継手装置の継手構成部材及び第2の床版継手装置の継手構成部材は、それぞれ、継手機能部と、当該継手機能部を床版のコンクリートに定着させるための定着部材とを備え、
第1の床版継手装置の継手構成部材の定着部材と第2の床版継手装置の継手構成部材の定着部材とが交差するように配置されていることを特徴とする床版。
続きを表示(約 1,200 文字)
【請求項2】
一方の辺縁面の角縁近傍に設けられた第1の床版継手装置の継手構成部材の定着部材は、当該一方の辺縁面と直交する方向に延長し、かつ、他方の辺縁面の角縁近傍に設けられた第2の床版継手装置の継手構成部材の定着部材は、当該他方の辺縁面と直交する方向に延長し、床版の板面と直交する方向から床版内を見た場合、第1の床版継手装置の継手構成部材の定着部材と第2の床版継手装置の継手構成部材の定着部材とが十字状に交差していることを特徴とする請求項1に記載の床版。
【請求項3】
第1の床版継手装置の継手構成部材及び第2の床版継手装置の継手構成部材のうちの一方の継手構成部材は、床版の板厚方向の上部側と下部側とに位置された上下の定着部材を備え、
かつ、
第1の床版継手装置の継手構成部材及び第2の床版継手装置の継手構成部材のうちの他方の継手構成部材は、前記一方の継手構成部材の上下の定着部材の間に位置された定着部材を備えたことを特徴とする請求項1に記載の床版。
【請求項4】
第1の床版継手装置の継手構成部材及び第2の床版継手装置の継手構成部材のうちの一方の継手構成部材は、床版の板厚方向の上部側に位置された定着部材を備え、
かつ、
第1の床版継手装置の継手構成部材及び第2の床版継手装置の継手構成部材のうちの他方の継手構成部材は、床版の板厚方向の下部側に位置された定着部材を備えたことを特徴とする請求項1に記載の床版。
【請求項5】
床版継手装置が、一方の床版に設けられる受部材と、他方の床版に設けられる受部材と、これら各受部材を繋ぐ繋ぎ部材とを備え、受部材は、繋ぎ部材が係合する被係合部と、当該被係合部を床版のコンクリートに定着させるための定着部材とを備えた構成である場合、前記継手構成部材が受部材であって前記継手機能部が被係合部であり、
床版継手装置が、一方の床版に設けられる受部材と、他方の床版に設けられた接続部材とを備えて構成され、受部材は、被係合部と、当該被係合部を床版のコンクリートに定着させるための定着部材とを備え、接続部材は、被係合部に係合する係合部と、当該係合部を床版のコンクリートに定着させるための定着部材とを備えた構成である場合、前記継手構成部材が受部材であって前記継手機能部が被係合部であるか、あるいは、前記継手構成部材が接続部材であって前記継手機能部が係合部であることを特徴とする請求項1乃至請求項4のいずれか一項に記載の床版。
【請求項6】
定着部材と床版内の鉄筋とが接続されたことを特徴とする請求項5に記載の床版。
【請求項7】
定着部材は、継手機能部に接続されて床版にプレストレストを付加する緊張材であることを特徴とする請求項5に記載の床版。
【請求項8】
定着部材は、継手機能部に接続された床版内の鉄筋であることを特徴とする請求項5に記載の床版。
発明の詳細な説明
【技術分野】
【0001】
本発明は、橋梁の橋軸方向及び橋軸直角方向に沿って並ぶように桁の上に設置されて床版継手装置により接続される四角形板状の鉄筋コンクリート製の床版に関する。
続きを表示(約 5,100 文字)
【背景技術】
【0002】
橋梁の桁の上に隣り合うように設置される一方の床版と他方の床版とを接続するためのコッター式継手と呼ばれるような床版継手装置が知られている(特許文献1,2参照)。
床版継手装置は、橋梁の桁の上に隣り合うように設置される一方の床版と他方の床版とを接続するための装置であって、一方の床版に設けられるC型金物と呼ばれるような継手構成部材としての受部材と、他方の床版に設けられるC型金物と呼ばれるような継手構成部材としての受部材と、これら各受部材をH型金物と呼ばれるような繋ぐ繋ぎ部材とを備えて構成される。
継手構成部材としての受部材は、係合凹部を有した継手機能部としての被係合部と、当該被係合部を床版のコンクリートに定着させるために当該床版のコンクリートに定着される定着部材とを備える。
繋ぎ部材は、一方の受部材の係合凹部に係合する一方の係合部と、他方の受部材の係合凹部に係合する他方の係合部と、一方の係合部と他方の係合部とを繋ぐ連結部とを備える。
また、橋梁に構築される道路の床版取替工事として、橋梁の橋軸直角方向Yを2等分して、走行車線用の床版を橋軸方向(車両進行方向)に沿って並べて接続する一期工事と、追越車線用の床版を橋軸方向(車両進行方向)Xに沿って並べて接続する二期工事とを分けて行う半断面施工(車線別床版取替工事)が知られている(特許文献2参照)。
当該半断面施工においては、橋軸直角方向に沿って延長することになる辺縁面側には当該辺縁面の長手方向に沿って所定の間隔を隔てて床版継手装置の受部材を備えるとともに、橋軸方向に沿って延長することになる辺縁面側には当該辺縁面の長手方向に沿って所定の間隔を隔てて床版継手装置の受部材を備えた床版を使用する。
【先行技術文献】
【特許文献】
【0003】
特開2018-159233号公報
特開2014-177767号公報
【発明の概要】
【発明が解決しようとする課題】
【0004】
特許文献2に開示された半断面施工に使用する床版は、橋軸方向に沿って隣り合う床版同士を接続するための床版継手装置及び橋軸直角方向に沿って隣り合う床版同士を接続するための床版継手装置として、同じ構成の床版継手装置を使用している。
従って、四角形板状の床版の角縁を境界として隣り合う一方の辺縁面と他方の辺縁面とにおいて、当該角縁の近傍に各受部材を設置した場合、各受部材の定着部材同士が接触して干渉する可能性がある。
そこで、床版の角縁の近傍に各受部材を設置する場合、各受部材は、各受部材の定着部材同士が接触して干渉しないように、当該角縁から必要十分な離間距離を隔てて設置するので、床版の角縁から受部材が設置される位置までの離間距離を長くしなければならなくなる。
しかしながら、床版の角縁から受部材が設置される位置までの離間距離を長くした場合、床版の角縁近傍部分にひび割れが生じ易くなり、床版の角縁近傍部分の耐久性、及び、耐荷力等が低下してしまう可能性があるという課題があった。
本発明は、上述した課題に鑑みて、角縁近傍部分(隅角部)のひび割れ抑制効果、耐久性、及び、耐荷力を向上させることできる床版を提供するものである。
【課題を解決するための手段】
【0005】
本発明に係る床版は、橋梁の橋軸方向及び橋軸直角方向に沿って並ぶように桁の上に設置されて床版継手装置により接続される四角形板状の鉄筋コンクリート製の床版であって、四角形板状の床版の角縁を境界として隣り合う一方の辺縁面と他方の辺縁面とにおいて、一方の辺縁面の角縁近傍には、橋梁の橋軸方向に沿って隣り合う床版と接続するための第1の床版継手装置の継手構成部材を備えるとともに、他方の辺縁面の角縁近傍には、橋梁の橋軸直角方向に沿って隣り合う床版と接続するための第2の床版継手装置の継手構成部材を備え、第1の床版継手装置の継手構成部材及び第2の床版継手装置の継手構成部材は、それぞれ、継手機能部と、当該継手機能部を床版のコンクリートに定着させるための定着部材とを備え、第1の床版継手装置の継手構成部材の定着部材と第2の床版継手装置の継手構成部材の定着部材とが交差するように配置されていることを特徴とする。
また、一方の辺縁面の角縁近傍に設けられた第1の床版継手装置の継手構成部材の定着部材は、当該一方の辺縁面と直交する方向に延長し、かつ、他方の辺縁面の角縁近傍に設けられた第2の床版継手装置の継手構成部材の定着部材は、当該他方の辺縁面と直交する方向に延長し、床版の板面と直交する方向から床版内を見た場合、第1の床版継手装置の継手構成部材の定着部材と第2の床版継手装置の継手構成部材の定着部材とが十字状に交差していることを特徴とする。
また、第1の床版継手装置の継手構成部材及び第2の床版継手装置の継手構成部材のうちの一方の継手構成部材は、床版の板厚方向の上部側と下部側とに位置された上下の定着部材を備え、かつ、第1の床版継手装置の継手構成部材及び第2の床版継手装置の継手構成部材のうちの他方の継手構成部材は、前記一方の継手構成部材の上下の定着部材の間に位置された定着部材を備えたことを特徴とする。
また、第1の床版継手装置の継手構成部材及び第2の床版継手装置の継手構成部材のうちの一方の継手構成部材は、床版の板厚方向の上部側に位置された定着部材を備え、かつ、
第1の床版継手装置の継手構成部材及び第2の床版継手装置の継手構成部材のうちの他方の継手構成部材は、床版の板厚方向の下部側に位置された定着部材を備えたことを特徴とする。
また、床版継手装置が、一方の床版に設けられる受部材と、他方の床版に設けられる受部材と、これら各受部材を繋ぐ繋ぎ部材とを備え、受部材は、繋ぎ部材が係合する被係合部と、当該被係合部を床版のコンクリートに定着させるための定着部材とを備えた構成である場合、前記継手構成部材が受部材であって前記継手機能部が被係合部であり、床版継手装置が、一方の床版に設けられる受部材と、他方の床版に設けられた接続部材とを備えて構成され、受部材は、被係合部と、当該被係合部を床版のコンクリートに定着させるための定着部材とを備え、接続部材は、被係合部に係合する係合部と、当該係合部を床版のコンクリートに定着させるための定着部材とを備えた構成である場合、前記継手構成部材が受部材であって前記継手機能部が被係合部であるか、あるいは、前記継手構成部材が接続部材であって前記継手機能部が係合部であることを特徴とする。
本発明に係る床版によれば、角縁近傍部分(隅角部)のひび割れ抑制効果、耐久性、及び、耐荷力を向上させることできる床版を提供できる。
また、定着部材と床版内の鉄筋とが接続されたことを特徴とする。
また、定着部材は、継手機能部に接続されて床版にプレストレストを付加する緊張材であることを特徴とする
また、定着部材は、継手機能部に接続された床版内の鉄筋であることを特徴とする。
以上によれば、角縁近傍部分(隅角部)のひび割れ抑制効果、耐久性、及び、耐荷力を向上させることできるとともに、継手構成部材のコストを削減でき、経済的な床版を提供できるようになる。
【図面の簡単な説明】
【0006】
実施形態1に係る床版を用いた床版接合構造を示す平面図。
実施形態1に係る床版を用いた床版接合構造における角縁隣接部を示す要部拡大平面図。
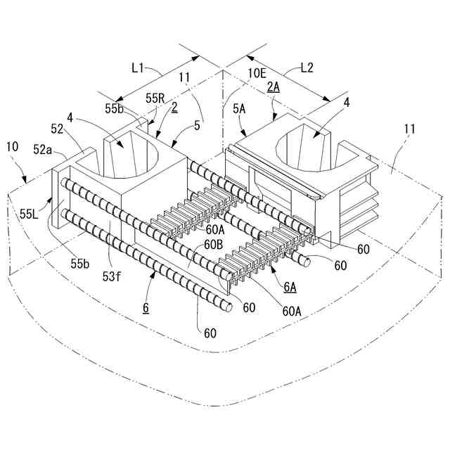
実施形態1に係る床版の角縁近傍部における一方の受部材の定着部材と他方の受部材の定着部材との位置関係を示す斜視図。
床版継手装置1を示す図であり、(a)は床版継手装置の分解斜視図、(b)は床版継手装置の斜視図。
床版継手装置1Aを示す図であり、(a)は床版継手装置の分解斜視図、(b)は床版継手装置の斜視図。
実施形態2に係る床版接合構造を示す平面図。
実施形態2に係る床版接合構造における角縁隣接部を示す要部拡大平面図。
実施形態4に係る床版を示す要部説明図。
実施形態5に係る床版を示す要部説明図。
実施形態7に係る床版を示す要部説明図。
実施形態8に係る床版の角縁近傍部における一方の受部材の定着部材と他方の受部材の定着部材との位置関係を示す斜視図。
実施形態8に係る床版の角縁近傍部における一方の受部材の定着部材と他方の受部材の定着部材との位置関係を示す斜視図。
実施形態9に係る床版を示す平面図。
実施形態9に係る床版の角縁近傍部分を示す図(図13のA部拡大詳細図)。
【発明を実施するための形態】
【0007】
実施形態1
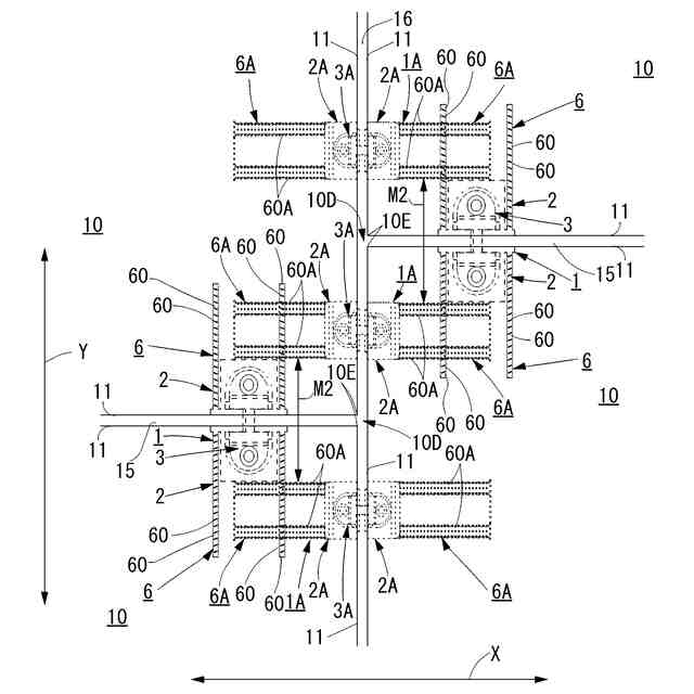
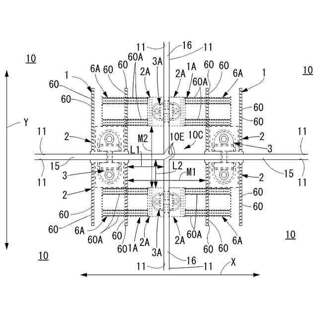
図1に示すように、実施形態1に係る床版10は、橋梁の橋軸方向X及び橋軸直角方向Yに沿って並ぶように桁(図示せず)の上に設置されて床版継手装置により接続される四角形板状の鉄筋コンクリート製の床版である。
尚、鉄筋コンクリート製の床版とは、例えば、鉄筋、又は、PC鋼線、又は、鋼材、又は、これら鉄筋、鋼材、PC鋼線のうちの2つ以上を内蔵した床版である。
【0008】
橋梁の桁の上に隣り合うように設置される一方の床版と他方の床版とを接続するための床版継手装置は、例えば、図4に示すような床版継手装置1、あるいは、図5に示すような床版継手装置1Aである。
床版継手装置1は、一方の床版に設けられるC型金物と呼ばれるような継手構成部材としての一方の受部材2と、他方の床版に設けられるC型金物と呼ばれるような継手構成部材としての他方の受部材2と、これら各受部材2,2を繋ぐH型金物と呼ばれるような繋ぎ部材3とを備えて構成される。
また、床版継手装置1Aは、一方の床版に設けられるC型金物と呼ばれるような継手構成部材としての一方の受部材2Aと、他方の床版に設けられるC型金物と呼ばれるような継手構成部材としての他方の受部材2Aと、これら各受部材2A,2Aを繋ぐH型金物と呼ばれるような繋ぎ部材3Aとを備えて構成される。
【0009】
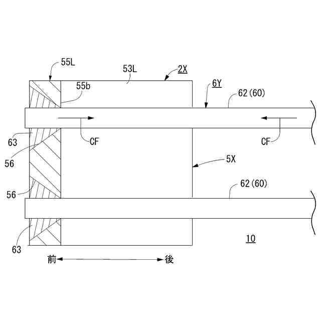
例えば、図1乃至図3に示すように、実施形態1に係る床版10は、四角形板状の床版の角縁10Eを境界として隣り合う一方の辺縁面11と他方の辺縁面11とにおいて、一方の辺縁面11の角縁10Eの近傍には、橋梁の橋軸方向Xに沿って隣り合う床版10と接続するための第1の床版継手装置の継手構成部材としての受部材(例えば受部材2A)を備えるとともに、他方の辺縁面11の角縁10Eの近傍には、橋梁の橋軸直角方向Yに沿って隣り合う床版10と接続するための第2の床版継手装置の継手構成部材としての受部材(例えば受部材2)を備える。
第1の床版継手装置の受部材及び第2の床版継手装置の受部材は、継手機能部としての被係合部(例えば後述する被係合部5又は5A)と、当該被係合部を床版のコンクリートに定着させるための定着部材(例えば後述する定着部材60又は60A)とを備える。
そして、実施形態1に係る床版10は、上述した一方の辺縁面11の角縁近傍の設けられた受部材の定着部材(例えば後述する定着部材60A)と上述した他方の辺縁面11の角縁近傍の設けられた受部材の定着部材(例えば後述する定着部材60)とが交差するように配置された構成としたものである。
【0010】
実施形態1の床版10においては、第1の床版継手装置、第2の床版継手装置として、例えば、図4に示した床版継手装置1、又は、図5に示した床版継手装置1Aを用いた場合を例にして説明する。
即ち、実施形態1の床版10としては、橋梁の橋軸方向Xに沿って隣り合う床版と接続するための第1の床版継手装置として床版継手装置1Aを用い、かつ、橋梁の橋軸直角方向Yに沿って隣り合う床版と接続するための第2の床版継手装置として床版継手装置1を用いるようにした床版10でもよいし、あるいは、第1の床版継手装置として床版継手装置1を用い、かつ、第2の床版継手装置として床版継手装置1Aを用いるようにした床版10でもよい。
(【0011】以降は省略されています)
この特許をJ-PlatPat(特許庁公式サイト)で参照する
関連特許
株式会社熊谷組
床版
9日前
株式会社熊谷組
床版
9日前
株式会社セイトク
防雪パネル
1日前
株式会社ササキコーポレーション
作業機
8日前
三信工業株式会社
床版架設装置
8日前
桑名金属工業株式会社
融雪マットおよび融雪方法
8日前
西尾レントオール株式会社
コーンベット型電源装置
3日前
日立建機株式会社
転圧機械
9日前
日鉄建材株式会社
吊り材で支持された足場用床パネル
8日前
オリエンタル白石株式会社
補強鋼板及び排土方法
1日前
株式会社日本コンポジット工業
壁用構造体
8日前
株式会社プロテックエンジニアリング
衝撃吸収柵
4日前
鹿島建設株式会社
橋、および橋の製造方法
2日前
株式会社NIPPO
スコップ加熱器
8日前
株式会社NIPPO
土壌改質材及びそれを含む土壌
9日前
日本製鉄株式会社
橋脚構造
8日前
積水化学工業株式会社
鉄道用枕木、及び鉄道用枕木の製造方法
9日前
ジェコス株式会社
締結式覆工板の損傷防止装置及び当該装置を備えた覆工板
1日前
河野建設株式会社
汚泥回収方法及び汚泥回収システム
4日前
株式会社ドラミカンパニー
改良地盤及びその施工方法
2日前
株式会社IHIインフラシステム
吊材取替方法及び吊材取替装置
1日前
株式会社豊田中央研究所
平面形成治具、道路の構造及び道路施工方法
1日前
日本製鉄株式会社
橋脚構造及び橋脚構造の施工方法
8日前
株式会社奥村組
継手部用スパイラル鉄筋
4日前
株式会社大林組
定着装置、及び外ケーブルの架設方法
3日前
株式会社奥村組
継手部用スパイラル鉄筋
4日前
JFEエンジニアリング株式会社
構造物
8日前
日鉄建材株式会社
防音壁ユニット、防音壁ユニットの交換方法及び防音壁の構築方法
8日前
株式会社奥村組
スパイラル鉄筋を用いた継手部の配筋構造
4日前
株式会社奥村組
スパイラル鉄筋を用いた継手部の配筋構造
4日前
株式会社奥村組
スパイラル鉄筋を用いた継手部の配筋構造
4日前
株式会社奥村組
スパイラル鉄筋を用いた継手部の配筋構造
4日前
株式会社奥村組
スパイラル鉄筋を用いた継手部の配筋構造
4日前
飛島建設株式会社
アンカー位置調整装置、アンカー固定方法、及び、支承取替方法
8日前
株式会社奥村組
スパイラル鉄筋を用いた継手部の配筋構造
4日前
鹿島建設株式会社
光ファイバー設置構造、コンクリート部材養生方法、損傷評価方法及び構造特性評価方法
2日前
続きを見る
他の特許を見る