TOP
|
特許
|
意匠
|
商標
特許ウォッチ
Twitter
他の特許を見る
公開番号
2025155935
公報種別
公開特許公報(A)
公開日
2025-10-14
出願番号
2025029511
出願日
2025-02-26
発明の名称
スパイラル鉄筋を用いた継手部の配筋構造
出願人
株式会社奥村組
,
昭和コンクリート工業株式会社
代理人
弁理士法人翔和国際特許事務所
主分類
E01D
19/12 20060101AFI20251002BHJP(道路,鉄道または橋りょうの建設)
要約
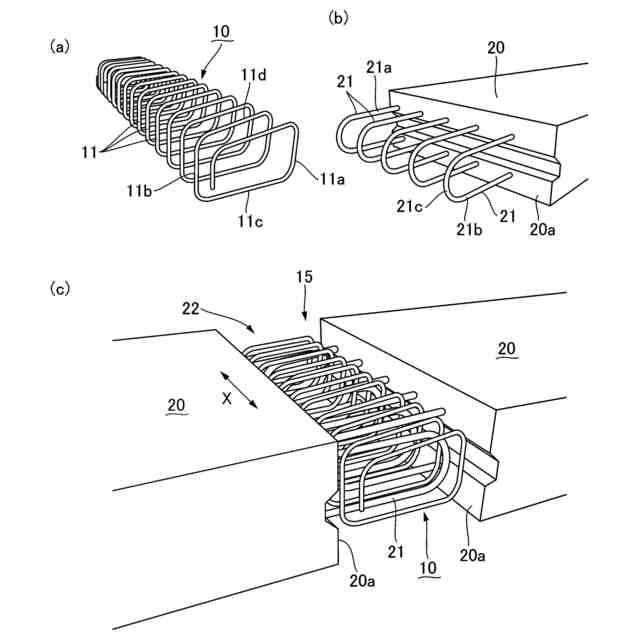
【課題】必要な強度を確保できるように補強可能な継手部の配筋構造を、容易に施工できるようにする。
【解決手段】隣接する一対のコンクリート版20の間の継手部22のコンクリート打設空間に設けられる、スパイラル鉄筋10を用いた継手部の配筋構造15であって、スパイラル鉄筋10は、一本の鉄筋を曲折加工することによって、矩形状の正面形状を有する単位スパイラル鉄筋11を、所定のピッチで複数連続させたスパイラル形状を備えている。ループ状の継手鉄筋21は、継手部22の長さ方向Xに千鳥状に交互に配筋されている。スパイラル鉄筋10は、仮想の基面Pに配置された単位スパイラル鉄筋11の3辺部分11a,11b,11cを、ループ状の継手鉄筋21の間隔部分に配設すると共に、他方の長辺部分による斜め連結筋11dを上部鉄筋21aと交差するように配設した状態で、継手部22に配筋される。
【選択図】図4
特許請求の範囲
【請求項1】
隣接する一対のコンクリート版の間の継手部のコンクリート打設空間に設けられる、スパイラル鉄筋を用いた継手部の配筋構造であって、
前記スパイラル鉄筋は、一本の鉄筋を曲折加工することによって、矩形状の正面形状を有する複数の単位スパイラル鉄筋を、スパイラルの軸方向に所定のピッチで連続させたスパイラル形状を備えており、且つ連続する各々の前記単位スパイラル鉄筋は、矩形状の正面形状の左右一対の短辺部分及び一方の長辺部分が、仮想の基面に配置されると共に、他方の長辺部分が、これらの3辺部分が配置される仮想の基面に対して、上面視して10~35度で傾いた方向に延設する斜め連結筋となっていることで、上面視してZ形状が連続するZスパイラル形状を有しており、
前記継手部のコンクリート打設空間において対向する両側のコンクリート版の端面から各々突出して、継手鉄筋が、一方の前記コンクリート版の端面から突出する複数の前記継手鉄筋と、他方の前記コンクリート版の端面から突出する複数の前記継手鉄筋とが、前記継手部の長さ方向に千鳥状に交互に配設された状態で配筋されていると共に、前記継手鉄筋は、上下に2段に配筋された上部鉄筋の端部と下部鉄筋の端部とが、円弧状部分を介して連結されている、ループ状の鉄筋となっており、
前記スパイラル鉄筋の前記仮想の基面に配置された前記3辺部分を、交互に配筋された前記継手鉄筋の間隔部分に配設すると共に、前記斜め連結筋を、前記継手鉄筋の前記上部鉄筋と交差するように配設した状態で前記スパイラル鉄筋が前記継手部に装着されており、且つ装着された前記スパイラル鉄筋を軸方向外側から投影視した際に、一方の前記コンクリート版の端面から突出するループ状の継手鉄筋と、他方の前記コンクリート版の端面から突出するループ状の継手鉄筋とが重なる領域が、前記単位スパイラル鉄筋による矩形枠形状によって囲まれるような位置関係とした状態で、装着された前記スパイラル鉄筋と前記継手鉄筋とを連結することによって、前記継手部のコンクリート打設空間に設けられているスパイラル鉄筋を用いた継手部の配筋構造。
続きを表示(約 430 文字)
【請求項2】
前記仮想の基面が、スパイラルの軸方向に対して垂直な面となっており、前記継手鉄筋の前記上部鉄筋及び前記下部鉄筋が、前記コンクリート版の端面に対して、上面視して垂直な方向に突出している請求項1記載のスパイラル鉄筋を用いた継手部の配筋構造。
【請求項3】
前記仮想の基面に配置された前記3辺部分が、交互に配筋された前記継手鉄筋の間隔部分に、一つ置きに配設されるようになっている請求項1又は2記載のスパイラル鉄筋を用いた継手部の配筋構造。
【請求項4】
隣接する一対のコンクリート版の間の前記継手部が、隣接して設置された一対のプレキャストPC床版の間の継手部となっている請求項1又は2記載のスパイラル鉄筋を用いた継手部の配筋構造。
【請求項5】
前記スパイラル鉄筋と前記継手鉄筋とが、結束線を用いて結束することにより連結されている請求項1又は2記載のスパイラル鉄筋を用いた継手部の配筋構造。
発明の詳細な説明
【技術分野】
【0001】
本発明は、スパイラル鉄筋を用いた継手部の配筋構造に関し、特に、隣接する一対のコンクリート版の間の継手部に配筋された継手部の配筋構造に関する。
続きを表示(約 3,100 文字)
【背景技術】
【0002】
近年、例えば既設の道路橋のコンクリート床版の老朽化対策として、床版の取替えによる大規模な更新工事が多く発注されている。またコンクリート床版の取替えによる改修工事には、施工手間の軽減と工事期間の短縮のために、矩形状の平面形状を有するプレキャストコンクリート製のプレキャストPC床版を用いるのが一般的である。プレキャストPC床版を用いた例えば既設の道路橋の改修工事では、道路橋の橋脚は、地上から垂直に伸びる柱部と、柱部から左右に張り出した張出し梁部とを有していると共に、隣接する橋脚の張出し梁部の間には、橋軸方向に架設されて複数の橋桁が設置されており、道路の本体部分となるプレキャストPC床版は、橋軸方向と垂直な方向に所定の間隔をおいて設置された、複数の橋桁に支持させるようにして、これらの橋桁と好ましくは垂直に交差する方向に長辺部分を配置すると共に、橋軸方向に複数連設させた状態で設置されることになる。
【0003】
また、複数の橋桁に支持させて、橋軸方向に複数連設させた状態で設置されたプレキャストPC床版は、橋軸方向に隣接する各一対のプレキャストPC床版の間の長辺部分に沿った継手部に、鉄筋を配筋すると共にコンクリートを打設して、一体化されることになる。
【0004】
このため、従来の一般的な継手部の構造として、設置したプレキャストPC床版の長辺部分に沿った端面部分から、継手鉄筋として好ましく複数のループ状の継手筋(ループ継
手筋)を突出させておき、これらのループ継手筋を、隣接する一対のプレキャストPC床
版の間の継手部において互い違いになるように配置すると共に、互い違いに配置されたループ継手筋における、継手部の長さ方向から見て重なっている環状部分の内側に、これらのループ継手筋を連結する直線状の長尺の連結主筋を、長辺部分に沿った継手部の長さ方向に挿入して、所定の位置に配筋した後に、継手部にコンクリートを打設することによって形成される継手部の構造が採用されている。
【0005】
一方、上述の従来の一般的な継手部の構造では、互い違いに配置された好ましくはループ継手筋が重なる環状部分の内側に、長尺の主筋を挿入する作業や、挿入した長尺の主筋を環状部分の所定の位置に配筋する作業には、橋桁の側面に特別の張出し足場を設けおき、張出し足場から直線状の長尺の鉄筋棒を持って環状部分の内側に挿入したり、橋桁の位置に設けた鉄筋の挿入口から鉄筋棒を挿入したり、環状部分の内側に挿通した鉄筋棒を持ち上げた状態で所定の位置に結束したりするのに、多くの手間を要することから、このような作業を不要とする技術も提案されている(例えば、特許文献1参照)。
【0006】
特許文献1のプレキャスト床版の継手部構造によれば、隣接する一対のプレキャストPC床版の間で互い違いになるように配設された継手鉄筋として、好ましくはループ状鉄筋の各々の間隔部分に嵌め込むようにして、螺旋鉄筋(スパイラル鉄筋)を、上方から落し込んで継手部を施工することによって、ループ状鉄筋を連結する直線状の長尺の連結主筋を、互い違いに配置されたループ継手筋が重なる環状部分の外側に、予め先行して配筋しておくことを可能にしている。
【先行技術文献】
【特許文献】
【0007】
特開2001-49621号公報
【発明の概要】
【発明が解決しようとする課題】
【0008】
しかしながら、特許文献1のプレキャスト床版の継手部構造では、螺旋鉄筋(スパイラル鉄筋)は、中心軸に対する螺旋の角度が一定となっていると共に、当該スパイラル鉄筋を軸方向(長さ方向)外側から視た際に、円形の正面形状を有していることから、継手部に配筋する際の現場での位置決めに手間がかかると共に、当該スパイラル鉄筋によるコンクリートの拘束効果が及ぶ範囲は、互い違いに配置された、継手鉄筋として例えばループ継手筋が重なる好ましくは環状部分の内側の円形領域に制限されることになるため、ループ継手筋が重なる例えば環状部分の外側に配筋される直線状の連結主筋は、省略することができなくなっている。スパイラル鉄筋を用いてプレキャスト床版の継手部を形成する際に、必要な強度を確保できるように補強可能な継手部の配筋構造を、容易に施工できることが望ましい。
【0009】
本発明は、隣接する一対の好ましくはプレキャストPC床版によるコンクリート版の間の継手部に、スパイラル鉄筋をスムーズに位置決めして配筋することを可能にすると共に、コンクリートの拘束効果が及ぶ範囲を広げることで、継手鉄筋を互いに連結する直線状の連結主筋を省略すること可能にし、且つスパイラル鉄筋を用いてプレキャスト床版の継手部を形成する際に、必要な強度を確保できるように補強可能な継手部の配筋構造を、容易に施工することを可能にするスパイラル鉄筋を用いた継手部の配筋構造を提供することを目的とする。
【課題を解決するための手段】
【0010】
本発明は、隣接する一対のコンクリート版の間の継手部のコンクリート打設空間に設けられる、スパイラル鉄筋を用いた継手部の配筋構造であって、前記スパイラル鉄筋は、一本の鉄筋を曲折加工することによって、矩形状の正面形状を有する複数の単位スパイラル鉄筋を、スパイラルの軸方向に所定のピッチで連続させたスパイラル形状を備えており、且つ連続する各々の前記単位スパイラル鉄筋は、矩形状の正面形状の左右一対の短辺部分及び一方の長辺部分が、仮想の基面に配置されると共に、他方の長辺部分が、これらの3辺部分が配置される仮想の基面に対して、上面視して10~35度で傾いた方向に延設する斜め連結筋となっていることで、上面視してZ形状が連続するZスパイラル形状を有しており、前記継手部のコンクリート打設空間において対向する両側のコンクリート版の端面から各々突出して、継手鉄筋が、一方の前記コンクリート版の端面から突出する複数の前記継手鉄筋と、他方の前記コンクリート版の端面から突出する複数の前記継手鉄筋とが、前記継手部の長さ方向に千鳥状に交互に配設された状態で配筋されていると共に、前記継手鉄筋は、上下に2段に配筋された上部鉄筋の端部と下部鉄筋の端部とが、円弧状部分を介して連結されている、ループ状の鉄筋となっており、前記スパイラル鉄筋の前記仮想の基面に配置された前記3辺部分を、交互に配筋された前記継手鉄筋の間隔部分に配設すると共に、前記斜め連結筋を、前記継手鉄筋の前記上部鉄筋と交差するように配設した状態で前記スパイラル鉄筋が前記継手部に装着されており、且つ装着された前記スパイラル鉄筋を軸方向外側から投影視した際に、一方の前記コンクリート版の端面から突出するループ状の継手鉄筋と、他方の前記コンクリート版の端面から突出するループ状の継手鉄筋とが重なる領域が、前記単位スパイラル鉄筋による矩形枠形状によって囲まれるような位置関係とした状態で、装着された前記スパイラル鉄筋と前記継手鉄筋とを連結することによって、前記継手部のコンクリート打設空間に設けられているスパイラル鉄筋を用いた継手部の配筋構造を提供することにより、上記目的を達成したものである。
(【0011】以降は省略されています)
この特許をJ-PlatPat(特許庁公式サイト)で参照する
関連特許
株式会社奥村組
爆薬装填装置
6日前
株式会社奥村組
施工管理装置
5日前
株式会社奥村組
施工管理方法
5日前
株式会社奥村組
施工管理装置
5日前
株式会社奥村組
非開削推進工法
5日前
株式会社奥村組
非開削推進工法
5日前
株式会社奥村組
非開削推進工法
5日前
株式会社奥村組
非開削推進工法
5日前
株式会社奥村組
非開削推進工法
5日前
株式会社奥村組
外壁部施工用足場構造
6日前
株式会社奥村組
継手部用スパイラル鉄筋
1日前
株式会社奥村組
継手部用スパイラル鉄筋
1日前
株式会社奥村組
掘削機および非開削推進工法
5日前
株式会社奥村組
大規模建築物における骨組み構造
5日前
株式会社奥村組
PCa庇パネル部材を用いた足場構造
6日前
株式会社奥村組
PCa庇パネル部材の取付け施工方法
6日前
株式会社奥村組
スパイラル鉄筋を用いた継手部の配筋構造
1日前
株式会社奥村組
スパイラル鉄筋を用いた継手部の配筋構造
1日前
株式会社奥村組
スパイラル鉄筋を用いた継手部の配筋構造
1日前
株式会社奥村組
スパイラル鉄筋を用いた継手部の配筋構造
1日前
株式会社奥村組
スパイラル鉄筋を用いた継手部の配筋構造
1日前
株式会社奥村組
スパイラル鉄筋を用いた継手部の配筋構造
1日前
株式会社奥村組
大規模建築物における骨組み構造の施工方法
5日前
株式会社奥村組
トンネルワークステーションによる山岳トンネル工法
7日前
株式会社奥村組
進路予測装置、進路予測方法および進路予測プログラム
5日前
株式会社奥村組
進路予測装置、進路予測方法および進路予測プログラム
5日前
株式会社奥村組
進路予測装置、進路予測方法および進路予測プログラム
5日前
株式会社奥村組
切羽面監視装置、切羽面監視方法及び切羽面監視プログラム
6日前
株式会社奥村組
室内3次元形状生成装置、室内3次元形状生成方法及び室内3次元形状生成プログラム
5日前
株式会社熊谷組
床版
6日前
株式会社熊谷組
床版
6日前
個人
折り畳み式標識具
13日前
株式会社熊谷組
床版接合構造
16日前
北越消雪機械工業株式会社
消雪装置
13日前
白出商事株式会社
縁石銘板(名板)
8日前
株式会社NIPPO
斜面用ローラ
7日前
続きを見る
他の特許を見る