TOP
|
特許
|
意匠
|
商標
特許ウォッチ
Twitter
他の特許を見る
10個以上の画像は省略されています。
公開番号
2025153529
公報種別
公開特許公報(A)
公開日
2025-10-10
出願番号
2024056058
出願日
2024-03-29
発明の名称
非開削推進工法
出願人
株式会社奥村組
,
植村技研工業株式会社
代理人
個人
,
個人
主分類
E21D
9/04 20060101AFI20251002BHJP(地中もしくは岩石の削孔;採鉱)
要約
【課題】掘削作業を容易にする。
【解決手段】地中に埋設された箱形ルーフを函体に置換することにより函体を地中に埋設する非開削推進工法が提供される。非開削推進工法は、ルーフパイプ列における先頭ルーフパイプ93内に掘削機20を固定する固定ステップと、先頭ルーフパイプの前方に位置する地山を掘削機により掘削する掘削ステップと、掘削機による掘削後にルーフパイプ列を前進させる推進ステップとを備える。掘削ステップは、掘削された土砂をコンベヤ29によって掘削機の後端部まで搬送する搬送ステップと、コンベヤによって搬送された土砂を、待機位置に予め待機した自動台車に積載する積載ステップと、自動台車を外部まで走行移動させ、自動台車から土砂を排出する運搬排出ステップと、土砂が排出された自動台車を待機位置に再度戻す復帰ステップとを含む。
【選択図】図3
特許請求の範囲
【請求項1】
複数のルーフパイプにより形成され地中に埋設された箱形ルーフを函体に置換することにより前記函体を地中に埋設する非開削推進工法であって、
前記箱形ルーフは、複数の前記ルーフパイプを直列に連結してなるルーフパイプ列を、前記函体の外縁に沿うよう並列に配置して構成され、
前記非開削推進工法は、
前記ルーフパイプ列における先頭の先頭ルーフパイプ内に掘削機を固定する固定ステップと、
前記先頭ルーフパイプの前方に位置する地山を前記掘削機により掘削する掘削ステップと、
前記掘削機による掘削後に前記ルーフパイプ列を前進させる推進ステップと、
を備え、
前記掘削機は、
前記ルーフパイプ内を走行可能でかつ前記先頭ルーフパイプ内に固定可能な固定部と、
前記固定部に対し前後方向に移動可能となるよう前記固定部に設けられた前後移動部と、
前記前後移動部に対し、上下方向に延びる第1軸の回りに回動可能となるよう前記前後移動部に設けられた旋回部と、
前記旋回部に対し、前後方向に延びる第2軸の回りに回転可能となるよう、前記旋回部に設けられた回転部と、
前記回転部に対し、左右方向に延びる第3軸の回りに回動可能となるよう、前記回転部に設けられた起伏部と、
前記起伏部に対し、左右方向に延びる第4軸の回りに回動可能となるよう、前記起伏部に設けられた器具取付部と、
前記器具取付部に取り付けられた掘削器具と、
を備え、
前記固定部は、前記掘削機の前端部から後端部まで延びるコンベヤを有し、
前記掘削ステップは、
前記掘削器具によって掘削された土砂を前記コンベヤによって前記掘削機の後端部まで搬送する搬送ステップと、
前記コンベヤによって搬送された土砂を、前記掘削機の後端部付近の待機位置に予め待機した自動台車に積載する積載ステップと、
土砂が積載された前記自動台車を、前記ルーフパイプ列の後端開口を通じて外部まで走行移動させ、前記自動台車から土砂を排出する運搬排出ステップと、
土砂が排出された前記自動台車を、前記ルーフパイプ列の後端開口を通じて前記ルーフパイプ列内に走行移動させ、前記待機位置に再度戻す復帰ステップと、
を含む
ことを特徴とする非開削推進工法。
続きを表示(約 210 文字)
【請求項2】
前記搬送ステップは、前記掘削器具によって土砂を前記コンベヤに載せることを含む
請求項1に記載の非開削推進工法。
【請求項3】
前記運搬排出ステップにおいて前記自動台車が前記待機位置を出発した時点から、前記復帰ステップにおいて前記自動台車が前記待機位置に到着する時点までの間、前記コンベヤが一時停止される一方、前記掘削機による掘削は継続される
請求項1に記載の非開削推進工法。
発明の詳細な説明
【技術分野】
【0001】
本開示は非開削推進工法に関する。
続きを表示(約 2,700 文字)
【背景技術】
【0002】
例えば既存の道路や線路等の地上対象物の地下に、これを横断するように地下道を構築する方法として、公知のR&C工法やSFT工法に代表されるような非開削推進工法が知られている。この非開削推進工法は、概して、複数のルーフパイプにより形成され地中に埋設された箱形ルーフを、地下構造物としての函体(ボックスカルバート)に置換することにより、函体を地中に埋設する工法である。箱形ルーフは、複数のルーフパイプを直列に連結してなるルーフパイプ列を、函体の外縁に沿うよう並列に配置して構成される。
【先行技術文献】
【特許文献】
【0003】
特開2018-172929号公報
【発明の概要】
【発明が解決しようとする課題】
【0004】
非開削推進工法においては、後方の発進側から前方の到達側に向かって地山の掘削とルーフパイプの挿入とを繰り返す。一方、地山の掘削は、先頭のルーフパイプ内に作業者が入って手作業で行っているのが現状である。掘削作業がはつり作業を中心とする困難な作業である上に、ルーフパイプ内のスペースが作業者にとって非常に狭いため、掘削作業は非常に困難な作業となっている。
【0005】
そこで本開示は、かかる事情に鑑みて創案され、その目的は、掘削作業を容易にすることができる非開削推進工法を提供することにある。
【課題を解決するための手段】
【0006】
本開示の一の態様によれば、
複数のルーフパイプにより形成され地中に埋設された箱形ルーフを函体に置換することにより前記函体を地中に埋設する非開削推進工法であって、
前記箱形ルーフは、複数の前記ルーフパイプを直列に連結してなるルーフパイプ列を、前記函体の外縁に沿うよう並列に配置して構成され、
前記非開削推進工法は、
前記ルーフパイプ列における先頭の先頭ルーフパイプ内に掘削機を固定する固定ステップと、
前記先頭ルーフパイプの前方に位置する地山を前記掘削機により掘削する掘削ステップと、
前記掘削機による掘削後に前記ルーフパイプ列を前進させる推進ステップと、
を備え、
前記掘削機は、
前記ルーフパイプ内を走行可能でかつ前記先頭ルーフパイプ内に固定可能な固定部と、
前記固定部に対し前後方向に移動可能となるよう前記固定部に設けられた前後移動部と、
前記前後移動部に対し、上下方向に延びる第1軸の回りに回動可能となるよう前記前後移動部に設けられた旋回部と、
前記旋回部に対し、前後方向に延びる第2軸の回りに回転可能となるよう、前記旋回部に設けられた回転部と、
前記回転部に対し、左右方向に延びる第3軸の回りに回動可能となるよう、前記回転部に設けられた起伏部と、
前記起伏部に対し、左右方向に延びる第4軸の回りに回動可能となるよう、前記起伏部に設けられた器具取付部と、
前記器具取付部に取り付けられた掘削器具と、
を備え、
前記固定部は、前記掘削機の前端部から後端部まで延びるコンベヤを有し、
前記掘削ステップは、
前記掘削器具によって掘削された土砂を前記コンベヤによって前記掘削機の後端部まで搬送する搬送ステップと、
前記コンベヤによって搬送された土砂を、前記掘削機の後端部付近の待機位置に予め待機した自動台車に積載する積載ステップと、
土砂が積載された前記自動台車を、前記ルーフパイプ列の後端開口を通じて外部まで走行移動させ、前記自動台車から土砂を排出する運搬排出ステップと、
土砂が排出された前記自動台車を、前記ルーフパイプ列の後端開口を通じて前記ルーフパイプ列内に走行移動させ、前記待機位置に再度戻す復帰ステップと、
を含む
ことを特徴とする非開削推進工法が提供される。
【0007】
好ましくは、前記搬送ステップは、前記掘削器具によって土砂を前記コンベヤに載せることを含む。
【0008】
好ましくは、前記運搬排出ステップにおいて前記自動台車が前記待機位置を出発した時点から、前記復帰ステップにおいて前記自動台車が前記待機位置に到着する時点までの間、前記コンベヤが一時停止される一方、前記掘削機による掘削は継続される。
【発明の効果】
【0009】
本開示によれば、掘削作業を容易にすることができる。
【図面の簡単な説明】
【0010】
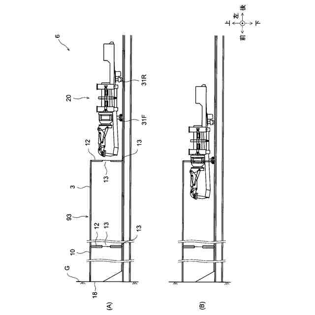
非開削推進工法の概要を説明するための図である。
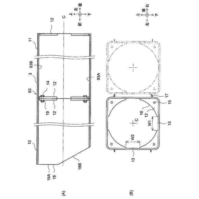
先頭のルーフパイプを示し、(A)は側面図、(B)は後面図である。
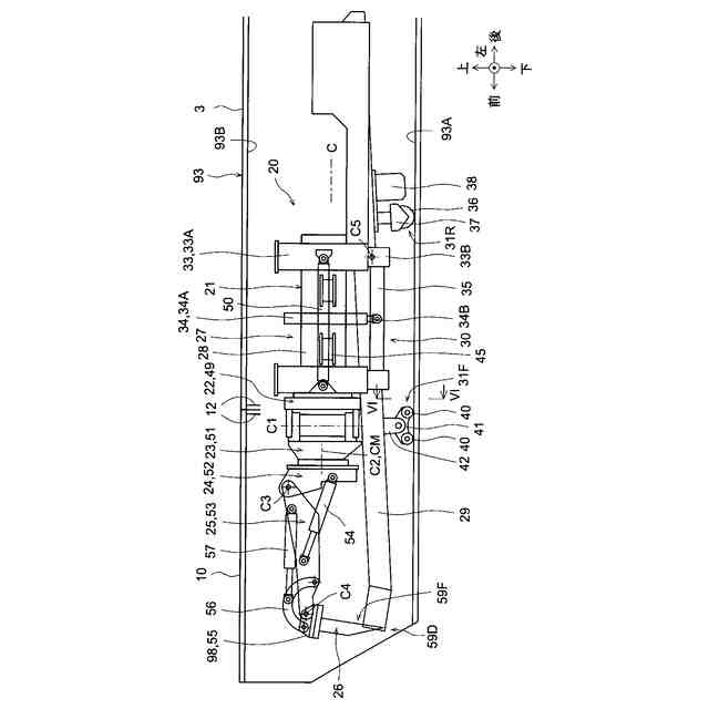
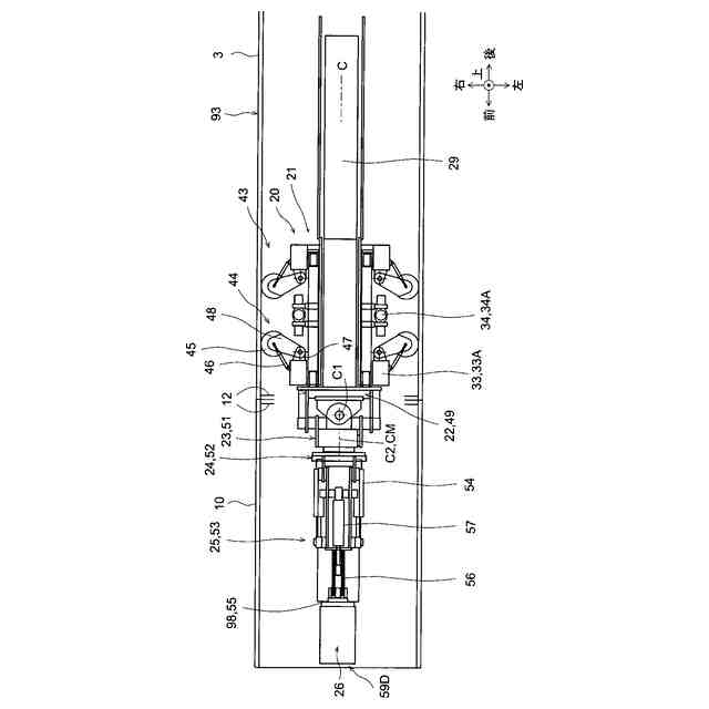
掘削機を示す側面図である。
掘削機を示す平面図である。
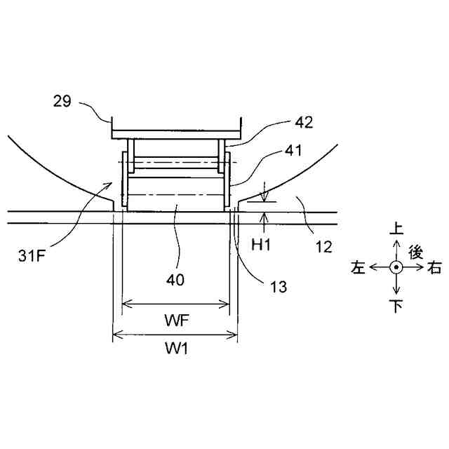
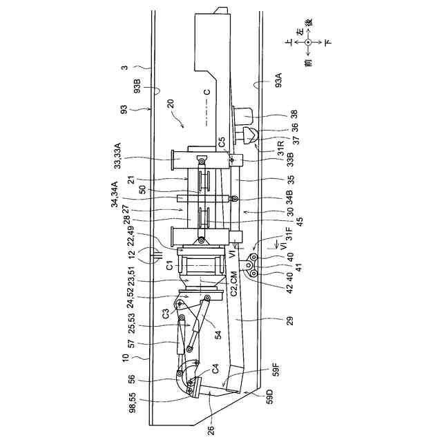
掘削機を示す後面図である。
図3のVI-VI断面図である。
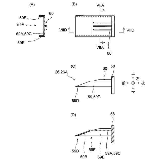
掘削器具を示す図である。
掘削開始時に掘削機が先頭のルーフパイプに進入するときの様子を示す側面図である。
掘削開始時に掘削機が先頭のルーフパイプに進入するときの様子を示す側面図である。
本工法の各ステップを行うときの一連の様子を示す側面図である。
本工法の各ステップを行うときの一連の様子を示す側面図である。
本工法の各ステップを行うときの一連の様子を示す側面図である。
本工法の各ステップを行うときの一連の様子を示す側面図である。
本工法の各ステップを行うときの一連の様子を示す側面図である。
本工法の各ステップを行うときの一連の様子を示す側面図である。
本工法の各ステップを行うときの一連の様子を示す側面図である。
掘削機が固定されたときの様子を示す後面図である。
自動台車を示す平面図である。
切羽の掘削領域を概念的に示す後面図である。
第2実施形態の掘削器具を示す図である。
第2実施形態の掘削機を示す側面図である。
第2実施形態の掘削機を示す平面図である。
第2実施形態の掘削機の動作を示す側面図である。
第2実施形態の掘削機の動作を示す側面図である。
先行掘削の様子を示す側面図である。
第2実施形態の掘削機の動作を示す側面図である。
【発明を実施するための形態】
(【0011】以降は省略されています)
この特許をJ-PlatPat(特許庁公式サイト)で参照する
関連特許
株式会社奥村組
制振機構
2か月前
株式会社奥村組
運搬方法
2か月前
株式会社奥村組
制振機構
2か月前
株式会社奥村組
設置架台
1か月前
株式会社奥村組
吊り治具
2か月前
株式会社奥村組
施工管理装置
1か月前
株式会社奥村組
爆薬装填装置
1か月前
株式会社奥村組
施工管理装置
1か月前
株式会社奥村組
施工管理方法
1か月前
株式会社奥村組
ケーソン工法
2か月前
株式会社奥村組
非開削推進工法
1か月前
株式会社奥村組
非開削推進工法
1か月前
株式会社奥村組
非開削推進工法
1か月前
株式会社奥村組
非開削推進工法
1か月前
株式会社奥村組
非開削推進工法
1か月前
株式会社奥村組
シールド掘進機
2か月前
株式会社奥村組
ケーソン刃口金物
2か月前
株式会社奥村組
廃棄物分類処理装置
1か月前
株式会社奥村組
外壁部施工用足場構造
1か月前
株式会社奥村組
圧入式オープンケーソン
2か月前
株式会社奥村組
継手部用スパイラル鉄筋
1か月前
株式会社奥村組
洗浄器具および洗浄方法
2か月前
株式会社奥村組
継手部用スパイラル鉄筋
1か月前
株式会社奥村組
掘削機および非開削推進工法
1か月前
株式会社奥村組
壁下地用胴縁の端部固定構造
2か月前
株式会社奥村組
ドラムカッタ用集塵カバー体
1か月前
株式会社奥村組
免震用ダンパ装置の連結部構造
2か月前
株式会社奥村組
大規模建築物における骨組み構造
1か月前
国立大学法人 筑波大学
制振機構
2か月前
国立大学法人 筑波大学
制振機構
2か月前
株式会社奥村組
底部コンクリート構造体の撤去方法
1か月前
国立大学法人 筑波大学
制振機構
2か月前
株式会社奥村組
PCa庇パネル部材を用いた足場構造
1か月前
株式会社奥村組
PCa庇パネル部材の取付け施工方法
1か月前
株式会社奥村組
木質部材のコンクリート面への接合工法
2か月前
株式会社奥村組
シールド掘進機およびシールド掘進方法
2か月前
続きを見る
他の特許を見る