TOP
|
特許
|
意匠
|
商標
特許ウォッチ
Twitter
他の特許を見る
10個以上の画像は省略されています。
公開番号
2025151245
公報種別
公開特許公報(A)
公開日
2025-10-09
出願番号
2024052575
出願日
2024-03-27
発明の名称
外壁部施工用足場構造
出願人
株式会社奥村組
代理人
弁理士法人翔和国際特許事務所
主分類
E04G
3/00 20060101AFI20251002BHJP(建築物)
要約
【課題】張出し支持部材により安定した状態に支持された足場構造を提供すること。
【解決手段】張出し支持部材10を用いた外壁部施工用足場構造30であって、地盤面52から立設する仮設の支保工及び仮設の足場を用いることなく、建物50の1階天井部の骨組み構造体53aの高さ位置から上方に設置されて、建物50の上階部分の外壁部を施工する際の作業用の足場である外壁部施工用の足場構造である。張出しパネル部12の先端部分には、クランプ接合金物63を介して単管クランプ31dが取り付けられ、その単管クランプ31dを介して複数の横方向主単管パイプ32及び複数の縦方向単管パイプ33が取り付けられている。縦横に一体として組み付けられた複数の横方向主単管パイプ32及び複数の縦方向単管パイプ33の縦方向単管パイプ33に、足場用ブラケット34を介して足場板35が固定されている。
【選択図】図1
特許請求の範囲
【請求項1】
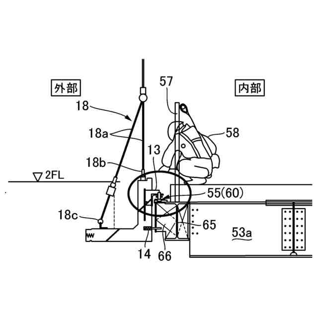
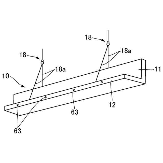
地盤面から立設する仮設支保工及び仮設足場を用いることなく、建物の骨組み構造体の1階天井部の高さ位置から上方に設置されて、建物の上階部分の外壁部を施工する際の作業用の足場となる、張出し支持部材を用いた外壁部施工用足場構造であって、
前記張出し支持部材は、建物の外壁部分に配置される外壁部パネル部と、該外壁部パネル部から横方向外側に向けて張り出した張出しパネル部とを含んで構成されていると共に、前記外壁部パネル部における前記張出しパネル部とは反対の背面側には、建物の骨組み構造体に係合される係合金物が、前記張出しパネル部の先端部分には、単管クランプ取付け用のクランプ接合金物が、各々取り付けられており、
前記張出し支持部材は、前記外壁部パネル部に取り付けられた前記係合金物が、前記建物の前記骨組み構造体に設けられた被係止部に係止されることで、1階天井部の骨組み構造体の外側端部と、これよりも1階層又は2階層以上の上階に位置する上階天井部の骨組み構造体の外側端部との、少なくとも2か所の天井部分の高さ位置に固定されて設置されており、
設置されたこれらの前記張出し支持部材の各々の前記張出しパネル部の先端部分には、前記クランプ接合金物に固着された複数の単管クランプに係着されることによって、横方向主単管パイプが、当該先端部分に沿って各々横方向に延設して固定された状態で、上下方向に間隔をおいて少なくとも2段に取り付けられており、
少なくとも上下2段に取り付けられた前記横方向主単管パイプに、単管クランプを介して連結されることで、複数の縦方向単管パイプが、横方向に間隔をおいて立設して取り付けられており、
複数の前記縦方向単管パイプに各々支持させて、複数の足場用ブラケットが、建物の骨組み構造体側に張り出すようにして、所定の高さ位置に取り付けられており、
取り付けられたこれらの前記足場用ブラケットに支持させて、足場板が、建物の骨組み構造体と、縦横に一体として組み付けられた複数の前記横方向主単管パイプ及び複数の前記縦方向単管パイプによるパイプ設置面との間の領域において、所定の高さ位置に横方向に延設して設置されている、外壁部施工用足場構造。
続きを表示(約 670 文字)
【請求項2】
下階の前記張出し支持部材の前記張出しパネル部の先端部分に取り付けられた前記横方向主単管パイプと、上階の前記張出し支持部材の前記張出しパネル部の先端部分に取り付けられた前記横方向主単管パイプとの間の領域には、一又は複数の横方向副単管パイプが、複数の前記縦方向単管パイプに単管クランプを介して連結された状態で、横方向に延設して取り付けられている、請求項1記載の外壁部施工用足場構造。
【請求項3】
前記張出し支持部材を構成する前記張出しパネル部は、前記外壁部パネル部に対して分離可能に一体として接合されており、当該外壁部施工用足場構造体を撤去する際に、前記張出しパネル部が、前記外壁部パネル部から分離されて撤去されるようになっている、請求項1又は2記載の外壁部施工用足場構造。
【請求項4】
複数の前記縦方向単管パイプの前記建物の骨組み構造体側において、単管クランプを介して連結された前記横方向副単管パイプに、単管クランプを介して連結させて、自重受け補強用縦方向単管パイプが、下端部を前記張出し支持部材の前記張出しパネル部の上面に当接させて支持させた状態で、縦方向に立設して取り付けられている、請求項3記載の外壁部施工用足場構造。
【請求項5】
縦横に一体として組み付けられた複数の前記横方向主単管パイプ及び複数の前記縦方向単管パイプによる前記パイプ設置面の、前記建物の骨組み構造体とは反対側を覆うようにして、防護用ネットが張設されている、請求項1又は2記載の外壁部施工用足場構造。
発明の詳細な説明
【技術分野】
【0001】
本発明は、外壁部施工用足場構造に関し、特に、地盤面から立設する仮設支保工及び仮設足場を用いることなく、設置されて、建物の上階部分の外壁部を施工する際の作業用の足場となる、張出し支持部材を用いた仮設の足場構造に関する。
続きを表示(約 2,900 文字)
【背景技術】
【0002】
例えば鉄筋コンクリート造の建物を構築する際に、コンクリートによる外壁部分から張り出すようにして、庇部が設けられることがある。また、コンクリートによる外壁部分から外側に張り出す庇部を、現場打ちコンクリートによって外壁部分と一体として形成する作業は、庇部が、片持ち状に張り出した部分となっているため、例えば建物の上階の外壁部分などの、相当の高さ位置に設ける必要がある場合には、コンクリートを打設するための型枠を組み付けたり、型枠を支持する支保工を設置したりするのに、多くの手間を要することになる。
【0003】
このようなことから、コンクリート製の庇部を、予め工場等において、プレキヤストコンクリート製品(PCa庇)として製造しておき、建物の構築現場において、コンクリートによる外壁部分から張り出すようにして、製造したPCa庇を接合することで、庇部を設ける技術も開発されている(例えば、特許文献1参照)。特許文献1に記載のコンクリート接合構造では、建物の外壁部分に設けられた現場打ちコンクリートによる梁の側面から外側に張り出すようにして形成された、上側支圧面及び下側支圧面による接合凹部に、PCa庇の基端部を挿入して接合するようになっており、PCa庇の自重や、PCa庇が外部から受ける荷重によって接合凹部に発生する曲げモーメントを、接合凹部の上側支圧面及び下側支圧面が支圧を介して梁に伝達することで、張り出したPCa庇を支持するようになっている。
【先行技術文献】
【特許文献】
【0004】
特開2009-84888号公報
【発明の概要】
【発明が解決しようとする課題】
【0005】
特許文献1に記載のコンクリート接合構造では、PCa庇の張り出し長さを大きくすると、接合凹部の上側支圧面及び下側支圧面に負荷される曲げモーメントが大きくなって、安定した状態でPCa庇を支持することが困難になると考えられることから、本願出願人は、庇部を備えるプレキヤストコンクリート製品として、好ましくは外壁部パネル部と、外壁部パネル部から横方向外側に向けて張り出した張出しパネル部と備える、例えばL字形の断面形状やT字形の断面形状の張出し支持部材を製造し、建物の構築現場においては、1階の天井部分の骨組み構造体の外側端部や、これよりも上階の天井部分の骨組み構造体の外側端部に、外壁部パネル部を接合することによって、張出し支持部材をこれらの骨組み構造体に支持させることで、より安定した状態で、張出しパネル部による、相当の張り出し長さの庇部を設けることを可能にする技術を提案する(図1参照)。
【0006】
一方、外壁部パネル部と張出しパネル部とを備える例えばL字形の断面形状やT字形の断面形状を有する張出し支持部材を用いて、建物の構築現場で庇部を設置する場合、張出しパネル部の張り出し長さが大きくなると、設置時に張出し支持部材を支保工等によって下方から支持する必要を生じることになるが、隣接する各種の設備構造物等の設置物との関係や、別発注の外構工事等との関係で、建築する建物の周囲の地盤面から仮設の支保工を立設させり、仮設の足場を設置したりすることが困難な作業現場では、このような張出し支持部材は、無支保工・無足場の状態で、建物の所定の高さ位置に設置しなければならなくなる。
【0007】
また、外壁部パネル部と張出しパネル部とを備える例えばL字形の断面形状やT字形の断面形状を有する張出し支持部材を、無支保工・無足場の状態で、建築する建物の所定の高さ位置に設置することが可能であれば、無支保工・無足場で設置された張出し支持部材の張出しパネル部を利用して、建物の上階部分を構築するための仮設の足場を組み立てることが可能になると考えられる。
【0008】
本発明は、地盤面から立設する仮設支保工及び仮設足場を用いることなく設置可能である、張出し支持部材を用いた外壁部施工用足場構造を提供することを目的とする。
【課題を解決するための手段】
【0009】
本発明は、地盤面から立設する仮設支保工及び仮設足場を用いることなく、建物の骨組み構造体の1階天井部の高さ位置から上方に設置されて、建物の上階部分の外壁部を施工する際の作業用の足場となる、張出し支持部材を用いた外壁部施工用足場構造であって、前記張出し支持部材は、建物の外壁部分に配置される外壁部パネル部と、該外壁部パネル部から横方向外側に向けて張り出した張出しパネル部とを含んで構成されていると共に、前記外壁部パネル部における前記張出しパネル部とは反対の背面側には、建物の骨組み構造体に係合される係合金物が、前記張出しパネル部の先端部分には、単管クランプ取付け用のクランプ接合金物が、各々取り付けられており、前記張出し支持部材は、前記外壁部パネル部に取り付けられた前記係合金物が、前記建物の前記骨組み構造体に設けられた被係止部に係止されることで、1階天井部の骨組み構造体の外側端部と、これよりも1階層又は2階層以上の上階に位置する上階天井部の骨組み構造体の外側端部との、少なくとも2か所の天井部分の高さ位置に固定されて設置されており、設置されたこれらの前記張出し支持部材の各々の前記張出しパネル部の先端部分には、前記クランプ接合金物に固着された複数の単管クランプに係着されることによって、横方向主単管パイプが、当該先端部分に沿って各々横方向に延設して固定された状態で、上下方向に間隔をおいて少なくとも2段に取り付けられており、少なくとも上下2段に取り付けられた前記横方向主単管パイプに、単管クランプを介して連結されることで、複数の縦方向単管パイプが、横方向に間隔をおいて立設して取り付けられており、複数の前記縦方向単管パイプに各々支持させて、複数の足場用ブラケットが、建物の骨組み構造体側に張り出すようにして、所定の高さ位置に取り付けられており、取り付けられたこれらの前記足場用ブラケットに支持させて、足場板が、建物の骨組み構造体と、縦横に一体として組み付けられた複数の前記横方向主単管パイプ及び複数の前記縦方向単管パイプによるパイプ設置面との間の領域において、所定の高さ位置に横方向に延設して設置されている、外壁部施工用足場構造を提供することにより、上記目的を達成したものである。
【0010】
そして、本発明の外壁部施工用足場構造においては、下階の前記張出し支持部材の前記張出しパネル部の先端部分に取り付けられた前記横方向主単管パイプと、上階の前記張出し支持部材の前記張出しパネル部の先端部分に取り付けられた前記横方向主単管パイプとの間の領域には、一又は複数の横方向副単管パイプが、複数の前記縦方向単管パイプに単管クランプを介して連結された状態で、横方向に延設して取り付けられていることが好ましい。
(【0011】以降は省略されています)
この特許をJ-PlatPat(特許庁公式サイト)で参照する
関連特許
株式会社奥村組
吊り治具
2か月前
株式会社奥村組
運搬方法
2か月前
株式会社奥村組
制振機構
2か月前
株式会社奥村組
制振機構
2か月前
株式会社奥村組
設置架台
1か月前
株式会社奥村組
施工管理装置
1か月前
株式会社奥村組
施工管理装置
1か月前
株式会社奥村組
ケーソン工法
2か月前
株式会社奥村組
爆薬装填装置
1か月前
株式会社奥村組
施工管理方法
1か月前
株式会社奥村組
非開削推進工法
1か月前
株式会社奥村組
シールド掘進機
2か月前
株式会社奥村組
非開削推進工法
1か月前
株式会社奥村組
非開削推進工法
1か月前
株式会社奥村組
非開削推進工法
1か月前
株式会社奥村組
非開削推進工法
1か月前
株式会社奥村組
ケーソン刃口金物
2か月前
株式会社奥村組
廃棄物分類処理装置
1か月前
株式会社奥村組
外壁部施工用足場構造
1か月前
株式会社奥村組
圧入式オープンケーソン
2か月前
株式会社奥村組
洗浄器具および洗浄方法
2か月前
株式会社奥村組
継手部用スパイラル鉄筋
1か月前
株式会社奥村組
継手部用スパイラル鉄筋
1か月前
株式会社奥村組
掘削機および非開削推進工法
1か月前
株式会社奥村組
壁下地用胴縁の端部固定構造
2か月前
株式会社奥村組
ドラムカッタ用集塵カバー体
1か月前
株式会社奥村組
免震用ダンパ装置の連結部構造
2か月前
株式会社奥村組
大規模建築物における骨組み構造
1か月前
国立大学法人 筑波大学
制振機構
2か月前
国立大学法人 筑波大学
制振機構
2か月前
株式会社奥村組
底部コンクリート構造体の撤去方法
1か月前
国立大学法人 筑波大学
制振機構
2か月前
株式会社奥村組
PCa庇パネル部材の取付け施工方法
1か月前
株式会社奥村組
PCa庇パネル部材を用いた足場構造
1か月前
株式会社奥村組
木質部材のコンクリート面への接合工法
2か月前
株式会社奥村組
スパイラル鉄筋を用いた継手部の配筋構造
1か月前
続きを見る
他の特許を見る