TOP
|
特許
|
意匠
|
商標
特許ウォッチ
Twitter
他の特許を見る
公開番号
2025140557
公報種別
公開特許公報(A)
公開日
2025-09-29
出願番号
2024040028
出願日
2024-03-14
発明の名称
制振機構
出願人
国立大学法人 筑波大学
,
株式会社奥村組
代理人
個人
主分類
F16F
15/02 20060101AFI20250919BHJP(機械要素または単位;機械または装置の効果的機能を生じ維持するための一般的手段)
要約
【課題】制振対象構造物の振動を抑制できる制振機構を容易に製造可能にする。
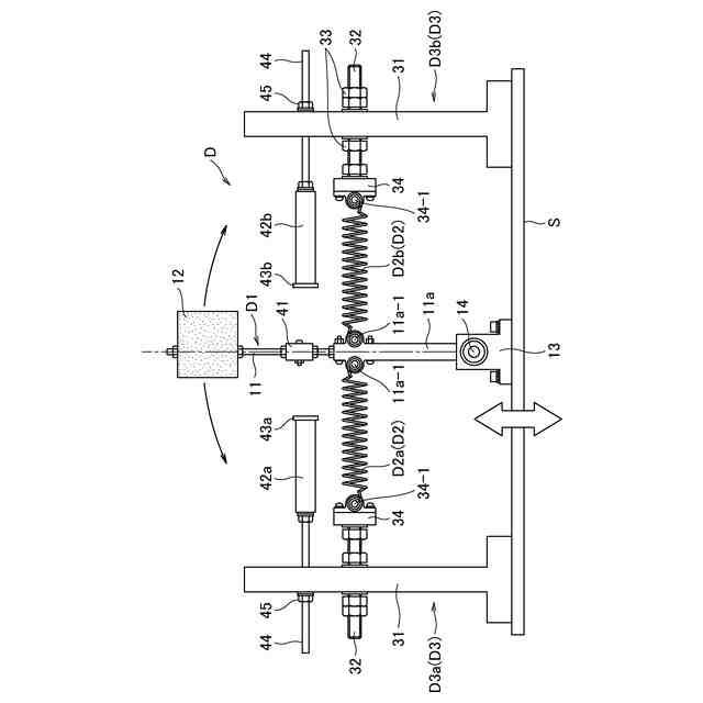
【解決手段】制振対象構造物Sの上面に起立して設置されて制振対象構造物S側のを支点に回動して振動するアーム部11、およびアーム部11に取り付けられた質量体12を備えた振動体D1と、アーム部11の振動面と一致する方向で且つアーム部11を挟んで相互に反対側の位置となるようにアーム部11に係止され、同一のばね定数を有する第1および第2の引張コイルばねD2a,D2bと、第1および第2の引張コイルばねD2a,D2bの他端を係止する第1および第2の係止部材D3a,D3bと、磁束の方向がアーム部11の振動方向となってアーム部11に設置された磁石41と、アーム部11を挟んで相互に反対側の位置となるように設置されて磁石の反発でアーム部11の振動幅を規制する第1および第2の磁石保持部42a,42bとを有する制振装置Dである。
【選択図】 図1
特許請求の範囲
【請求項1】
水平方向に構築され、所定の固有振動数(f)を持つ制振対象構造物と、
前記制振対象構造物に設置され、前記制振対象構造物の振動方向と交差する方向に振動可能で、且つ前記制振対象構造物の固有振動数(f)の半分の固有振動数(f/2)を持つ制振手段とを有し、
前記制振手段は、
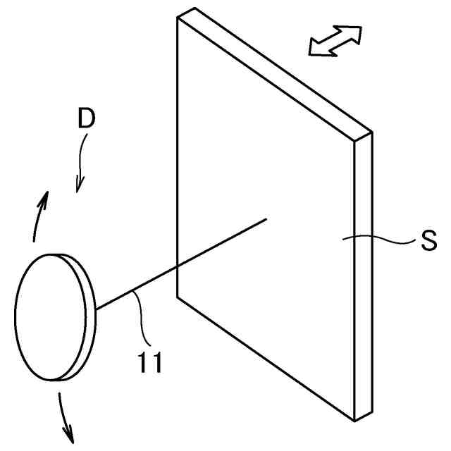
前記制振対象構造物の上面において起立して設置されて当該制振対象構造物側に設けられた回動軸を支点に横方向に振動可能なアーム部、および重心位置で前記アーム部に取り付けられた質量体を備えた振動体と、
前記アーム部の振動面と一致する方向で且つ前記アーム部を挟んで相互に反対側の位置となるようにして一方端が前記アーム部にそれぞれ係止され、互いに同一のばね定数を有する第1の引張コイルばねおよび第2の引張コイルばねと、
前記第1の引張コイルばねおよび前記第2の引張コイルばねの他端をそれぞれ係止して前記振動体を起立した状態に保持する第1の係止部材および第2の係止部材と、
磁束の方向が前記アーム部の振動方向に向けられて前記アーム部に設置された磁石と、
前記アーム部の振動面と一致する方向で且つ前記アーム部を挟んで相互に反対側の位置となるようにそれぞれ設置され、前記アーム部の磁石と対向した磁極が相互に同極となるように磁石を保持して磁石同士の反発で前記アーム部の振動幅を規制する第1の磁石保持部および第2の磁石保持部とを有し、
前記第1の引張コイルばねにおける前記アーム部の係止位置と前記第1の係止部材の係止位置との距離と、前記第2の引張コイルばねにおける前記アーム部の係止位置と前記第2の係止部材の係止位置との距離とが等距離に設定され、
前記アーム部の磁石と第1の磁石保持部の磁石との間隔と、前記アーム部の磁石と第2の磁石保持部の磁石の間隔とは、前記アーム部を前記制振対象構造物の設置面に対して垂直にした状態で等間隔に配置されている、
ことを特徴とする制振機構。
続きを表示(約 1,600 文字)
【請求項2】
前記制振対象構造物は水平方向に延在して構築された梁状または盤状の構造物であり、
前記制振手段は、前記制振対象構造物の上面に設置されて前記制振対象構造物の上下振動を抑制する、
ことを特徴とする請求項1記載の制振機構。
【請求項3】
前記制振対象構造物は、両端で支持された両持ち構造であり、
前記制振手段は、前記アーム部が前記制振対象構造物の両端の支持位置の中央位置に設置される、
ことを特徴とする請求項2記載の制振機構。
【請求項4】
前記制振対象構造物は、一端のみで支持された片持ち構造であり、
前記制振手段は、前記制振対象構造物の前記一端とは反対側の自由端に設置される、
ことを特徴とする請求項2記載の制振機構。
【請求項5】
前記制振対象構造物は塔状の構造物であり、
前記制振手段は、前記制振対象構造物の水平面に上向きに設置されて前記制振対象構造物の水平振動を抑制する、
ことを特徴とする請求項1記載の制振機構。
【請求項6】
前記制振手段は、前記制振対象構造物の頂部に設置される、
ことを特徴とする請求項5記載の制振機構。
【請求項7】
上下方向に構築され、所定の固有振動数(f)を持つ制振対象構造物と、
前記制振対象構造物に設置され、前記制振対象構造物の振動方向と交差する方向に振動可能で、且つ前記制振対象構造物の固有振動数(f)の半分の固有振動数(f/2)を持つ制振手段とを有し、
前記制振手段は、
前記制振対象構造物の側面において水平方向に向けて設置されて当該制振対象構造物側に設けられた回動軸を支点に上下方向または水平方向に振動可能なアーム部、および重心位置で前記アーム部に取り付けられた質量体を備えた振動体と、
前記アーム部の振動面と一致する方向で且つ前記アーム部を挟んで相互に反対側の位置となるようにして一方端が前記アーム部にそれぞれ係止され、互いに同一のばね定数を有する第1の引張コイルばねおよび第2の引張コイルばねと、
前記第1の引張コイルばねおよび前記第2の引張コイルばねの他端をそれぞれ係止して前記振動体を水平に保持する第1の係止部材および第2の係止部材と、
磁束の方向が前記アーム部の振動方向に向けられて前記アーム部に設置された磁石と、
前記アーム部の振動面と一致する方向で且つ前記アーム部を挟んで相互に反対側の位置となるようにそれぞれ設置され、前記アーム部の磁石と対向した磁極が相互に同極となるように磁石を保持して磁石同士の反発で前記アーム部の振動幅を規制する第1の磁石保持部および第2の磁石保持部とを有し、
前記第1の引張コイルばねにおける前記アーム部の係止位置と前記第1の係止部材の係止位置との距離と、前記第2の引張コイルばねにおける前記アーム部の係止位置と前記第2の係止部材の係止位置との距離とが等距離に設定され、
前記アーム部の磁石と第1の磁石保持部の磁石との間隔と、前記アーム部の磁石と第2の磁石保持部の磁石の間隔とは、前記アーム部を前記制振対象構造物の設置面に対して垂直にした状態で等間隔に配置されている、
ことを特徴とする制振機構。
【請求項8】
前記制振対象構造物は塔状の構造物であり、
前記制振手段は、前記制振対象構造物の側面に設置されて前記制振対象構造物の水平振動または上下振動を抑制する、
ことを特徴とする請求項7記載の制振機構。
【請求項9】
前記制振手段は、前記制振対象構造物の上部側面に設置される、
ことを特徴とする請求項8記載の制振機構。
発明の詳細な説明
【技術分野】
【0001】
本発明は、制振対象構造物に発生した振動を抑制する制振機構に関するものである。
続きを表示(約 1,900 文字)
【背景技術】
【0002】
例えば、道路や鉄道などが陸上の障害物や川や谷、海などの上を通過するために架け渡された橋梁などのように水平方向に構築された梁状または盤状の構造物や高層建築物などのように上下方向に建築された構造物(制振対象構造物)においては、地震時や強風時における揺れの周期が長く、地震や強風がおさまった後においてもしばらくの間は揺れが続いてしまう。
【0003】
そこで、制振対象構造物に制振手段を設置して制振することが行われている。この装置は、制振対象の構造物に、当該構造物側を支点にして振動可能なアーム部を介して補助的な質量体が付加された振動体を設置することにより、振動体が構造物の振動を肩代わりするように振動することで、制振対象構造物の固有振動数周辺での共振現象を抑制するものである。
【0004】
具体的には、制振対象構造物の振動方向と直交する方向が振動体の振動方向となり、且つ、制振対象構造物の固有周期に対して振動体の振動周期を半分にした制振手段を設置することにより、制振対象構造物の振動を低減させることが可能になる。
【0005】
なお、制振対象構造物の固有周期に対して振動体の振動周期を半分にした制振手段で制振対象構造物の振動を低減させる技術については、例えば特開2020-148339号公報などに詳しく記載されている。
【先行技術文献】
【特許文献】
【0006】
特開2020-148339号公報
【発明の概要】
【発明が解決しようとする課題】
【0007】
ここで、制振手段を構成する振動体を板ばねで振動する構造とすることが考えられる。しかしながら、板ばね構造の振動体に質量体を付加して制振対象構造物の固有周期に対して1/2周期となるようにするには、板ばねに十分な強度と必要な屈撓性とを併せ持たせなければならず、板ばねの寸法や素材の選定などについて多くの試行錯誤が伴うことが予想される。
【0008】
とりわけ、制振対象構造物が大規模構造物の場合には、板ばねの振動体やその振動体に付加する質量体が大きなものになることから、製造が困難になるものと思われる。
【0009】
本発明は、上述の技術的背景からなされたものであって、制振対象構造物が有する固有振動数に対して1/2周期となる制振手段を容易に製造することのできる制振機構を提供することを目的とする。
【課題を解決するための手段】
【0010】
上記課題を解決するため、請求項1に記載の本発明の制振機構は、水平方向に構築され、所定の固有振動数(f)を持つ制振対象構造物と、前記制振対象構造物に設置され、前記制振対象構造物の振動方向と交差する方向に振動可能で、且つ前記制振対象構造物の固有振動数(f)の半分の固有振動数(f/2)を持つ制振手段とを有し、前記制振手段は、前記制振対象構造物の上面において起立して設置されて当該制振対象構造物側に設けられた回動軸を支点に横方向に振動可能なアーム部、および重心位置で前記アーム部に取り付けられた質量体を備えた振動体と、前記アーム部の振動面と一致する方向で且つ前記アーム部を挟んで相互に反対側の位置となるようにして一方端が前記アーム部にそれぞれ係止され、互いに同一のばね定数を有する第1の引張コイルばねおよび第2の引張コイルばねと、前記第1の引張コイルばねおよび前記第2の引張コイルばねの他端をそれぞれ係止して前記振動体を起立した状態に保持する第1の係止部材および第2の係止部材と、磁束の方向が前記アーム部の振動方向に向けられて前記アーム部に設置された磁石と、前記アーム部の振動面と一致する方向で且つ前記アーム部を挟んで相互に反対側の位置となるようにそれぞれ設置され、前記アーム部の磁石と対向した磁極が相互に同極となるように磁石を保持して磁石同士の反発で前記アーム部の振動幅を規制する第1の磁石保持部および第2の磁石保持部とを有し、前記第1の引張コイルばねにおける前記アーム部の係止位置と前記第1の係止部材の係止位置との距離と、前記第2の引張コイルばねにおける前記アーム部の係止位置と前記第2の係止部材の係止位置との距離とが等距離に設定され、前記アーム部の磁石と第1の磁石保持部の磁石との間隔と、前記アーム部の磁石と第2の磁石保持部の磁石の間隔とは、前記アーム部を前記制振対象構造物の設置面に対して垂直にした状態で等間隔に配置されている、ことを特徴とする。
(【0011】以降は省略されています)
この特許をJ-PlatPat(特許庁公式サイト)で参照する
関連特許
国立大学法人 筑波大学
制振機構
1か月前
国立大学法人 筑波大学
制振機構
1か月前
国立大学法人 筑波大学
制振機構
1か月前
国立大学法人 筑波大学
表面検査方法
6か月前
国立大学法人 筑波大学
電力平準化装置
6か月前
国立大学法人 東京大学
せん妄判定方法
3か月前
国立大学法人 筑波大学
超音波検査装置
2か月前
国立大学法人 筑波大学
火災検出システム
1か月前
国立大学法人 筑波大学
火災検出システム
1か月前
国立大学法人 筑波大学
火災検出システム
1か月前
国立大学法人 筑波大学
火災検出システム
1か月前
国立大学法人 筑波大学
レオロジー測定装置
1か月前
国立大学法人 筑波大学
麹菌組織物の製造方法
2か月前
国立大学法人東京海洋大学
熱電池用電解液、熱電池
8か月前
亀田製菓株式会社
骨強化剤
9か月前
国立大学法人 筑波大学
がん抑制剤およびがん抑制用医薬
1か月前
国立大学法人 筑波大学
測定方法、測定装置、及び観察システム
3か月前
国立大学法人 筑波大学
測定装置、観察システム、及び測定方法
3か月前
NTT株式会社
復号装置及び復号方法
1か月前
国立大学法人 筑波大学
フィラグリン遺伝子型決定法およびキット
3か月前
国立大学法人 筑波大学
微生物、植物成長補助剤、及び植物の生育方法
4か月前
国立大学法人 筑波大学
振り子装置、制振装置及び制振装置の設計方法
7か月前
国立大学法人 筑波大学
オンサイト参加システム及びオンサイト参加方法
3か月前
国立大学法人 筑波大学
殺虫剤、殺虫活性を有する新規化合物及びその用途
11日前
国立大学法人 筑波大学
補正装置、撮影装置、補正方法および撮影システム
3か月前
NTT株式会社
映像処理装置、方法及びプログラム
1か月前
NTT株式会社
推論装置、推論方法、及びプログラム
3か月前
国立大学法人 筑波大学
モデル図作成方法、情報処理システムおよびプログラム
9か月前
NTT株式会社
情報処理装置、方法およびプログラム
2か月前
国立大学法人 筑波大学
紙及びその製造方法並びに紙用改質剤及びその製造方法
6か月前
NTT株式会社
データ解析装置、方法およびプログラム
2か月前
国立大学法人 筑波大学
慣性力設定装置、慣性力設定システム及び慣性力設定方法
3か月前
国立大学法人 筑波大学
放射線遮蔽材用焼結体粒子、その製造方法及びその使用方法
26日前
国立大学法人 筑波大学
光学素子、光線制御装置とその製造方法、およびディスプレイ
28日前
国立大学法人 筑波大学
反応性スパッタリング方法及び反応性スパッタリングシステム
2か月前
NTT株式会社
情報処理装置、情報処理方法及びプログラム
2か月前
続きを見る
他の特許を見る