TOP
|
特許
|
意匠
|
商標
特許ウォッチ
Twitter
他の特許を見る
公開番号
2025128635
公報種別
公開特許公報(A)
公開日
2025-09-03
出願番号
2024025422
出願日
2024-02-22
発明の名称
超音波検査装置
出願人
国立大学法人 筑波大学
代理人
個人
,
個人
,
個人
,
個人
,
個人
主分類
A61B
8/00 20060101AFI20250827BHJP(医学または獣医学;衛生学)
要約
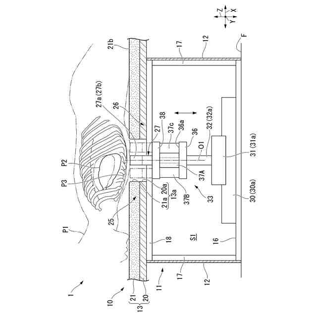
【課題】一般的なサイズよりも大きな心臓の像を容易に得ることができる超音波検査装置を提供する。
【解決手段】超音波検査装置1は、上方を向く第1支持面21bを有し、自身を上下方向に貫通する開口部13aが形成された支持部材13と、第1支持面21bよりも下方に配置され、開口部13aを通して上方に向かって超音波を発する投波部27aと、第1支持面21bよりも下方に配置され、超音波を検出する検出部27bと、を備える。
【選択図】図2
特許請求の範囲
【請求項1】
上方を向く第1支持面を有し、自身を上下方向に貫通する開口部が形成された支持部材と、
前記第1支持面よりも下方に配置され、前記開口部を通して上方に向かって超音波を発する投波部と、
前記第1支持面よりも下方に配置され、前記超音波を検出する検出部と、
を備える、超音波検査装置。
続きを表示(約 600 文字)
【請求項2】
前記開口部は貫通孔である、請求項1に記載の超音波検査装置。
【請求項3】
上方を向く第2支持面を有する第1支持部材と、
前記第1支持部材から上方に向かって延び、上下方向の長さを調節可能な複数のアクチュエータと、
前記複数のアクチュエータの上端部にそれぞれ接続され、前記投波部及び前記検出部を支持する第2支持部材と、
を備える、請求項1に記載の超音波検査装置。
【請求項4】
上方を向く第2支持面を有する第1支持部材と、
前記第1支持部材から上方に向かって延び、上下方向の長さを調節可能な複数のアクチュエータと、
前記複数のアクチュエータの上端部にそれぞれ接続され、前記投波部及び前記検出部を支持する第2支持部材と、
を備える、請求項2に記載の超音波検査装置。
【請求項5】
前記複数のアクチュエータとして、前記第2支持面に交差する軸線回りに4つの前記アクチュエータを備える、請求項3に記載の超音波検査装置。
【請求項6】
前記複数のアクチュエータとして、前記第2支持面に交差する軸線回りに4つの前記アクチュエータを備える、請求項4に記載の超音波検査装置。
【請求項7】
前記超音波検査装置は心臓用である、請求項1から6のいずれか一項に記載の超音波検査装置。
発明の詳細な説明
【技術分野】
【0001】
本発明は、超音波検査装置に関する。
続きを表示(約 1,700 文字)
【背景技術】
【0002】
従来、被検査者の心臓の状態を超音波を用いて検査する心臓超音波検査(心エコー)が行われている(例えば、特許文献1から4参照)。心臓超音波検査では、仰臥位(仰向け)の被検査者を診察台上で支持する。そして、超音波プローブにより心臓の断面の像を観察することで、心臓の検査をする。
一方で、非特許文献1では、診察台上で腹臥位(うつぶせ)になっている被検査者に対して心臓超音波検査を行っている。
【先行技術文献】
【特許文献】
【0003】
特許第4503366号公報
特許第4733789号公報
特許第5428795号公報
特許第5463554号公報
【非特許文献】
【0004】
Diego Ugalde, Juan Nicolas Medel, Carlos Romero and Rodrigo Cornejo, “Transthoracic cardiac ultrasound in prone position: a technique variation description”, Intensive Care Medicine (2018) 44:p.986-987
【発明の概要】
【発明が解決しようとする課題】
【0005】
一般的に、被検査者の心臓は、被検査者の胸骨から背中側に奥まった位置にある。このため、被検査者が仰臥位になると、被検査者に作用する重力により、被検査者の身体内で心臓が被検査者の背中側(下方)に移動する。特許文献1から4の心臓超音波検査では、仰臥位の被検査者の胸部に、被検査者の上方から超音波プローブを押し当てる。このように、背中側に移動して超音波プローブから離れている心臓に対して、超音波プローブで得られる心臓の像は、心臓超音波検査で得られる心臓の像の一般的なサイズである。
一方で、非特許文献1の心臓超音波検査では、診察台と腹臥位の被検査者との間に超音波プローブを挿入するため、検査に多大な労力を要する。
【0006】
本発明は、このような問題点に鑑みてなされたものであって、一般的なサイズよりも大きな心臓の像を容易に得ることができる超音波検査装置を提供することを目的とする。
【課題を解決するための手段】
【0007】
(1)第1の態様にかかる超音波検査装置は、上方を向く第1支持面を有し、自身を上下方向に貫通する開口部が形成された支持部材と、前記第1支持面よりも下方に配置され、前記開口部を通して上方に向かって超音波を発する投波部と、前記第1支持面よりも下方に配置され、前記超音波を検出する検出部と、を備える。
【0008】
(2)前記超音波検査装置では、前記開口部は貫通孔であってもよい。
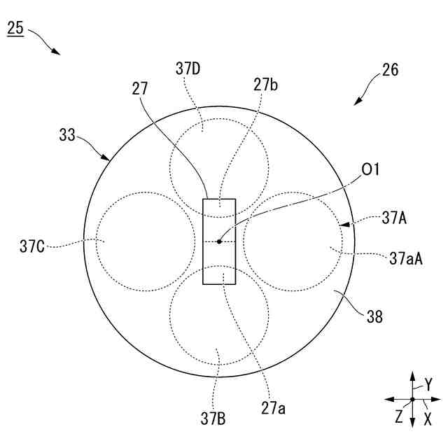
(3)前記超音波検査装置では、上方を向く第2支持面を有する第1支持部材と、前記第1支持部材から上方に向かって延び、上下方向の長さを調節可能な複数のアクチュエータと、前記複数のアクチュエータの上端部にそれぞれ接続され、前記投波部及び前記検出部を支持する第2支持部材と、を備えてもよい。
(4)前記超音波検査装置では、前記複数のアクチュエータとして、前記第2支持面に交差する軸線回りに4つの前記アクチュエータを備えてもよい。
(5)前記超音波検査装置は、心臓用であってもよい。
【発明の効果】
【0009】
本発明の超音波検査装置では、心臓の比較的大きな像を容易に得ることができる。
【図面の簡単な説明】
【0010】
本発明の一実施形態の超音波検査装置の斜視図である。
図1中の切断線A1-A1の断面図である。
同超音波検査装置における検査支援ロボットの斜視図である。
同検査支援ロボットの要部の平面図である。
【発明を実施するための形態】
(【0011】以降は省略されています)
特許ウォッチbot のツイートを見る
この特許をJ-PlatPat(特許庁公式サイト)で参照する
関連特許
国立大学法人 筑波大学
制振機構
3日前
国立大学法人 筑波大学
制振機構
3日前
国立大学法人 筑波大学
制振機構
3日前
国立大学法人 筑波大学
表面検査方法
4か月前
国立大学法人 東京大学
せん妄判定方法
1か月前
国立大学法人 筑波大学
電力平準化装置
4か月前
国立大学法人 筑波大学
超音波検査装置
29日前
国立大学法人 筑波大学
麹菌組織物の製造方法
1か月前
国立大学法人 筑波大学
測定装置、観察システム、及び測定方法
2か月前
国立大学法人 筑波大学
測定方法、測定装置、及び観察システム
2か月前
国立大学法人 筑波大学
フィラグリン遺伝子型決定法およびキット
2か月前
国立大学法人 筑波大学
微生物、植物成長補助剤、及び植物の生育方法
3か月前
国立大学法人 筑波大学
振り子装置、制振装置及び制振装置の設計方法
6か月前
国立大学法人 筑波大学
オンサイト参加システム及びオンサイト参加方法
2か月前
国立大学法人 筑波大学
補正装置、撮影装置、補正方法および撮影システム
1か月前
NTT株式会社
映像処理装置、方法及びプログラム
3日前
NTT株式会社
情報処理装置、方法およびプログラム
21日前
NTT株式会社
推論装置、推論方法、及びプログラム
1か月前
国立大学法人 筑波大学
紙及びその製造方法並びに紙用改質剤及びその製造方法
5か月前
国立大学法人 筑波大学
慣性力設定装置、慣性力設定システム及び慣性力設定方法
1か月前
NTT株式会社
データ解析装置、方法およびプログラム
21日前
NTT株式会社
情報処理装置、情報処理方法及びプログラム
1か月前
国立大学法人 筑波大学
反応性スパッタリング方法及び反応性スパッタリングシステム
22日前
国立大学法人 筑波大学
表面検査装置
3か月前
国立大学法人 筑波大学
酸素飽和度イメージング内視鏡を用いた潰瘍性大腸炎活動性評価
5か月前
株式会社サンワイズ
生体情報生成方法及び生体情報管理システム
5か月前
国立大学法人 筑波大学
会計情報解析方法、会計情報解析装置及び会計情報解析プログラム
13日前
国立大学法人 筑波大学
判定装置、選択装置、判定システム、判定方法、選択方法及びプログラム
5か月前
国立大学法人 筑波大学
糸状菌のスクリーニング方法及び糸状菌用培養条件のスクリーニング方法
4か月前
一般財団法人日本気象協会
情報処理装置、情報処理方法、及びプログラム
3か月前
国立大学法人 筑波大学
ヒト化抗DNAM-1抗体
1か月前
ヤマト運輸株式会社
情報処理装置、プログラム、情報処理方法及びシステム
3か月前
東洋紡株式会社
マイコバクテリウム属鑑別用オリゴヌクレオチド及びその用途
1か月前
国立大学法人 筑波大学
液体熱電変換素子用電極、液体熱電変換素子、液体熱電変換素子用電極の製造方法
4か月前
独立行政法人エネルギー・金属鉱物資源機構
予測方法、予測装置及び予測プログラム
1か月前
国立大学法人 筑波大学
柔軟体の形状検出装置、柔軟体の形状検出方法、柔軟体の形状制御方法、プログラム、記録媒体
3か月前
続きを見る
他の特許を見る