TOP
|
特許
|
意匠
|
商標
特許ウォッチ
Twitter
他の特許を見る
公開番号
2025153680
公報種別
公開特許公報(A)
公開日
2025-10-10
出願番号
2024056285
出願日
2024-03-29
発明の名称
レオロジー測定装置
出願人
国立大学法人 筑波大学
代理人
弁理士法人 HARAKENZO WORLD PATENT & TRADEMARK
主分類
G01N
19/00 20060101AFI20251002BHJP(測定;試験)
要約
【課題】多様な試料に対して、高いストレスを印加した状態でのレオロジーの測定を容易とする。
【解決手段】レオロジー測定装置(10)は、試料(SA)のレオロジー特性を測定するレオロジー測定装置であって、第1の方向に対向して配置され、試料を挟持する第1、第2の挟持部(11、12)と、第1、第2の挟持部の少なくとも一方を第1の方向と異なる第2の方向に移動させる移動素子(13a、13b)と、を備える。
【選択図】図1
特許請求の範囲
【請求項1】
試料のレオロジー特性を測定するレオロジー測定装置であって、
第1の方向に対向して配置され、前記試料を挟持する第1、第2の挟持部と、
前記第1、第2の挟持部の少なくとも一方を前記第1の方向と異なる第2の方向に移動させる移動素子と、
を備えるレオロジー測定装置。
続きを表示(約 990 文字)
【請求項2】
前記第2の挟持部は、前記第1の挟持部に対して可動であり、
前記移動素子は、前記第1の挟持部に対して、前記第2の挟持部を移動させる、
請求項1に記載のレオロジー測定装置。
【請求項3】
前記第2の挟持部は、端部を有し、
前記レオロジー測定装置は、前記端部に対向し、前記第1の挟持部に対して固定される固定部材を備え、
前記移動素子は、前記固定部材に対して、前記端部を前記第2の方向に移動させる、
請求項2に記載のレオロジー測定装置。
【請求項4】
前記第2の挟持部は、前記端部に対して、前記第2の方向に位置する第2の端部を有し、
前記第2の端部に対向し、前記第1の挟持部に対して固定される第2の固定部材と、
前記第2の固定部材に対して、前記第2の端部を前記第2の方向に移動させる第2の移動素子と、を備える、
請求項3に記載のレオロジー測定装置。
【請求項5】
前記第1の挟持部は、相対的に移動可能な第1、第2の挟持要素を有し、
前記第2の挟持部は、相対的に移動可能な第3、第4の挟持要素を有し、
前記第1、第3の挟持要素は、前記試料の一部を挟持して互いに固定され、
前記第2、第4の挟持要素は、前記試料の他の一部を挟持して互いに固定され、
前記ピエゾ素子は、前記第1、第3の挟持要素に対して、前記第2、第4の挟持要素を移動させる、
請求項1に記載のレオロジー測定装置。
【請求項6】
前記第1、第2の前記挟持部の少なくとも一方は、開口部を有する、
請求項1から5の何れか1項に記載のレオロジー測定装置。
【請求項7】
前記試料は、100μm以下の厚さを有する、
請求項1から5の何れか1項に記載のレオロジー測定装置。
【請求項8】
前記試料は、10μm以下の厚さを有する、
請求項7に記載のレオロジー測定装置。
【請求項9】
前記試料は、膜に挟まれた液体である、
請求項7に記載のレオロジー測定装置。
【請求項10】
前記試料は、膜形状を有する、
請求項7に記載のレオロジー測定装置。
発明の詳細な説明
【技術分野】
【0001】
本発明は、レオロジー測定装置に関する。
続きを表示(約 1,300 文字)
【背景技術】
【0002】
対象物の粘度、粘弾性等のレオロジーを測定するレオロジー測定装置、例えば、粘度計が知られている(例えば、特許文献1参照)。粘度計として、種々の方式(例えば、二重円筒式、平行平板式、キャピラリー式)がある。
【先行技術文献】
【特許文献】
【0003】
特開2022-071192号公報
【発明の概要】
【発明が解決しようとする課題】
【0004】
しかしながら、上述のような従来技術は、多様な測定対象(試料)に対して印加できるストレス(例えば、せん断速度)に一定の限界がある。例えば、二重円筒式や平行平板式の粘度計では、モータを回転させて、せん断力を生じさせているが、モータの回転速度の限界から10
4
[1/s]以上のせん断速度を実現することは困難であった。また、キャピラリー式の粘度計では、キャピラリー(流路)に試料(液体)を流して、せん断速度を高め、10
6
[1/s]のせん断速度を実現している。しかし、キャピラリーは、細く、詰まり易いため、高粘度の試料の測定は、困難であった。
【0005】
本発明の一態様は、多様な試料に対して、高いストレスを印加した状態でのレオロジーの測定を容易とするレオロジー測定装置を実現することを目的とする。
【課題を解決するための手段】
【0006】
上記の課題を解決するために、本発明の一態様に係るレオロジー測定装置は、試料のレオロジー特性を測定するレオロジー測定装置であって、第1の方向に対向して配置され、前記試料を挟持する第1、第2の挟持部と、前記第1、第2の挟持部の少なくとも一方を前記第1の方向と異なる第2の方向に移動させる移動素子と、を備える。
【発明の効果】
【0007】
本発明の一態様によれば、多様な試料に対して、高いストレスを印加した状態でのレオロジーの測定を容易とすることができる。
【図面の簡単な説明】
【0008】
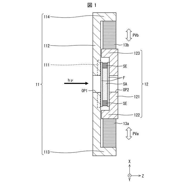
本発明の実施形態1に係るレオロジー測定装置を表す模式的断面図である。
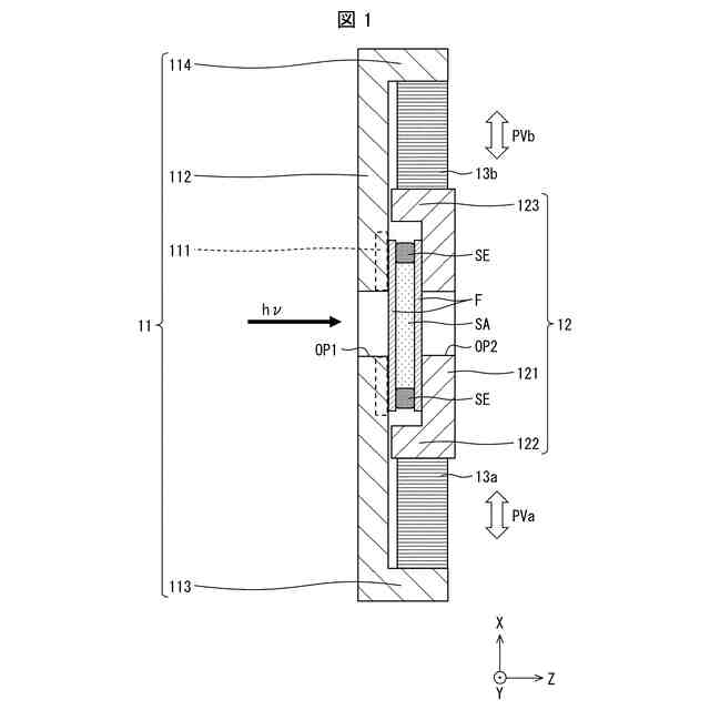
本発明の実施形態1に係るレオロジー測定装置を表す斜視図である。
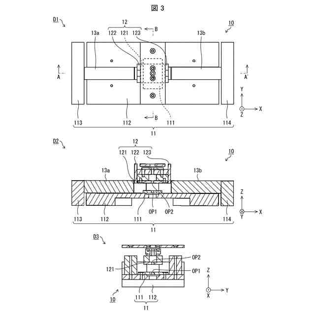
本発明の実施形態1に係るレオロジー測定装置を表す図である。
本発明の実施形態2に係るレオロジー測定装置を表す断面図である。
【発明を実施するための形態】
【0009】
〔実施形態1〕
以下、本発明の一実施形態について、詳細に説明する。図1は、本発明の実施形態1に係るレオロジー測定装置10の一例を表す模式的断面図である。なお、判り易さのために、XYZの方向を表す座標軸が示される。
【0010】
レオロジー測定装置10は、試料SAのレオロジー特性を測定するための装置である。レオロジーは、試料SAの粘性、粘弾性等に関わる特性である。後述のように、レオロジー測定装置10を用いて、膜形状の試料SAに面方向(図1においては、XY面と平行な方向)のせん断力を印加して、試料SAを観察することができる。
(【0011】以降は省略されています)
この特許をJ-PlatPat(特許庁公式サイト)で参照する
関連特許
国立大学法人 筑波大学
制振機構
1か月前
国立大学法人 筑波大学
制振機構
1か月前
国立大学法人 筑波大学
制振機構
1か月前
国立大学法人 東京大学
せん妄判定方法
3か月前
国立大学法人 筑波大学
超音波検査装置
2か月前
国立大学法人 筑波大学
火災検出システム
1か月前
国立大学法人 筑波大学
火災検出システム
1か月前
国立大学法人 筑波大学
火災検出システム
1か月前
国立大学法人 筑波大学
火災検出システム
1か月前
国立大学法人 筑波大学
レオロジー測定装置
1か月前
国立大学法人 筑波大学
麹菌組織物の製造方法
2か月前
国立大学法人 筑波大学
がん抑制剤およびがん抑制用医薬
1か月前
国立大学法人 筑波大学
測定方法、測定装置、及び観察システム
3か月前
国立大学法人 筑波大学
測定装置、観察システム、及び測定方法
3か月前
NTT株式会社
復号装置及び復号方法
1か月前
国立大学法人 筑波大学
フィラグリン遺伝子型決定法およびキット
3か月前
国立大学法人 筑波大学
微生物、植物成長補助剤、及び植物の生育方法
4か月前
国立大学法人 筑波大学
オンサイト参加システム及びオンサイト参加方法
3か月前
国立大学法人 筑波大学
補正装置、撮影装置、補正方法および撮影システム
3か月前
国立大学法人 筑波大学
殺虫剤、殺虫活性を有する新規化合物及びその用途
11日前
NTT株式会社
映像処理装置、方法及びプログラム
1か月前
NTT株式会社
推論装置、推論方法、及びプログラム
3か月前
NTT株式会社
情報処理装置、方法およびプログラム
2か月前
国立大学法人 筑波大学
慣性力設定装置、慣性力設定システム及び慣性力設定方法
3か月前
NTT株式会社
データ解析装置、方法およびプログラム
2か月前
国立大学法人 筑波大学
放射線遮蔽材用焼結体粒子、その製造方法及びその使用方法
26日前
国立大学法人 筑波大学
表面検査装置
4か月前
国立大学法人 筑波大学
反応性スパッタリング方法及び反応性スパッタリングシステム
2か月前
国立大学法人 筑波大学
光学素子、光線制御装置とその製造方法、およびディスプレイ
28日前
NTT株式会社
情報処理装置、情報処理方法及びプログラム
2か月前
東京エレクトロン株式会社
成膜方法、成膜装置及び半導体装置
1か月前
三菱重工業株式会社
移動体、自己位置推定方法及びプログラム
1か月前
国立大学法人 筑波大学
会計情報解析方法、会計情報解析装置及び会計情報解析プログラム
2か月前
三菱重工業株式会社
情報処理装置、情報処理方法及びプログラム
1か月前
東洋紡株式会社
結核菌群検出用オリゴヌクレオチド及びその用途
1か月前
東洋紡株式会社
ノロウイルス検出用オリゴヌクレオチド及びその用途
1か月前
続きを見る
他の特許を見る