TOP
|
特許
|
意匠
|
商標
特許ウォッチ
Twitter
他の特許を見る
公開番号
2025096397
公報種別
公開特許公報(A)
公開日
2025-06-26
出願番号
2025062373,2024094693
出願日
2025-04-04,2024-06-11
発明の名称
表面検査装置
出願人
国立大学法人 筑波大学
代理人
個人
,
個人
,
個人
,
個人
,
個人
主分類
G01N
21/88 20060101AFI20250619BHJP(測定;試験)
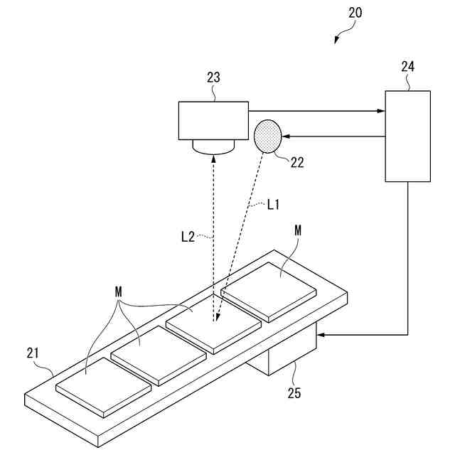
要約
【課題】物体の表面状態を高精度で高速に検出することが可能であり、かつ、簡易な構成で低コストに製造することが可能な表面検査装置、およびこれを用いた表面検査方法を提供する。
【解決手段】被検査体に向けて検査光を照射する光源と、前記検査光が前記被検査体で反射された反射光を受光する受光手段と、前記被検査体に対する前記検査光の入射角度を相対変化させる変位手段と、を有し、前記受光手段は、前記反射光の輝度の差分を出力する輝度変化検出装置であることを特徴とする。
【選択図】図1
特許請求の範囲
【請求項1】
被検査体に向けて検査光を照射する複数の光源からなる光源部と、前記検査光が前記被検査体で反射された反射光を受光する受光手段と、前記被検査体に対する前記検査光の入射角度を相対変化させる変位手段と、を有し、
前記受光手段は、画素ごとに独立して、受光した前記反射光の輝度変化が予め設定した閾値を超えた時刻に非同期にイベントを輝度の差分として出力する輝度変化検出装置であり、
前記被検査体の検査面の中心と、前記光源部の中心と、前記受光手段の光軸とが、全て一つの光軸上に揃うように配置されることを特徴とする表面検査装置。
続きを表示(約 790 文字)
【請求項2】
被検査体に向けて検査光を照射する複数の光源からなる光源部と、前記被検査体を介して前記光源と反対側に配され、前記検査光が前記被検査体で透過、屈折、散乱のうち、少なくともいずれか1つによって生じた測定光を受光する受光手段と、前記被検査体に対する前記検査光の入射角度を相対変化させる変位手段と、を有し、
前記受光手段は、画素ごとに独立して、受光した前記測定光の輝度変化が予め設定した閾値を超えた時刻に非同期にイベントを輝度の差分として出力する輝度変化検出装置であり、
前記被検査体の検査面の中心と、前記光源部の中心と、前記受光手段の光軸とが、全て一つの光軸上に揃うように配置されることを特徴とする表面検査装置。
【請求項3】
前記受光手段は、前記反射光の輝度の差分の極性を出力する輝度変化検出装置であることを特徴とする請求項1に記載の表面検査装置。
【請求項4】
前記受光手段は、前記測定光の輝度の差分の極性を出力する輝度変化検出装置であることを特徴とする請求項2に記載の表面検査装置。
【請求項5】
前記変位手段は、前記光源部から出射される前記検査光の出射角度を変化させるものであることを特徴とする請求項1から4のいずれか一項に記載の表面検査装置。
【請求項6】
前記変位手段は、前記被検査体の前記光源部に対する位置を変化させるものであることを特徴とする請求項1から4のいずれか一項に記載の表面検査装置。
【請求項7】
前記光源の波長は、赤外光の波長領域であることを特徴とする請求項1から4のいずれか一項に記載の表面検査装置。
【請求項8】
前記輝度変化検出装置は、イベントベースカメラであることを特徴とする請求項3または4に記載の表面検査装置。
発明の詳細な説明
【技術分野】
【0001】
本発明は、表面検査装置に関するものである。
続きを表示(約 1,700 文字)
【背景技術】
【0002】
物体の表面欠陥などを検出する表面検査装置は、様々な構成のものが実用化されているが、一般的なものとしては、被検査体に向けて検査光を照射して、被検査体の表面を撮像した静止画像を取得して、この静止画像を画像解析したり、無欠陥の参照画像と比較することによって、被検査体の表面欠陥の有無やその形状を検出するものが知られている(例えば、特許文献1、2を参照)。
【先行技術文献】
【特許文献】
【0003】
特開2022-138669号公報
特開2019-200187号公報
【発明の概要】
【発明が解決しようとする課題】
【0004】
しかしながら、従来知られている画像を用いた表面検査装置では、微細な表面欠陥を高精度に検出するために、高解像度のカメラや、サイズの大きい画像を扱うための高性能なプロセッサなどが必要となり、装置コストが高いという課題があった。また、微細な表面欠陥を高精度に検出するためはサイズの大きい画像を扱う必要があり、短時間で大量の被検査体を検査する際には、大規模で高コストな検査装置が必要とされていた。
【0005】
本発明は上記の課題に鑑みてなされたものであり、物体の表面状態を高精度で高速に検出することが可能であり、かつ、簡易な構成で低コストに製造することが可能な表面検査装置を提供することを目的とする。
【課題を解決するための手段】
【0006】
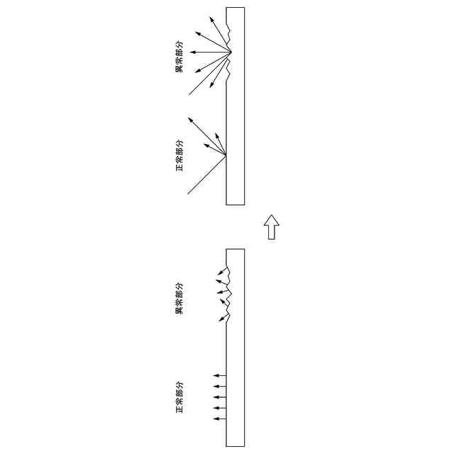
本発明者らは、被検査体に向けて照射角度を変化させて検査光を照射して、この被検査体で反射された反射光の輝度変化の差分データを用いることによって、従来の表面検査装置に用いられる画像データと比較して、データ容量が格段に小さく画像処理が容易でありながら、高精度に物体の表面状態が検出できることを見出した。
【0007】
本発明は、上述した知見に基づいてなされたものであって、前述した課題を解決するために、本発明の一実施形態の表面検査装置は、以下の手段を提案している。
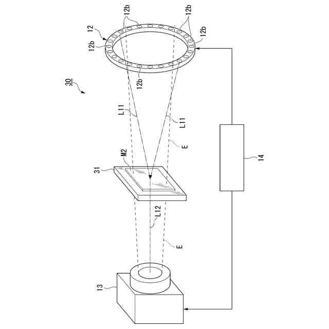
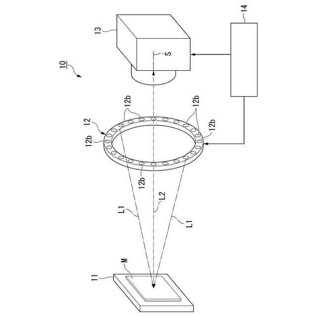
(1)本発明の態様1の表面検査装置は、被検査体に向けて検査光を照射する複数の光源からなる光源部と、前記検査光が前記被検査体で反射された反射光を受光する受光手段と、前記被検査体に対する前記検査光の入射角度を相対変化させる変位手段と、を有し、前記受光手段は、画素ごとに独立して、受光した前記反射光の輝度変化が予め設定した閾値を超えた時刻に非同期にイベントを輝度の差分として出力する輝度変化検出装置であり、前記被検査体の検査面の中心と、前記光源部の中心と、前記受光手段の光軸とが、全て一つの光軸上に揃うように配置されることを特徴とする。
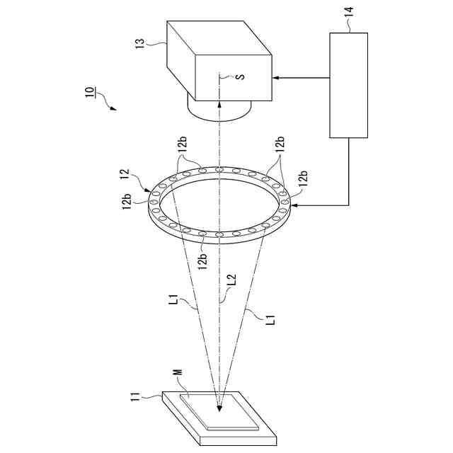
【0008】
(2)本発明の態様2の表面検査装置は、被検査体に向けて検査光を照射する複数の光源からなる光源部と、前記被検査体を介して前記光源と反対側に配され、前記検査光が前記被検査体で透過、屈折、散乱のうち、少なくともいずれか1つによって生じた測定光を受光する受光手段と、前記被検査体に対する前記検査光の入射角度を相対変化させる変位手段と、を有し、前記受光手段は、画素ごとに独立して、受光した前記測定光の輝度変化が予め設定した閾値を超えた時刻に非同期にイベントを輝度の差分として出力する輝度変化検出装置であり、前記被検査体の検査面の中心と、前記光源部の中心と、前記受光手段の光軸とが、全て一つの光軸上に揃うように配置されることを特徴とする。
【0009】
(3)本発明の態様3は、態様1の表面検査装置において、前記受光手段は、前記反射光の輝度の差分の極性を出力する輝度変化検出装置であることを特徴とする。
【0010】
(4)本発明の態様4は、態様2の表面検査装置において、前記受光手段は、前記測定光の輝度の差分の極性を出力する輝度変化検出装置であることを特徴とする。
(【0011】以降は省略されています)
この特許をJ-PlatPat(特許庁公式サイト)で参照する
関連特許
国立大学法人 筑波大学
制振機構
3日前
国立大学法人 筑波大学
制振機構
3日前
国立大学法人 筑波大学
制振機構
3日前
国立大学法人 筑波大学
表面検査方法
4か月前
国立大学法人 筑波大学
電力平準化装置
4か月前
国立大学法人 東京大学
せん妄判定方法
1か月前
国立大学法人 筑波大学
超音波検査装置
29日前
国立大学法人 筑波大学
麹菌組織物の製造方法
1か月前
国立大学法人 筑波大学
測定装置、観察システム、及び測定方法
2か月前
国立大学法人 筑波大学
測定方法、測定装置、及び観察システム
2か月前
国立大学法人 筑波大学
フィラグリン遺伝子型決定法およびキット
2か月前
国立大学法人 筑波大学
振り子装置、制振装置及び制振装置の設計方法
6か月前
国立大学法人 筑波大学
微生物、植物成長補助剤、及び植物の生育方法
3か月前
国立大学法人 筑波大学
オンサイト参加システム及びオンサイト参加方法
2か月前
国立大学法人 筑波大学
補正装置、撮影装置、補正方法および撮影システム
1か月前
NTT株式会社
映像処理装置、方法及びプログラム
3日前
NTT株式会社
推論装置、推論方法、及びプログラム
1か月前
NTT株式会社
情報処理装置、方法およびプログラム
21日前
国立大学法人 筑波大学
紙及びその製造方法並びに紙用改質剤及びその製造方法
5か月前
国立大学法人 筑波大学
慣性力設定装置、慣性力設定システム及び慣性力設定方法
1か月前
NTT株式会社
データ解析装置、方法およびプログラム
21日前
国立大学法人 筑波大学
反応性スパッタリング方法及び反応性スパッタリングシステム
22日前
NTT株式会社
情報処理装置、情報処理方法及びプログラム
1か月前
国立大学法人 筑波大学
表面検査装置
3か月前
国立大学法人 筑波大学
酸素飽和度イメージング内視鏡を用いた潰瘍性大腸炎活動性評価
5か月前
株式会社サンワイズ
生体情報生成方法及び生体情報管理システム
5か月前
国立大学法人 筑波大学
会計情報解析方法、会計情報解析装置及び会計情報解析プログラム
13日前
国立大学法人 筑波大学
糸状菌のスクリーニング方法及び糸状菌用培養条件のスクリーニング方法
4か月前
国立大学法人 筑波大学
判定装置、選択装置、判定システム、判定方法、選択方法及びプログラム
5か月前
国立大学法人 筑波大学
ヒト化抗DNAM-1抗体
1か月前
一般財団法人日本気象協会
情報処理装置、情報処理方法、及びプログラム
3か月前
ヤマト運輸株式会社
情報処理装置、プログラム、情報処理方法及びシステム
3か月前
東洋紡株式会社
マイコバクテリウム属鑑別用オリゴヌクレオチド及びその用途
1か月前
国立大学法人 筑波大学
液体熱電変換素子用電極、液体熱電変換素子、液体熱電変換素子用電極の製造方法
4か月前
東洋紡株式会社
マイコプラズマ・ホミニス検出用オリゴヌクレオチド及びその用途
6か月前
独立行政法人エネルギー・金属鉱物資源機構
予測方法、予測装置及び予測プログラム
1か月前
続きを見る
他の特許を見る