TOP
|
特許
|
意匠
|
商標
特許ウォッチ
Twitter
他の特許を見る
10個以上の画像は省略されています。
公開番号
2025159639
公報種別
公開特許公報(A)
公開日
2025-10-21
出願番号
2024062366
出願日
2024-04-08
発明の名称
光学素子、光線制御装置とその製造方法、およびディスプレイ
出願人
国立大学法人 筑波大学
,
国立研究開発法人産業技術総合研究所
代理人
個人
,
個人
,
個人
,
個人
,
個人
主分類
G02B
26/08 20060101AFI20251014BHJP(光学)
要約
【課題】光線の制御性に優れ、高集積化を可能とする光学素子、同光学素子を備えた光線制御装置とその製造方法、および、同光線制御装置を備えたディスプレイを提供する。
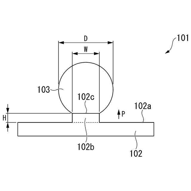
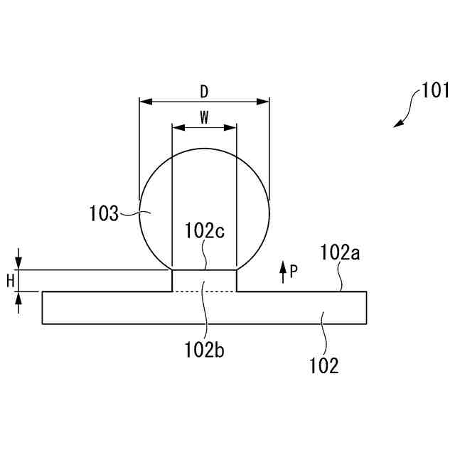
【解決手段】本発明の光学素子101は、一面102aに凸部102bを有する透明な第一基板102と、凸部102bの先端102cに配置された液滴103と、を備える。
【選択図】図1
特許請求の範囲
【請求項1】
一面に凸部を有する透明な第一基板と、
前記凸部の先端に配置された液滴と、を備えることを特徴とする光学素子。
続きを表示(約 1,100 文字)
【請求項2】
前記液滴は、イオン液体またはグリセロールであることを特徴とする請求項1に記載の光学素子。
【請求項3】
請求項1または2のいずれかに記載の光学素子と、
前記第一基板の一面において、前記凸部の周囲に配置された第一電極と、
前記液滴を挟んで前記第一基板と反対側に配置され、前記第一基板の一面と対向する一面を有する透明な第二基板と、
前記第二基板の一面に配置された第二電極と、
一端が前記第一基板の一面に接触し、他端が前記第二基板の一面に接触するスペーサと、を備えることを特徴とする光線制御装置。
【請求項4】
前記第一基板の一面に前記凸部を複数有し、
複数の前記凸部が、前記第一基板の一面上で所定の目的に合わせて配置されることを特徴とする請求項3に記載の光線制御装置。
【請求項5】
前記第一電極は、前記第一基板の一面上で、前記凸部の全周を囲む一つの第一導電部からなることを特徴とする請求項3に記載の光線制御装置。
【請求項6】
前記第一電極は、前記第一基板の一面上で、前記凸部の外周に沿って、等間隔で離間して並ぶ複数の第一導電部からなることを特徴とする請求項3に記載の光線制御装置。
【請求項7】
前記第二電極は、前記第二基板の一面上で、前記第一基板の凸部と対向する領域の外周に沿って、等間隔で並ぶ複数の第二導電部からなることを特徴とする請求項6に記載の光線制御装置。
【請求項8】
前記第一基板の一面または前記第二基板の一面の法線方向からの平面視において、複数の前記第一導電部と複数の前記第二導電部が、それぞれ一つずつ重なるように配置されることを特徴とする請求項7に記載の光線制御装置。
【請求項9】
請求項3に記載の光線制御装置と、
前記第一基板の他面側に配置される光源と、を備えることを特徴とするディスプレイ。
【請求項10】
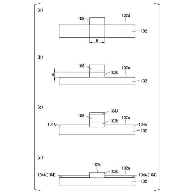
請求項3に記載の光線制御装置の製造方法であって、
前記第一基板に、凸部を有する一面を形成する工程と、
前記第一基板の一面において、前記凸部の周囲に前記第一電極を形成する工程と、
前記凸部の先端に、前記液滴を配置する工程と、
前記第二基板の一面に前記第二電極を形成する工程と、
前記第一基板の一面と前記第二基板の一面が離間した状態で対向するように、前記スペーサを介して、前記第一基板と前記第二基板とを固定する工程と、を有することを特徴とする光線制御装置の製造方法。
発明の詳細な説明
【技術分野】
【0001】
本発明は、光学素子、光線制御装置とその製造方法、およびディスプレイに関する。
続きを表示(約 1,100 文字)
【背景技術】
【0002】
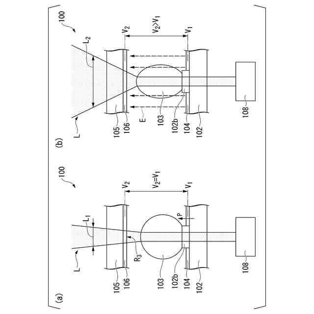
裸眼で立体視が可能な映像を生み出す平面ディスプレイは、エンターテイメントや医療といった分野での利用が強く期待されている。平面ディスプレイに用いられる技術として特に着目されているのは、光線の焦点(幅)と方向を制御することで、人間にとっての両眼視差を作り、立体像を形成する光線制御技術である(特許文献1等)。光線制御技術は、微小電気機械システムを用いたミラーアレイ、液晶からなる空間光変調素子、光フェーズドアレイ等にも用いられている。新たに開発されるデバイスは、小型であることが求められる傾向にあり、それに伴い、光線の制御性(焦点分解能・角度分解能・応答速度)を向上させ、さらに高集積化を可能とする技術が求められている。
【先行技術文献】
【特許文献】
【0003】
特開2017-003688号公報
【発明の概要】
【発明が解決しようとする課題】
【0004】
本発明は上記事情に鑑みてなされたものであり、光線の制御性に優れ、高集積化を可能とする光学素子、同光学素子を備えた光線制御装置とその製造方法、および、同光線制御装置を備えたディスプレイを提供することを目的とする。
【課題を解決するための手段】
【0005】
上記課題を解決するため、本発明は以下の手段を採用している。
【0006】
(1)本発明の一態様に係る光学素子は、一面に凸部を有する透明な第一基板と、前記凸部の先端に配置された液滴と、を備える。
【0007】
(2)前記(1)に記載の光学素子において、前記液滴は、イオン液体またはグリセロールであることが好ましい。
【0008】
(3)本発明の一態様に係る光線制御装置は、前記(1)または(2)のいずれかに記載の光学素子と、前記第一基板の一面において、前記凸部の周囲に配置された第一電極と、前記液滴を挟んで前記第一基板と反対側に配置され、前記第一基板の一面と対向する一面を有する透明な第二基板と、前記第二基板の一面に配置された第二電極と、一端が前記第一基板の一面に接触し、他端が前記第二基板の一面に接触するスペーサと、を備える。
【0009】
(4)前記(3)に記載の光線制御装置において、前記第一基板の一面に前記凸部を複数有し、複数の前記凸部が、前記第一基板の一面上で所定の目的に合わせて配置されてもよい。
【0010】
(5)前記(3)または(4)のいずれかに記載の光線制御装置において、前記第一電極は、前記第一基板の一面上で、前記凸部の全周を囲む一つの第一導電部からなってもよい。
(【0011】以降は省略されています)
特許ウォッチbot のツイートを見る
この特許をJ-PlatPat(特許庁公式サイト)で参照する
関連特許
国立大学法人 筑波大学
制振機構
1か月前
国立大学法人 筑波大学
制振機構
1か月前
国立大学法人 筑波大学
制振機構
1か月前
国立大学法人 筑波大学
表面検査方法
6か月前
国立大学法人 筑波大学
超音波検査装置
2か月前
国立大学法人 筑波大学
電力平準化装置
6か月前
国立大学法人 東京大学
せん妄判定方法
3か月前
国立大学法人 筑波大学
火災検出システム
1か月前
国立大学法人 筑波大学
火災検出システム
1か月前
国立大学法人 筑波大学
火災検出システム
1か月前
国立大学法人 筑波大学
火災検出システム
1か月前
国立大学法人 筑波大学
レオロジー測定装置
1か月前
国立大学法人 筑波大学
麹菌組織物の製造方法
2か月前
国立大学法人 筑波大学
がん抑制剤およびがん抑制用医薬
1か月前
国立大学法人 筑波大学
測定装置、観察システム、及び測定方法
3か月前
国立大学法人 筑波大学
測定方法、測定装置、及び観察システム
3か月前
NTT株式会社
復号装置及び復号方法
1か月前
国立大学法人 筑波大学
フィラグリン遺伝子型決定法およびキット
3か月前
国立大学法人 筑波大学
微生物、植物成長補助剤、及び植物の生育方法
4か月前
国立大学法人 筑波大学
オンサイト参加システム及びオンサイト参加方法
3か月前
国立大学法人 筑波大学
補正装置、撮影装置、補正方法および撮影システム
3か月前
国立大学法人 筑波大学
殺虫剤、殺虫活性を有する新規化合物及びその用途
11日前
NTT株式会社
映像処理装置、方法及びプログラム
1か月前
NTT株式会社
情報処理装置、方法およびプログラム
2か月前
NTT株式会社
推論装置、推論方法、及びプログラム
3か月前
国立大学法人 筑波大学
紙及びその製造方法並びに紙用改質剤及びその製造方法
6か月前
NTT株式会社
データ解析装置、方法およびプログラム
2か月前
国立大学法人 筑波大学
慣性力設定装置、慣性力設定システム及び慣性力設定方法
3か月前
国立大学法人 筑波大学
放射線遮蔽材用焼結体粒子、その製造方法及びその使用方法
26日前
NTT株式会社
情報処理装置、情報処理方法及びプログラム
2か月前
国立大学法人 筑波大学
表面検査装置
4か月前
国立大学法人 筑波大学
反応性スパッタリング方法及び反応性スパッタリングシステム
2か月前
国立大学法人 筑波大学
光学素子、光線制御装置とその製造方法、およびディスプレイ
28日前
三菱重工業株式会社
移動体、自己位置推定方法及びプログラム
1か月前
東京エレクトロン株式会社
成膜方法、成膜装置及び半導体装置
1か月前
国立大学法人 筑波大学
酸素飽和度イメージング内視鏡を用いた潰瘍性大腸炎活動性評価
7か月前
続きを見る
他の特許を見る