TOP
|
特許
|
意匠
|
商標
特許ウォッチ
Twitter
他の特許を見る
10個以上の画像は省略されています。
公開番号
2025145993
公報種別
公開特許公報(A)
公開日
2025-10-03
出願番号
2024046543
出願日
2024-03-22
発明の名称
復号装置及び復号方法
出願人
NTT株式会社
,
国立大学法人 筑波大学
代理人
弁理士法人アイル知財事務所
主分類
H04N
19/91 20140101AFI20250926BHJP(電気通信技術)
要約
【課題】本開示は、エントロピー符号を用いて圧縮された可変長符号列のデータを、小さなレイテンシで復号可能にすることを目的とする。
【解決手段】本開示は、エントロピー符号を用いて符号化された可変長符号列のデータを、クロックごとに予め定められたビット数ずつ取得し、複数の前記予め定められたビット数のデータで得られる参照情報を用いて、クロックごとに予め定められたビット数のデータを復号する、復号装置である。
【選択図】図1
特許請求の範囲
【請求項1】
エントロピー符号を用いて符号化された可変長符号列のデータを、クロックごとに予め定められたビット数ずつ取得し、
複数の前記予め定められたビット数のデータで得られる参照情報を用いて、クロックごとに予め定められたビット数のデータを復号する、
復号装置。
続きを表示(約 740 文字)
【請求項2】
前記予め定められたビット数のデータから符号の先頭位置及び符号長を検出し、
前記予め定められたビット数のデータに含まれる符号の先頭位置及び符号長を、前記参照情報として取得する、
請求項1に記載の復号装置。
【請求項3】
前記予め定められたビット数のデータの先頭から何ビット分が符号の先頭ではないのかを示す先頭不可ビットを計算することで、前記予め定められたビット数のデータから検出された符号長のうちの信用することのできる符号長を示す情報を、前記参照情報として取得し、
前記取得した信用することのできる符号長を用いて、前記可変長符号列のデータを復号する、
請求項1に記載の復号装置。
【請求項4】
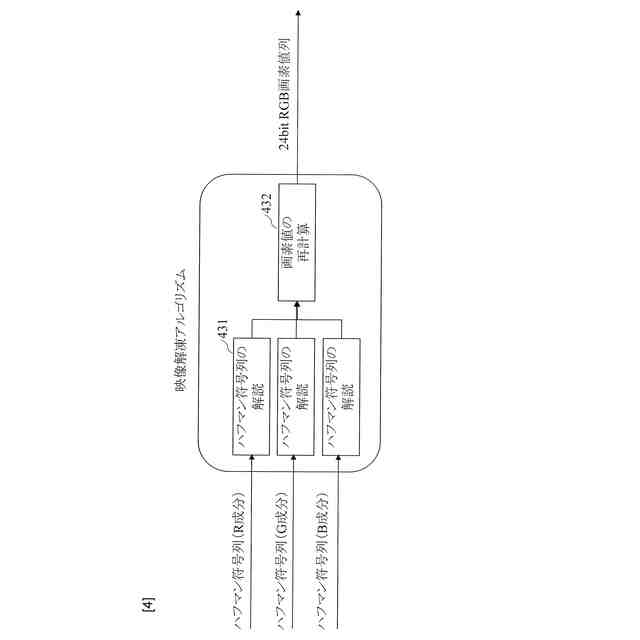
前記可変長符号列のデータが映像データであり、
前記エントロピー符号がハフマン符号である、
請求項1に記載の復号装置。
【請求項5】
前記予め定められたビット数がエントロピー符号の最大符号長で定められる、
請求項1に記載の復号装置。
【請求項6】
エントロピー符号を用いて、可変長符号列のデータを送信する送信装置と、
前記送信装置から送信された可変長符号列のデータを復号する、請求項1から5のいずれかに記載の復号装置と、
を備える伝送システム。
【請求項7】
エントロピー符号を用いて符号化された可変長符号列のデータを、クロックごとに予め定められたビット数ずつ取得し、
複数の前記予め定められたビット数のデータで得られる参照情報を用いて、クロックごとに予め定められたビット数のデータを復号する、
復号方法。
発明の詳細な説明
【技術分野】
【0001】
本開示は、エントロピー符号を用いて圧縮された可変長符号列のデータを復号する装置及び方法に関する。
続きを表示(約 1,600 文字)
【背景技術】
【0002】
データ圧縮処理では、シンボル当たりの平均データ量を減少させるため、符号割り当てが行われている。符号割り当てでは、頻出するシンボルはより短いビット長の信号で、そうでないシンボルはより長いビット長の信号で表すことによって、シンボル当たりの平均データ量を減少させるエントロピー符号が用いられている。
【0003】
エントロピー符号化にハフマン符号を用いた復号技術が提案されている(例えば、特許文献1参照。)。この特許文献1では、1段目のテーブルの結果をもとに、次の動作タイミングで2段目のテーブルを参照するため、1クロックサイクルで複数の符号を復号するのは難しい。このため、可変長符号列のデータを復号する際のレイテンシが大きいという課題があった。
【先行技術文献】
【特許文献】
【0004】
特開平06-326616号公報「ハフマン復号化テーブルの構成方法」
【非特許文献】
【0005】
Ben Rudiak-Gould. Huffyuv v2.1.1. http://rationalqm.us/www.math.berkeley.edu/benrg/huffyuv.html. (Accessed on 12/14/2023).
村上篤道,浅井光太郎,関口俊一(編).高効率映像符号化技術HEVC/H.265 とその応用.オーム社,Feb 2013,p.18-p.19.
岩橋政宏.電子情報通信学会『知識の森』2群-5編-5章. https://www.ieice-hbkb.org/files/ad_base/view_pdf.html?p=/files/02/02gun_05hen_05.pdf, 4 2013.(Accessed on 12/15/2023).
【発明の概要】
【発明が解決しようとする課題】
【0006】
本開示は、エントロピー符号を用いて圧縮された可変長符号列のデータを、小さなレイテンシで復号可能にすることを目的とする。
【課題を解決するための手段】
【0007】
本開示の伝送システムは、エントロピー符号を用いて、可変長符号列のデータを送信する送信装置と、前記送信装置から送信された可変長符号列のデータを復号する復号装置と、を備える。本開示の復号装置は、本開示の復号方法を実行する。本開示の復号方法では、本開示の復号装置が、あるクロックとその直前に受け取った2つのビット長のデータを用いて復号処理を行う。
【0008】
具体的には、本開示の復号装置は、
エントロピー符号を用いて符号化された可変長符号列のデータを、クロックごとに予め定められたビット数ずつ取得し、
複数の前記予め定められたビット数のデータで得られる参照情報を用いて、クロックごとに予め定められたビット数のデータを復号する。
【0009】
本開示の復号装置は、前記予め定められたビット数のデータから符号の先頭位置及び符号長を検出し、前記予め定められたビット数のデータに含まれる符号の先頭位置及び符号長を、前記参照情報として取得してもよい。
【0010】
本開示では、前記予め定められたビット数のデータの先頭から何ビット分が符号の先頭ではないのかを示す先頭不可ビットを計算することで、前記予め定められたビット数のデータから検出された符号長のうちの信用することのできる符号長を示す情報を、前記参照情報として取得してもよい。これにより、本開示の復号装置は、前記取得した信用することのできる符号長を用いて、前記可変長符号列のデータを復号することができる。
(【0011】以降は省略されています)
この特許をJ-PlatPat(特許庁公式サイト)で参照する
関連特許
NTT株式会社
計算装置
1か月前
NTT株式会社
計算装置
13日前
NTT株式会社
通信システム
4日前
NTT株式会社
復号装置及び復号方法
1か月前
NTT株式会社
情報処理装置、及び情報処理方法
1か月前
NTT株式会社
情報処理装置、及び情報処理方法
1か月前
NTT株式会社
通信システム、方法及びプログラム
1か月前
NTT株式会社
無線通信システム及び無線通信方法
12日前
NTT株式会社
刺激制御装置、および刺激制御方法
12日前
NTT株式会社
窒素固定能を有する藻類の選抜方法
14日前
NTT株式会社
通信システム、方法及びプログラム
1か月前
NTT株式会社
評価装置、評価方法およびプログラム
28日前
NTT株式会社
量子鍵配送システム及び量子鍵配送方法
1か月前
NTT株式会社
座屈剥離構造の予測装置および予測方法
1か月前
NTT株式会社
電子署名システム、方法及びプログラム
1か月前
NTT株式会社
微生物の土壌中での生存性を調節する方法
1か月前
NTT株式会社
情報処理装置およびボットネット分析方法
19日前
NTT株式会社
測定装置、測定方法、及び、測定プログラム
1か月前
NTT株式会社
数モードマルチコア光ファイバ及び光伝送システム
19日前
NTT株式会社
推定装置、復元装置、推定方法、およびプログラム
1か月前
NTT株式会社
情報処理システム、情報処理装置および情報処理方法
1か月前
NTT株式会社
組合せ最適化方法、組合せ最適化装置、及びプログラム
1か月前
NTT株式会社
学習装置、分類装置、学習方法、分類方法及びプログラム
19日前
NTT株式会社
伝搬グラフ復元装置、伝搬グラフ復元方法、及びプログラム
1か月前
NTT株式会社
植物の開花時期制御方法および開花時期が制御された植物の作出方法
4日前
NTT株式会社
連続発話推定方法、連続発話推定装置、およびプログラム
27日前
NTT株式会社
文生成装置、文生成学習装置、文生成方法、文生成学習方法及びプログラム
1か月前
NTT株式会社
植物の光合成応答を調節する方法、光合成応答が迅速化した植物の作出方法、および光合成応答が迅速化した植物の栽培のためのシステム
4日前
個人
イヤーピース
11日前
個人
イヤーマフ
25日前
個人
監視カメラシステム
1か月前
キーコム株式会社
光伝送線路
1か月前
個人
スイッチシステム
19日前
個人
スキャン式車載用撮像装置
1か月前
サクサ株式会社
中継装置
1か月前
WHISMR合同会社
収音装置
2か月前
続きを見る
他の特許を見る