TOP
|
特許
|
意匠
|
商標
特許ウォッチ
Twitter
他の特許を見る
10個以上の画像は省略されています。
公開番号
2025147777
公報種別
公開特許公報(A)
公開日
2025-10-07
出願番号
2024048188
出願日
2024-03-25
発明の名称
測定装置、測定方法、及び、測定プログラム
出願人
NTT株式会社
,
国立大学法人北海道大学
代理人
個人
,
個人
主分類
G01R
31/26 20200101AFI20250930BHJP(測定;試験)
要約
【課題】宇宙陽子線環境におけるSERを低コストで算出可能な技術を提供する。
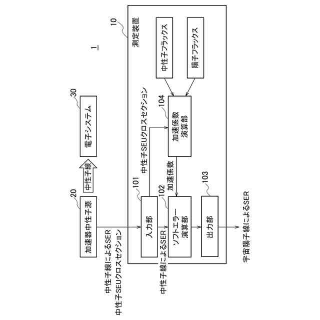
【解決手段】測定装置10は、陽子エネルギーに依存する陽子SEU(Single Event Upset)クロスセクションと中性子エネルギーに依存する中性子SEUクロスセクションとが互いに同値とみなせるエネルギー範囲において、陽子SEUクロスセクションを中性子SEUクロスセクションとみなして、半導体デバイスで発生する中性子線によるSER(Soft Error Rate)を陽子線によるSERに変換するための指標を算出する加速係数演算部104、を備える。
【選択図】図1
特許請求の範囲
【請求項1】
陽子エネルギーに依存する陽子SEU(Single Event Upset)クロスセクションと中性子エネルギーに依存する中性子SEUクロスセクションとが互いに同値とみなせるエネルギー範囲において、陽子SEUクロスセクションを中性子SEUクロスセクションとみなして、半導体デバイスで発生する中性子線によるSER(Soft Error Rate)を陽子線によるSERに変換するための指標を算出する演算部、
を備える測定装置。
続きを表示(約 460 文字)
【請求項2】
前記演算部は、
前記中性子SEUクロスセクションに所定の中性子フラックスを掛けて0MeV~∞MeVのエネルギー範囲で積分した値を、前記中性子SEUクロスセクションに所定の陽子フラックスを掛けて20MeV~∞MeVのエネルギー範囲で積分した値で割ることにより、前記指標を算出する請求項1に記載の測定装置。
【請求項3】
測定装置で行う測定方法において、
陽子エネルギーに依存する陽子SEU(Single Event Upset)クロスセクションと中性子エネルギーに依存する中性子SEUクロスセクションとが互いに同値とみなせるエネルギー範囲において、陽子SEUクロスセクションを中性子SEUクロスセクションとみなして、半導体デバイスで発生する中性子線によるSER(Soft Error Rate)を陽子線によるSERに変換するための指標を算出する、
測定方法。
【請求項4】
請求項1又は2に記載の測定装置としてコンピュータを機能させる測定プログラム。
発明の詳細な説明
【技術分野】
【0001】
本発明は、測定装置、測定方法、及び、測定プログラムに関する。
続きを表示(約 1,200 文字)
【背景技術】
【0002】
宇宙空間では、太陽や銀河から発生した宇宙放射線が飛び交っている。宇宙放射線の主成分は陽子であるため、宇宙空間で半導体デバイスを運用する場合には、宇宙陽子線の影響を把握する必要がある。
【0003】
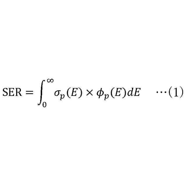
半導体デバイスに対する宇宙陽子線の影響を地上で測定する方法として、陽子加速器を用いる方法がある。非特許文献1では、陽子加速器を用いて、陽子(Proton)が半導体デバイスにSEU(Single Event Upset)を発生させる陽子SEUクロスセクションσ
p
を測定する。
【0004】
測定した陽子SEUクロスセクションσ
p
に対して、陽子が当該半導体デバイスを単位時間・単位面積あたりに通過する陽子フラックスφ
p
を掛け、0MeV~∞MeVのエネルギー範囲で積分することで、宇宙陽子線環境におけるSER(Soft Error Rate。単位時間あたりのSEU/ソフトエラー発生数)を求める。
【0005】
TIFF
2025147777000002.tif
14
165
【0006】
σ
p
(E)は、陽子エネルギーEに依存する陽子SEUクロスセクションである。φ
p
(E)は、宇宙陽子線環境における陽子エネルギーEの陽子フラックス(=陽子束/陽子エネルギースペクトル=単位時間・単位面積あたりに入射する陽子数)である。
【0007】
SEUとは、単一の粒子(中性子、陽子、重粒子等)が半導体デバイスに入射し、核反応により生成された電荷によって、半導体デバイス内のデータが反転してしまう事象である。SEUは、ソフトエラーとも呼ばれる場合がある。
【0008】
SEUクロスセクションσとは、粒子がSEUを発生させる割合である。つまり、単位面積あたり1個の粒子が半導体デバイスを通過したときのソフトエラー発生率である。SEUクロスセクションσは、半導体デバイスにフルエンスΦ(単位面積あたりに通過する粒子数)の粒子を照射したときに発生したSEUの発生数をNとすると、式(2)で表される。
【0009】
TIFF
2025147777000003.tif
12
165
【0010】
上記方法により、半導体デバイスの単体レベル(例えば、LSI単体)で宇宙陽子線の影響を評価できる。一方、複数の半導体デバイスが内蔵された電子システムのレベル(例えば、非特許文献2のFigure 6-2)で宇宙陽子線の影響を評価する場合には、電荷を持たない中性子(Neutron)を用いる方法がある。
(【0011】以降は省略されています)
この特許をJ-PlatPat(特許庁公式サイト)で参照する
関連特許
NTT株式会社
計算装置
1か月前
NTT株式会社
検知装置
9日前
NTT株式会社
計算装置
24日前
NTT株式会社
通信システム
15日前
NTT株式会社
遠隔制御システム
1日前
NTT株式会社
遠隔制御システム
1日前
NTT株式会社
推定装置及び推定方法
2か月前
NTT株式会社
復号装置及び復号方法
1か月前
NTT株式会社
解析装置および解析方法
2か月前
NTT株式会社
情報処理装置、及び情報処理方法
1か月前
NTT株式会社
情報処理装置、及び情報処理方法
1か月前
NTT株式会社
映像処理装置、方法及びプログラム
1日前
NTT株式会社
交通量推定装置及び交通量推定方法
2か月前
NTT株式会社
映像処理装置、方法及びプログラム
2か月前
NTT株式会社
通信システム、方法及びプログラム
1か月前
NTT株式会社
通信システム、方法及びプログラム
1か月前
NTT株式会社
刺激制御装置、および刺激制御方法
23日前
NTT株式会社
無線通信システム及び無線通信方法
23日前
NTT株式会社
窒素固定能を有する藻類の選抜方法
25日前
NTT株式会社
評価装置、評価方法およびプログラム
1か月前
NTT株式会社
量子鍵配送システム及び量子鍵配送方法
1か月前
NTT株式会社
電子署名システム、方法及びプログラム
1か月前
NTT株式会社
座屈剥離構造の予測装置および予測方法
1か月前
NTT株式会社
微生物の土壌中での生存性を調節する方法
1か月前
NTT株式会社
情報処理装置およびボットネット分析方法
1か月前
NTT株式会社
測定装置、測定方法、及び、測定プログラム
1か月前
NTT株式会社
推論装置、学習装置、推論方法、及びプログラム
2か月前
NTT株式会社
推定装置、復元装置、推定方法、およびプログラム
1か月前
NTT株式会社
数モードマルチコア光ファイバ及び光伝送システム
1か月前
NTT株式会社
情報処理システム、情報処理装置および情報処理方法
1か月前
NTT株式会社
データ処理装置、データ処理方法、およびプログラム
3日前
NTT株式会社
通信品質予測装置、通信品質予測方法、及びプログラム
2か月前
NTT株式会社
電荷分布推定装置、電荷分布推定方法、及びプログラム
1日前
NTT株式会社
組合せ最適化方法、組合せ最適化装置、及びプログラム
2か月前
NTT株式会社
学習装置、分類装置、学習方法、分類方法及びプログラム
1か月前
NTT株式会社
伝搬グラフ復元装置、伝搬グラフ復元方法、及びプログラム
1か月前
続きを見る
他の特許を見る