TOP
|
特許
|
意匠
|
商標
特許ウォッチ
Twitter
他の特許を見る
10個以上の画像は省略されています。
公開番号
2025157566
公報種別
公開特許公報(A)
公開日
2025-10-15
出願番号
2025126411,2023142658
出願日
2025-07-29,2020-03-03
発明の名称
文生成装置、文生成学習装置、文生成方法、文生成学習方法及びプログラム
出願人
NTT株式会社
代理人
弁理士法人ITOH
主分類
G06F
40/279 20200101AFI20251007BHJP(計算;計数)
要約
【課題】文を生成する際に考慮すべき情報をテキストとして付加可能とすること。
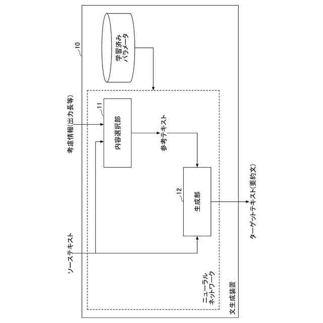
【解決手段】文生成装置は、入力文と、前記入力文に含まれる各単語の重要度と、出力長とに基づいて単語のセットを抽出する内容選択部と、前記入力文と前記単語のセットとを入力し、前記入力文と前記単語のセットに基づいて出力文を生成するよう教師あり学習された機械学習モデルに、前記入力文と前記単語のセットに対応する情報を入力することで、前記入力文と前記単語のセットに基づいて出力文を生成する生成部と、を有する。
【選択図】図2
特許請求の範囲
【請求項1】
入力文と、前記入力文に含まれる各単語の重要度と、出力長とに基づいて単語のセットを抽出する内容選択部と、
前記入力文と前記単語のセットとを入力し、前記入力文と前記単語のセットに基づいて出力文を生成するよう教師あり学習された機械学習モデルに、前記入力文と前記単語のセットに対応する情報を入力することで、前記入力文と前記単語のセットに基づいて出力文を生成する生成部と、
を有することを特徴とする文生成装置。
続きを表示(約 2,500 文字)
【請求項2】
入力文と、前記入力文に含まれる各単語の重要度と、出力長とに基づいて単語のセットを抽出する内容選択部と、
前記入力文と前記単語のセットとを入力し、前記入力文と前記単語のセットに基づいて出力文を生成するよう教師あり学習された機械学習モデルに、前記入力文と前記単語のセットに対応する情報を入力することで、前記入力文と前記単語のセットに基づいて出力文を生成する生成部と、
入力文として第1のテキストと、当該第1のテキストから抽出された単語のセットとを入力した前記機械学習モデルからの出力と前記第1のテキストに対応する出力文である第2のテキストとに基づいて前記機械学習モデルのパラメータを更新するパラメータ学習部と、
を有することを特徴とする文生成学習装置。
【請求項3】
入力文と、外部知識に含まれる複数の文の文ごとの重要度及び単語ごとの重要度の少なくとも一方とに基づいて、文のセットを抽出する内容選択部と、
前記入力文と前記文のセットとを入力し、前記入力文と前記文のセットに基づいて出力文を生成するよう教師あり学習された機械学習モデルに、前記入力文と前記文のセットに対応する情報を入力することで、前記入力文と前記文のセットに基づいて出力文を生成する生成部と、
を有することを特徴とする文生成装置。
【請求項4】
入力文と、外部知識に含まれる複数の文の文ごとの重要度及び単語ごとの重要度の少なくとも一方とに基づいて、文のセットを抽出する内容選択部と、
前記入力文と前記文のセットとを入力し、前記入力文と前記文のセットに基づいて出力文を生成するよう教師あり学習された機械学習モデルに、前記入力文と前記文のセットに対応する情報を入力することで、前記入力文と前記文のセットに基づいて出力文を生成する生成部と、
入力文として第1のテキストと、外部知識から抽出された文のセットとを入力した前記機械学習モデルからの出力と前記第1のテキストに対応する出力文である第2のテキストとに基づいて前記機械学習モデルのパラメータを更新するパラメータ学習部と、
を有することを特徴とする文生成学習装置。
【請求項5】
入力文と、前記入力文に含まれる各単語の重要度と、出力長とに基づいて単語のセットを抽出する内容選択部と、
前記単語のセットを入力し、前記単語のセットに基づいて出力文を生成するよう教師あり学習された機械学習モデルに、前記単語のセットに対応する情報を入力することで、前記単語のセットに基づいて出力文を生成する生成部と、
を有することを特徴とする文生成装置。
【請求項6】
入力文と、前記入力文に含まれる各単語の重要度と、出力長とに基づいて単語のセットを抽出する内容選択部と、
前記単語のセットを入力し、前記単語のセットに基づいて出力文を生成するよう教師あり学習された機械学習モデルに、前記単語のセットに対応する情報を入力することで、前記単語のセットに基づいて出力文を生成する生成部と、
入力文として第1のテキストから抽出された単語のセットを入力した前記機械学習モデルからの出力と前記第1のテキストに対応する出力文である第2のテキストとに基づいて前記機械学習モデルのパラメータを更新するパラメータ学習部と、
を有することを特徴とする文生成学習装置。
【請求項7】
複数の入力文と、前記複数の入力文に含まれる各文の重要度と、出力長とに基づいて文のセットを抽出する内容選択部と、
前記文のセットを入力し、前記文のセットに基づいて出力文を生成するよう教師あり学習された機械学習モデルに、前記文のセットに対応する情報を入力することで、前記文のセットに基づいて出力文を生成する生成部と、
を有することを特徴とする文生成装置。
【請求項8】
複数の入力文と、前記複数の入力文に含まれる各文の重要度と、出力長とに基づいて文のセットを抽出する内容選択部と、
前記文のセットを入力し、前記文のセットに基づいて出力文を生成するよう教師あり学習された機械学習モデルに、前記文のセットに対応する情報を入力することで、前記文のセットに基づいて出力文を生成する生成部と、
複数の入力文として第1のテキストと、当該第1のテキストから抽出された文のセットとを入力した前記機械学習モデルからの出力と前記第1のテキストに対応する出力文である第2のテキストとに基づいて前記機械学習モデルのパラメータを更新するパラメータ学習部と、
を有することを特徴とする文生成学習装置。
【請求項9】
入力文と、前記入力文に含まれる各単語の重要度と、出力長とに基づいて単語のセットを抽出する内容選択部と、
前記入力文と前記単語のセットとを入力し、前記入力文と前記単語のセットに基づいて出力文を生成するよう教師あり学習された機械学習モデルに、前記入力文と前記単語のセットに対応する情報を入力することで、前記入力文と前記単語のセットに基づいて出力文を生成する生成部と、
を有することを特徴とする文生成装置。
【請求項10】
入力文と、前記入力文に含まれる各単語の重要度と、出力長とに基づいて単語のセットを抽出する内容選択部と、
前記入力文と前記単語のセットとを入力し、前記入力文と前記単語のセットに基づいて出力文を生成するよう教師あり学習された機械学習モデルに、前記入力文と前記単語のセットに対応する情報を入力することで、前記入力文と前記単語のセットに基づいて出力文を生成する生成部と、
入力文として第1のテキストと、当該第1のテキストから抽出された単語のセットとを入力した前記機械学習モデルからの出力と前記第1のテキストに対応する出力文である第2のテキストとに基づいて前記機械学習モデルのパラメータを更新するパラメータ学習部と、
を有することを特徴とする文生成学習装置。
(【請求項11】以降は省略されています)
発明の詳細な説明
【技術分野】
【0001】
本発明は、文生成装置、文生成学習装置、文生成方法、文生成学習方法及びプログラムに関する。
続きを表示(約 2,200 文字)
【背景技術】
【0002】
ニューラルネットに基づく文の生成技術は進展している。当該生成技術は、テキストを入力として、予め学習済みのニューラルネットワークモデルに基づき、所定の目的の文(例えば要約文)を生成する技術である。
【0003】
例えば、非特許文献1では、入力文書に含まれる文の重要度(attention)と単語の重要度を掛け合わせて求めた単語レベルの重要度を文生成時に反映させる手法が提案されている。
【先行技術文献】
【非特許文献】
【0004】
Wan-Ting Hsu, Chieh-Kai Lin, Ming-Ying Lee, Kerui Min, Jing Tang, Min Sun. 2018. A Unified Model for Extractive and Abstractive Summarization using Inconsistency Loss.
【発明の概要】
【発明が解決しようとする課題】
【0005】
しかしながら、非特許文献1では、文を生成する際に考慮すべき情報を、重要度のスコアや、長さEmbedding等の形式で与えており、テキストとして与えることができない。
【0006】
本発明は、上記の点に鑑みてなされたものであって、文を生成する際に考慮すべき情報をテキストとして付加可能とすることを目的とする。
【課題を解決するための手段】
【0007】
そこで上記課題を解決するため、文生成装置は、入力文と、前記入力文に含まれる各単語の重要度と、出力長とに基づいて単語のセットを抽出する内容選択部と、前記入力文と前記単語のセットとを入力し、前記入力文と前記単語のセットに基づいて出力文を生成するよう教師あり学習された機械学習モデルに、前記入力文と前記単語のセットに対応する情報を入力することで、前記入力文と前記単語のセットに基づいて出力文を生成する生成部と、を有する。
【発明の効果】
【0008】
文を生成する際に考慮すべき情報をテキストとして付加可能とすることができる。
【図面の簡単な説明】
【0009】
第1の実施の形態における文生成装置10のハードウェア構成例を示す図である。
第1の実施の形態における文生成装置10の機能構成例を示す図である。
第1の実施の形態における生成部12の構成例を示す図である。
第1の実施の形態における文生成装置10が実行する処理手順の一例を説明するためのフローチャートである。
各単語に対する重要度の推定を説明するための図である。
第1の実施の形態における生成部12による処理を説明するための図である。
第1の実施の形態における文生成装置10の学習時における機能構成例を示す図である。
第2の実施の形態における生成部12の構成例を示す図である。
第2の実施の形態における生成部12による処理を説明するための図である。
第3の実施の形態における文生成装置10の機能構成例を示す図である。
第3の実施の形態における文生成装置10が実行する処理手順の一例を説明するためのフローチャートである。
知識源DB20の構成例を示す図である。
関連度計算モデルの第1の例を説明するための図である。
関連度計算モデルの第2の例を説明するための図である。
第3の実施の形態における文生成装置10の学習時における機能構成例を示す図である。
第4の実施の形態における文生成装置10の機能構成例を示す図である。
第4の実施の形態における生成部12の構成例を示す図である。
第4の実施の形態におけるモデル構成例を示す図である。
第4の実施の形態における文生成装置10の学習時における機能構成例を示す図である。
第5の実施の形態における文生成装置10の機能構成例を示す図である。
第5の実施の形態における生成部12の構成例を示す図である。
第5の実施の形態におけるモデル構成例を示す図である。
第6の実施の形態における文生成装置10の機能構成例を示す図である。
第6の実施の形態におけるモデル構成例を示す図である。
第6の実施の形態における文生成装置10の学習時における機能構成例を示す図である。
第7の実施の形態における文生成装置10の機能構成例を示す図である。
第7の実施の形態における文生成装置10の学習時における機能構成例を示す図である。
【発明を実施するための形態】
【0010】
以下、図面に基づいて本発明の実施の形態を説明する。図1は、第1の実施の形態における文生成装置10のハードウェア構成例を示す図である。図1の文生成装置10は、それぞれバスBで相互に接続されているドライブ装置100、補助記憶装置102、メモリ装置103、CPU104、及びインタフェース装置105等を有する。
(【0011】以降は省略されています)
この特許をJ-PlatPat(特許庁公式サイト)で参照する
関連特許
NTT株式会社
計算装置
1か月前
NTT株式会社
計算装置
13日前
NTT株式会社
通信システム
4日前
NTT株式会社
推定装置及び推定方法
1か月前
NTT株式会社
復号装置及び復号方法
1か月前
NTT株式会社
解析装置および解析方法
2か月前
NTT株式会社
情報処理装置、及び情報処理方法
1か月前
NTT株式会社
情報処理装置、及び情報処理方法
1か月前
NTT株式会社
通信システム、方法及びプログラム
1か月前
NTT株式会社
映像処理装置、方法及びプログラム
1か月前
NTT株式会社
交通量推定装置及び交通量推定方法
1か月前
NTT株式会社
窒素固定能を有する藻類の選抜方法
14日前
NTT株式会社
刺激制御装置、および刺激制御方法
12日前
NTT株式会社
無線通信システム及び無線通信方法
12日前
NTT株式会社
通信システム、方法及びプログラム
1か月前
NTT株式会社
評価装置、評価方法およびプログラム
28日前
NTT株式会社
座屈剥離構造の予測装置および予測方法
1か月前
NTT株式会社
電子署名システム、方法及びプログラム
1か月前
NTT株式会社
量子鍵配送システム及び量子鍵配送方法
1か月前
NTT株式会社
微生物の土壌中での生存性を調節する方法
1か月前
NTT株式会社
情報処理装置およびボットネット分析方法
19日前
NTT株式会社
測定装置、測定方法、及び、測定プログラム
1か月前
NTT株式会社
推論装置、学習装置、推論方法、及びプログラム
2か月前
NTT株式会社
推定装置、復元装置、推定方法、およびプログラム
1か月前
NTT株式会社
数モードマルチコア光ファイバ及び光伝送システム
19日前
NTT株式会社
情報処理システム、情報処理装置および情報処理方法
1か月前
NTT株式会社
通信品質予測装置、通信品質予測方法、及びプログラム
1か月前
NTT株式会社
組合せ最適化方法、組合せ最適化装置、及びプログラム
1か月前
NTT株式会社
学習装置、分類装置、学習方法、分類方法及びプログラム
19日前
NTT株式会社
伝搬グラフ復元装置、伝搬グラフ復元方法、及びプログラム
1か月前
NTT株式会社
施工計画立案装置、施工計画立案方法、及び施工計画立案プログラム
1か月前
NTT株式会社
植物の開花時期制御方法および開花時期が制御された植物の作出方法
4日前
NTT株式会社
連続発話推定方法、連続発話推定装置、およびプログラム
27日前
NTT株式会社
文生成装置、文生成学習装置、文生成方法、文生成学習方法及びプログラム
1か月前
NTT株式会社
アクセラレータ状態制御装置、アクセラレータ状態制御方法およびプログラム
2か月前
NTT株式会社
植物の光合成応答を調節する方法、光合成応答が迅速化した植物の作出方法、および光合成応答が迅速化した植物の栽培のためのシステム
4日前
続きを見る
他の特許を見る