TOP特許意匠商標
特許ウォッチ Twitter
10個以上の画像は省略されています。
公開番号2025178908
公報種別公開特許公報(A)
公開日2025-12-09
出願番号2024085782
出願日2024-05-27
発明の名称学習装置、推論装置、学習方法、推論方法、及びプログラム
出願人NTT株式会社,国立大学法人 奈良先端科学技術大学院大学
代理人弁理士法人ITOH,個人,個人
主分類G06F 40/216 20200101AFI20251202BHJP(計算;計数)
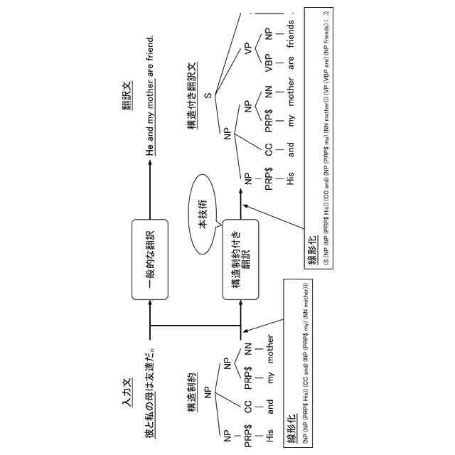
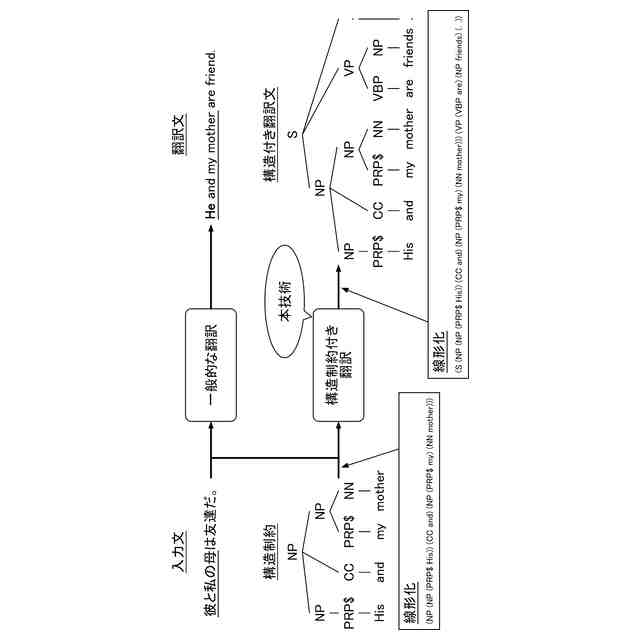
要約【課題】テキストの構造を制約として使用する系列変換を実現する。
【解決手段】学習装置において、第1テキストと第2テキストとの対のデータから、前記第2テキストの構造制約と、構造付き第2テキストとを生成する生成部と、前記第1テキスト、前記構造制約、及び前記構造付き第2テキストに基づいて、構造制約付きの系列変換を行う系列変換モデルの学習を行う学習部とを備える。
【選択図】図2
特許請求の範囲【請求項1】
第1テキストと第2テキストとの対のデータから、前記第2テキストの構造制約と、構造付き第2テキストとを生成する生成部と、
前記第1テキスト、前記構造制約、及び前記構造付き第2テキストに基づいて、構造制約付きの系列変換を行う系列変換モデルの学習を行う学習部と
を備える学習装置。
続きを表示(約 870 文字)【請求項2】
前記生成部は、前記第1テキストに前記構造制約の情報を付け加えた入力系列を生成し、前記学習部は、前記入力系列を入力とし、前記構造付き第2テキストを出力とする前記系列変換モデルの学習を行う
請求項1に記載の学習装置。
【請求項3】
入力テキストと入力構造制約とを入力とし、前記入力テキストに前記入力構造制約の情報を付け加えた入力系列を生成する生成部と、
構造制約を用いて構造付きテキストを出力するように学習された系列変換モデルを用いて、前記入力系列を構造付きテキストに変換する変換部と
を備える推論装置。
【請求項4】
前記変換部は、前記入力テキストと前記入力構造制約とが与えられたときの生成確率が最大になる出力系列を探索する
請求項3に記載の推論装置。
【請求項5】
学習装置が実行する学習方法であって、
第1テキストと第2テキストとの対のデータから、前記第2テキストの構造制約と、構造付き第2テキストとを生成する生成ステップと、
前記第1テキスト、前記構造制約、及び前記構造付き第2テキストに基づいて、構造制約付きの系列変換を行う系列変換モデルの学習を行う学習ステップと
を備える学習方法。
【請求項6】
推論装置が実行する推論方法であって、
入力テキストと入力構造制約とを入力とし、前記入力テキストに前記入力構造制約の情報を付け加えた入力系列を生成する生成ステップと、
構造制約を用いて構造付きテキストを出力するように学習された系列変換モデルを用いて、前記入力系列を構造付きテキストに変換する変換ステップと
を備える推論方法。
【請求項7】
コンピュータを、請求項1又は2に記載の学習装置における各部として機能させるためのプログラム。
【請求項8】
コンピュータを、請求項3又は4に記載の推論装置における各部として機能させるためのプログラム。

発明の詳細な説明【技術分野】
【0001】
本発明は、機械翻訳の技術分野に関連するものである。
続きを表示(約 2,200 文字)【背景技術】
【0002】
語彙制約付き機械翻訳が従来技術として知られている(例えば非特許文献1~3)。語彙制約付き機械翻訳は、指定された語句を訳語として含む文を生成するという制約の下で機械翻訳を行うタスクである。訳語を指定することで、特許や法務等での翻訳で重要とされる、文書内での訳語の一貫性を担保できる。
【0003】
また、後編集のように、人間が修正の指示を与えながら翻訳を行う、インタラクティブな翻訳にも語彙制約付き機械翻訳は応用可能である。このタスクは近年活発に取り組まれており、制約を満たした上で高品質な翻訳文の生成が可能になりつつある。
【先行技術文献】
【非特許文献】
【0004】
Matt Post and David Vilar.: Fast lexically constrained decoding with dynamic beam allocation for neural machine translation. In Marilyn Walker, Heng Ji, and Amanda Stent, editors, Proceedings of the 2018 Conference of the North American Chapter of the Association for Computational Linguistics: Human Language Technologies, Volume 1 (Long Papers), pp.1314-1324, New Orleans, Louisiana, June 2018. Association for Computational Linguistics.
Guanhua Chen, Yun Chen, Yong Wang, and Victor O.K. Li.: Lexical-constraint-aware neural machine translation via data augmentation.In Proceedings of IJCAI 2020: Main track, pp.3587-3593, 7 2020.
Katsuki Chousa and Makoto Morishita.: Input augmentation improves constrained beam search for neural machine translation: NTT at WAT 2021. In Proceedings of the 8th Workshop on Asian Translation (WAT2021), pp. 53-61, Online, August 2021.Association for Computational Linguistics.
【発明の概要】
【発明が解決しようとする課題】
【0005】
制約として指定する単位を語句からテキストの構造へ拡張することで、機械翻訳の出力に対する操作性がより向上することが期待できる。しかしながら、テキストの構造を制約として使用する機械翻訳の従来技術は存在しない。なお、テキストの構造を制約として使用することは翻訳に限らない系列変換全般に適用可能である。
【0006】
本発明は上記の点に鑑みてなされたものであり、テキストの構造を制約として使用する系列変換を実現するための技術を提供することを目的とする。
【課題を解決するための手段】
【0007】
開示の技術によれば、第1テキストと第2テキストとの対のデータから、前記第2テキストの構造制約と、構造付き第2テキストとを生成する生成部と、
前記第1テキスト、前記構造制約、及び前記構造付き第2テキストに基づいて、構造制約付きの系列変換を行う系列変換モデルの学習を行う学習部と
を備える学習装置が提供される。
【発明の効果】
【0008】
開示の技術によれば、テキストの構造を制約として使用する系列変換を実現するための技術が提供される。
【図面の簡単な説明】
【0009】
線形化の例を示す図である。
構造制約付き翻訳を説明するための図である。
学習装置100及び推論装置200の構成図である。
学習時の処理フローを示す図である。
推論時の処理フローを示す図である。
ベースラインの設定およびハイパーパラメータの詳細を示す図である。
実験結果を示す図である。
学習装置100の構成図である。
推論装置200の構成図である。
装置のハードウェア構成例を示す図である。
【発明を実施するための形態】
【0010】
以下、図面を参照して本発明の実施の形態(本実施の形態)を説明する。以下で説明する実施の形態は一例に過ぎず、本発明が適用される実施の形態は、以下の実施の形態に限られるわけではない。
(【0011】以降は省略されています)

この特許をJ-PlatPat(特許庁公式サイト)で参照する

関連特許

NTT株式会社
非接触型測距装置及び方法
今日
NTT株式会社
要約装置、要約方法及びプログラム
今日
NTT株式会社
学習装置、推論装置、学習方法、推論方法、及びプログラム
1日前
NTT株式会社
光伝送システムの異常要因個所特定システムおよび異常要因個所特定方法
今日
個人
詐欺保険
1か月前
個人
縁伊達ポイン
1か月前
個人
RFタグシート
1か月前
個人
職業自動販売機
26日前
個人
5掛けポイント
1か月前
個人
ペルソナ認証方式
1か月前
個人
QRコードの彩色
2か月前
個人
情報処理装置
1か月前
個人
自動調理装置
1か月前
個人
立体グラフの利用方法
5日前
個人
農作物用途分配システム
1か月前
個人
残土処理システム
2か月前
個人
サービス情報提供システム
28日前
個人
データ復元システム
今日
個人
インターネットの利用構造
1か月前
個人
タッチパネル操作指代替具
1か月前
個人
知的財産出願支援システム
2か月前
NISSHA株式会社
入力装置
6日前
個人
スケジュール調整プログラム
1か月前
個人
携帯端末障害問合せシステム
1か月前
個人
学習用データ生成装置
7日前
個人
エリアガイドナビAIシステム
1か月前
キラル株式会社
顧客体験提供システム
8日前
株式会社ワコム
電子ペン
1か月前
キヤノン株式会社
情報処理装置
20日前
キヤノン株式会社
画像認識装置
20日前
個人
帳票自動生成型SaaSシステム
2か月前
株式会社ワコム
電子ペン
1か月前
個人
音声・通知・再配達UX制御構造
2か月前
キヤノン株式会社
印刷システム
1か月前
キヤノン株式会社
情報処理装置
1か月前
エッグス株式会社
情報処理装置
1か月前
続きを見る