TOP
|
特許
|
意匠
|
商標
特許ウォッチ
Twitter
他の特許を見る
10個以上の画像は省略されています。
公開番号
2025179599
公報種別
公開特許公報(A)
公開日
2025-12-10
出願番号
2024086455
出願日
2024-05-28
発明の名称
要約装置、要約方法及びプログラム
出願人
NTT株式会社
,
国立大学法人東京科学大学
代理人
弁理士法人ITOH
,
個人
,
個人
主分類
G06F
16/583 20190101AFI20251203BHJP(計算;計数)
要約
【課題】複数の画像について因果関係が保持された要約を生成可能すること。
【解決手段】要約装置は、時系列に関連のある事象に関する複数の画像についての修辞構造木を生成するように構成されている修辞構造木生成部と、前記修辞構造木に基づいて、前記画像をノードとして前記画像に係る事象間の関係を表す木構造を生成するように構成されている事象関係生成部と、前記複数の画像の要約に対する制約を満たすように、前記木構造から部分木を抽出するように構成されている要約生成部と、を有する。
【選択図】図2
特許請求の範囲
【請求項1】
時系列に関連のある事象に関する複数の画像についての修辞構造木を生成するように構成されている修辞構造木生成部と、
前記修辞構造木に基づいて、前記画像をノードとして前記画像に係る事象間の関係を表す木構造を生成するように構成されている事象関係生成部と、
前記複数の画像の要約に対する制約を満たすように、前記木構造から部分木を抽出するように構成されている要約生成部と、
を有することを特徴とする要約装置。
続きを表示(約 740 文字)
【請求項2】
前記要約生成部は、前記木構造の各ノードに当該ノードに係る前記画像の内容を示すテキストを付与し、各ノードに対応する前記画像又は前記テキストが前記制約を満たすような前記部分木を抽出するように構成されている、
ことを特徴とする請求項1記載の要約装置。
【請求項3】
前記修辞構造木生成部は、前記画像をフレームとする動画が含む事象ごとのフレーム列が葉ノードに対応する前記修辞構造木を生成するように構成されており、
前記事象関係生成部は、前記フレーム列をノードとして前記画像に係る事象間の関係を表す木構造を生成するように構成されており、
前記要約生成部は、前記木構造の各ノードに対して当該ノードに対応する前記フレーム列から1つのフレームを対応させて、前記動画の要約に対する制約を満たすように、前記木構造から部分木を抽出するように構成されている、
ことを特徴とする請求項1又は2記載の要約装置。
【請求項4】
前記木構造は談話依存構造木である、
ことを特徴とする請求項1記載の要約装置。
【請求項5】
時系列に関連のある事象に関する複数の画像についての修辞構造木を生成する修辞構造木生成手順と、
前記修辞構造木に基づいて、前記画像をノードとして前記画像に係る事象間の関係を表す木構造を生成する事象関係生成手順と、
前記複数の画像の要約に対する制約を満たすように、前記木構造から部分木を抽出する要約生成手順と、
をコンピュータが実行することを特徴とする要約方法。
【請求項6】
請求項1記載の要約装置としてコンピュータを機能させるためのプログラム。
発明の詳細な説明
【技術分野】
【0001】
本発明は、要約装置、要約方法及びプログラムに関する。
続きを表示(約 1,700 文字)
【背景技術】
【0002】
従来、与えられた動画から抜き出したいくつかのフレーム(動画中のある時刻に対応する静止画)と各フレームに対するキャプションを生成することで、当該動画に対して要約をフレーム(静止画)とテキストという2つのモダリティで表すマルチモーダル要約が実現されている(非特許文献1)。以下、要約として抽出されたフレームを「キーフレーム」という。
【先行技術文献】
【非特許文献】
【0003】
Kudo et al.、"A Challenging Multimodal Video Sum-mary: Simultaneously Extracting and Generating Keyframe-Caption Pairs from Video"、Proceedings of the 2023 Conference on Empirical Methods in Natural Language Processing、7380-7402
【発明の概要】
【発明が解決しようとする課題】
【0004】
しかしながら、非特許文献1の方法には、動画中の事象(イベント又はシーン)間の関係を解析・考慮する仕組みがないため、動画中の事象間の関係(例えば因果関係)が抽出されたフレーム間に成り立つとは限らない。このため、要約としてみた時にフレーム、テキストともに利用者に誤解を生じさせる可能性がある。例えば、シーンAとシーンBとの間に因果関係が成り立ち、シーンCとシーンDとの間にも因果関係が成り立っている場合に、シーンBとシーンCを削除すると(つまり、シーンA及びDのみを要約として抽出すると)、シーンAとシーンDとの間に因果関係が成り立つと誤解させる可能性がある。
【0005】
上記の問題は、動画に限らず時系列に関連のある事象に関する複数の画像(静止画)についても同様である。
【0006】
本発明は、上記の点に鑑みてなされたものであって、複数の画像について因果関係が保持された要約を生成可能することを目的とする。
【課題を解決するための手段】
【0007】
そこで上記課題を解決するため、要約装置は、時系列に関連のある事象に関する複数の画像についての修辞構造木を生成するように構成されている修辞構造木生成部と、前記修辞構造木に基づいて、前記画像をノードとして前記画像に係る事象間の関係を表す木構造を生成するように構成されている事象関係生成部と、前記複数の画像の要約に対する制約を満たすように、前記木構造から部分木を抽出するように構成されている要約生成部と、を有する。
【発明の効果】
【0008】
複数の画像について因果関係が保持された要約を生成可能することができる。
【図面の簡単な説明】
【0009】
本発明の実施の形態における要約装置10のハードウェア構成例を示す図である。
本発明の実施の形態における要約装置10の機能構成例を示す図である。
要約装置10が実行する処理手順の一例を説明するためのフローチャートである。
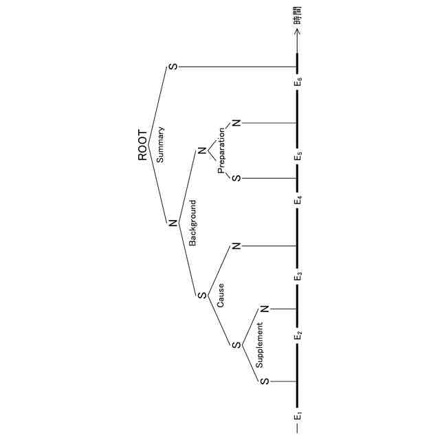
イベントを葉ノードとする修辞構造木の一例を示す図である。
修辞構造木から談話依存構造木への変換過程を説明するための第1の図である。
修辞構造木から談話依存構造木への変換過程を説明するための第1の図である。
修辞構造木から変換された談話依存構造木の一例を示す図である。
談話依存構造木から要約としての制約を満たす根つき部分木の抽出処理の処理手順の一例を説明するためのフローチャートである。
【発明を実施するための形態】
【0010】
以下、図面に基づいて本発明の実施の形態を説明する。図1は、本発明の実施の形態における要約装置10のハードウェア構成例を示す図である。図1の要約装置10は、それぞれバスBで相互に接続されているドライブ装置100、補助記憶装置102、メモリ装置103、プロセッサ104、及びインタフェース装置105等を有する。
(【0011】以降は省略されています)
この特許をJ-PlatPat(特許庁公式サイト)で参照する
関連特許
NTT株式会社
計算装置
1か月前
NTT株式会社
検知装置
20日前
NTT株式会社
計算装置
1か月前
NTT株式会社
通信システム
26日前
NTT株式会社
遠隔制御システム
12日前
NTT株式会社
遠隔制御システム
12日前
NTT株式会社
光電素子の作製方法
5日前
NTT株式会社
非接触型測距装置及び方法
今日
NTT株式会社
情報処理装置、及び情報処理方法
2か月前
NTT株式会社
情報処理装置、及び情報処理方法
2か月前
NTT株式会社
光学特性測定装置および測定方法
6日前
NTT株式会社
無線通信システム及び無線通信方法
1か月前
NTT株式会社
要約装置、要約方法及びプログラム
今日
NTT株式会社
刺激制御装置、および刺激制御方法
1か月前
NTT株式会社
映像処理装置、方法及びプログラム
12日前
NTT株式会社
窒素固定能を有する藻類の選抜方法
1か月前
NTT株式会社
評価装置、評価方法およびプログラム
1か月前
NTT株式会社
量子鍵配送システム及び量子鍵配送方法
2か月前
NTT株式会社
情報処理装置およびボットネット分析方法
1か月前
NTT株式会社
微生物の土壌中での生存性を調節する方法
2か月前
NTT株式会社
数モードマルチコア光ファイバ及び光伝送システム
1か月前
NTT株式会社
エラー訂正装置、エラー訂正方法、及びプログラム
6日前
NTT株式会社
推定装置、復元装置、推定方法、およびプログラム
2か月前
NTT株式会社
データ処理装置、データ処理方法、およびプログラム
14日前
NTT株式会社
電荷分布推定装置、電荷分布推定方法、及びプログラム
12日前
NTT株式会社
学習装置、推定装置、学習方法、推定方法及びプログラム
7日前
NTT株式会社
学習装置、分類装置、学習方法、分類方法及びプログラム
1か月前
NTT株式会社
学習装置、推論装置、学習方法、推論方法、及びプログラム
1日前
NTT株式会社
植物の開花時期制御方法および開花時期が制御された植物の作出方法
26日前
NTT株式会社
オペレーション装置
5日前
NTT株式会社
光伝送システムの異常要因個所特定システムおよび異常要因個所特定方法
今日
NTT株式会社
植物の生育を促進する方法、植物の生育促進剤の製造方法、および植物の栽培に用いるための栄養組成物
7日前
NTT株式会社
連続発話推定方法、連続発話推定装置、およびプログラム
1か月前
NTT株式会社
文生成装置、文生成学習装置、文生成方法、文生成学習方法及びプログラム
1か月前
NTT株式会社
植物の光合成応答を調節する方法、光合成応答が迅速化した植物の作出方法、および光合成応答が迅速化した植物の栽培のためのシステム
26日前
個人
詐欺保険
1か月前
続きを見る
他の特許を見る