TOP
|
特許
|
意匠
|
商標
特許ウォッチ
Twitter
他の特許を見る
公開番号
2025173972
公報種別
公開特許公報(A)
公開日
2025-11-28
出願番号
2024079890
出願日
2024-05-16
発明の名称
電荷分布推定装置、電荷分布推定方法、及びプログラム
出願人
NTT株式会社
,
国立大学法人北海道大学
代理人
個人
,
個人
主分類
G01W
1/16 20060101AFI20251120BHJP(測定;試験)
要約
【課題】雷雲内における電荷分布をより狭い領域で測定することが可能な電荷分布推定装置、電荷分布推定方法、及びプログラムを提供する。
【解決手段】雷雲51内の初期電荷分布を取得するデータ取得部11と、雷雲51の領域を複数の分割面D1~DMに区分し、各分割面D1~DMにて雷放電に起因して生じる中和電荷を算出する第1算出部131と、初期電荷分布及び中和電荷に基づいて、各分割面の電荷分布を算出する第2算出部132を備える。
【選択図】 図2
特許請求の範囲
【請求項1】
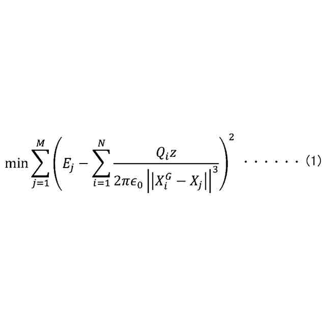
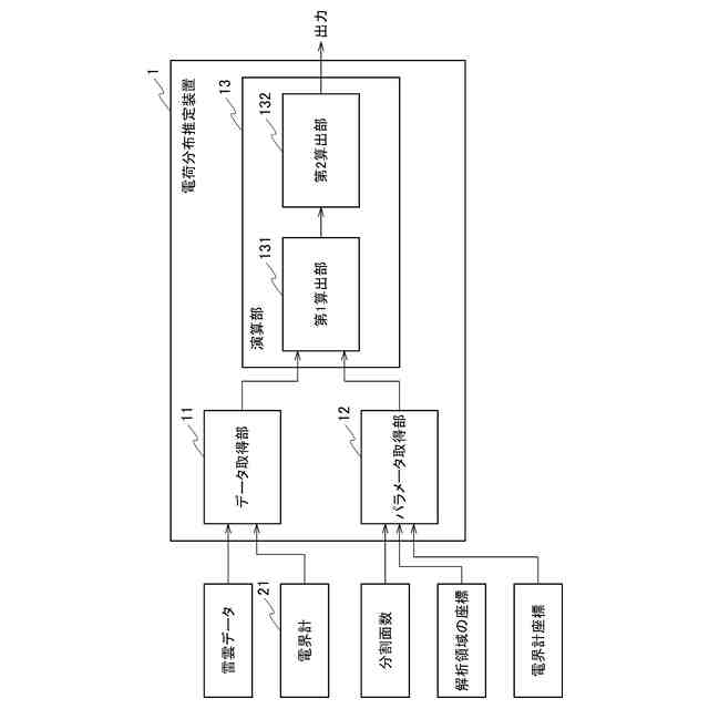
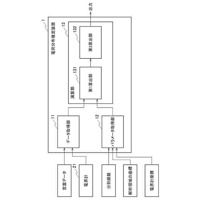
雷雲内の初期電荷分布を取得するデータ取得部と、
雷雲の領域を複数の分割面に区分し、各分割面にて雷放電に起因して生じる中和電荷を算出する第1算出部と、
前記初期電荷分布及び前記中和電荷に基づいて、各分割面の電荷分布を算出する第2算出部と、
を備えた電荷分布推定装置。
続きを表示(約 480 文字)
【請求項2】
前記第1算出部は、地上に設置した電界計にて測定された電場分布に基づいて、前記中和電荷を算出する
請求項1に記載の電荷分布推定装置。
【請求項3】
前記第2算出部は、前記初期電荷分布及び前記中和電荷に加え、前記電界計の位置情報に基づいて、各分割面の電荷分布を算出する
請求項2に記載の電荷分布推定装置。
【請求項4】
前記第2算出部は、前記分割面の一点に中和電荷が集中していると仮定して、前記電荷分布を算出する
請求項1~3のいずれか1項に記載の電荷分布推定装置。
【請求項5】
取得部が、雷雲内の初期電荷分布を取得し、
第1算出部が、雷雲の領域を複数の分割面に区分した各分割面にて、雷放電に起因して生じる中和電荷を算出し、
第2算出部が、前記初期電荷分布、及び前記中和電荷に基づいて、各分割面の電荷分布を算出する
電荷分布推定方法。
【請求項6】
請求項1に記載の電荷分布推定装置としてコンピュータを機能させるプログラム。
発明の詳細な説明
【技術分野】
【0001】
本開示は、雷雲内の電荷分布を推定する電荷分布推定装置、電荷分布推定方法、及びプログラムに関する。
続きを表示(約 1,200 文字)
【背景技術】
【0002】
雷の発生を予測する技術として、非特許文献1、2には落雷間近の雷雲を検出する雷ナウキャストについて開示されている。雷ナウキャストでは、過去の発雷データと現在の雲レーダ情報に基づき、これらの統計的な関係から所定の領域ごとに発雷の確率を算出することが開示されている。
【0003】
非特許文献3には、フィールドミルなどの電界計により地上での電場分布を測定し、この電場分布に基づいて雷雲内の電荷分布を推定して、地上における所定の領域での発雷確率を予測することが開示されている。
【0004】
非特許文献4には、雷の発生原因、及び直撃雷、誘導雷、逆流雷などの落雷により生じる被害の種類について開示されている。
【先行技術文献】
【非特許文献】
【0005】
気象庁,雷ナウキャスト,解析・予測技術,気象庁、解析・予測技術 (jma.go.jp)
気象庁,雷ナウキャスト,落雷可能性領域の検出気象庁、落雷間近の雷雲の検出 (jma.go.jp)
高橋劭.“雷の科学.”東京大学出版会(2009).
株式会社昭電,雷の発生と雷害の種類,雷害の仕組み[雷の発生と雷撃の種類]、基礎知識、雷害対策、株式会社昭電 (sdn.co.jp)
【発明の概要】
【発明が解決しようとする課題】
【0006】
しかし、上述した非特許文献1、2に開示された技術では、数km四方など広い領域における過去の落雷地点のデータ、及び雷雲の概略的な形状を変数として取り入れて、落雷の発生領域を推定しているので、地上の数m単位の狭い領域での避雷対策が困難である。
【0007】
また、非特許文献3には、雷雲内における電荷分布を測定して対地放電の発生を予測することが記載されているものの、雷雲内における数m単位の狭い領域において電荷分布を測定することについて開示されていない。
【0008】
非特許文献4についても同様に、雷雲内における数m単位の狭い領域において電荷分布を測定することについて開示されていない。このため、地上の数m単位の狭い領域における対地放電を高精度に予測することができないという問題があった。
【0009】
本開示は、上記事情に鑑みてなされたものであり、その目的とするところは、雷雲内における電荷分布をより狭い領域で測定することが可能な電荷分布推定装置、電荷分布推定方法、及びプログラムを提供することにある。
【課題を解決するための手段】
【0010】
本開示の一態様の電荷分布推定装置は、雷雲内の初期電荷分布を取得するデータ取得部と、雷雲の領域を複数の分割面に区分し、各分割面にて雷放電に起因して生じる中和電荷を算出する第1算出部と、前記初期電荷分布及び前記中和電荷に基づいて、各分割面の電荷分布を算出する第2算出部と、を備える。
(【0011】以降は省略されています)
この特許をJ-PlatPat(特許庁公式サイト)で参照する
関連特許
NTT株式会社
検知装置
8日前
NTT株式会社
計算装置
1か月前
NTT株式会社
計算装置
23日前
NTT株式会社
通信システム
14日前
NTT株式会社
遠隔制御システム
今日
NTT株式会社
遠隔制御システム
今日
NTT株式会社
復号装置及び復号方法
1か月前
NTT株式会社
推定装置及び推定方法
2か月前
NTT株式会社
情報処理装置、及び情報処理方法
1か月前
NTT株式会社
情報処理装置、及び情報処理方法
1か月前
NTT株式会社
通信システム、方法及びプログラム
1か月前
NTT株式会社
通信システム、方法及びプログラム
1か月前
NTT株式会社
窒素固定能を有する藻類の選抜方法
24日前
NTT株式会社
刺激制御装置、および刺激制御方法
22日前
NTT株式会社
無線通信システム及び無線通信方法
22日前
NTT株式会社
映像処理装置、方法及びプログラム
2か月前
NTT株式会社
交通量推定装置及び交通量推定方法
2か月前
NTT株式会社
映像処理装置、方法及びプログラム
今日
NTT株式会社
評価装置、評価方法およびプログラム
1か月前
NTT株式会社
座屈剥離構造の予測装置および予測方法
1か月前
NTT株式会社
電子署名システム、方法及びプログラム
1か月前
NTT株式会社
量子鍵配送システム及び量子鍵配送方法
1か月前
NTT株式会社
情報処理装置およびボットネット分析方法
29日前
NTT株式会社
微生物の土壌中での生存性を調節する方法
1か月前
NTT株式会社
測定装置、測定方法、及び、測定プログラム
1か月前
NTT株式会社
推定装置、復元装置、推定方法、およびプログラム
1か月前
NTT株式会社
数モードマルチコア光ファイバ及び光伝送システム
29日前
NTT株式会社
情報処理システム、情報処理装置および情報処理方法
1か月前
NTT株式会社
データ処理装置、データ処理方法、およびプログラム
2日前
NTT株式会社
組合せ最適化方法、組合せ最適化装置、及びプログラム
2か月前
NTT株式会社
通信品質予測装置、通信品質予測方法、及びプログラム
2か月前
NTT株式会社
電荷分布推定装置、電荷分布推定方法、及びプログラム
今日
NTT株式会社
学習装置、分類装置、学習方法、分類方法及びプログラム
29日前
NTT株式会社
伝搬グラフ復元装置、伝搬グラフ復元方法、及びプログラム
1か月前
NTT株式会社
植物の開花時期制御方法および開花時期が制御された植物の作出方法
14日前
NTT株式会社
施工計画立案装置、施工計画立案方法、及び施工計画立案プログラム
2か月前
続きを見る
他の特許を見る