TOP
|
特許
|
意匠
|
商標
特許ウォッチ
Twitter
他の特許を見る
10個以上の画像は省略されています。
公開番号
2025138505
公報種別
公開特許公報(A)
公開日
2025-09-25
出願番号
2024037641
出願日
2024-03-11
発明の名称
交通量推定装置及び交通量推定方法
出願人
NTT株式会社
,
株式会社NTTデータグループ
,
阪神高速道路株式会社
代理人
弁理士法人酒井国際特許事務所
主分類
G08G
1/00 20060101AFI20250917BHJP(信号)
要約
【課題】交通量の推定を精度良く行い、交通課題を適切に解決する。
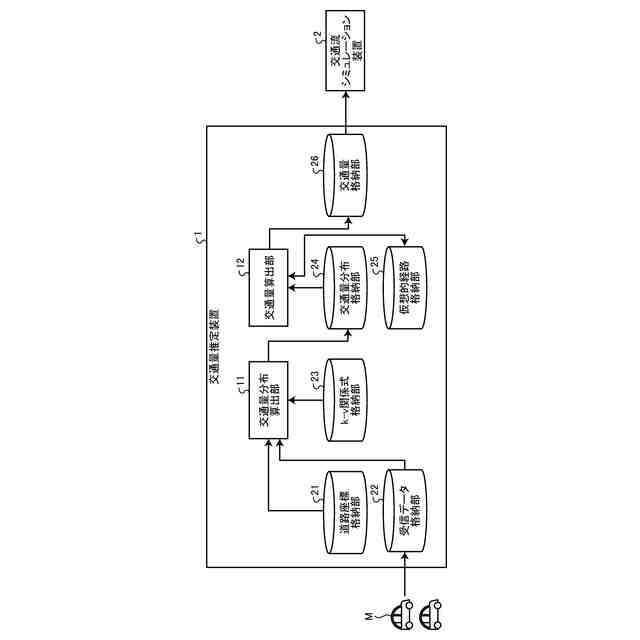
【解決手段】交通量分布算出部11は、対象エリア内の交通密度と速度との関係式と速度情報に基づき、前記対象エリアにおける出発地点から目的地点までの複数地点の近傍領域の集合である仮想的経路における前記近傍領域毎の交通量分布を算出する。交通量算出部12は、前記近傍領域毎の交通量分布を用いて前記近傍領域毎の交通量の同時確率の最適化を行い、前記近傍領域それぞれにおける交通量を推定する。
【選択図】図1
特許請求の範囲
【請求項1】
対象エリア内の交通密度と速度との関係式及び速度情報に基づき、前記対象エリアにおける出発地点から目的地点までの複数地点の近傍領域の集合である仮想的経路における前記近傍領域毎の交通量分布を算出する交通量分布算出部と、
前記近傍領域毎の交通量分布を用いて前記近傍領域毎の交通量の同時確率の最適化を行い、前記近傍領域それぞれにおける交通量を推定する交通量算出部と
を備えたことを特徴とする交通量推定装置。
続きを表示(約 530 文字)
【請求項2】
前記交通量算出部は、交通量の同時確率の最適化として交通量の同時確率が最大となる場合の交通量を算出して、算出した交通量を前記近傍領域それぞれにおける交通量の推定値とすることを特徴とする請求項1に記載の交通量推定装置。
【請求項3】
前記交通量算出部は、前記近傍領域における前記速度情報に基づき、前記出発地点から出発した車両の経路出発台数と前記近傍領域それぞれにおける前記交通量との関係式を生成して、前記関係式及び前記交通量分布を基に前記近傍領域の交通量の同時確率を算出し、算出した前記近傍領域の交通量の同時確率を最適化することを特徴とする請求項1又は2に記載の交通量推定装置。
【請求項4】
対象エリア内の交通密度と速度との関係式及び速度情報に基づき、前記対象エリアにおける出発地点から目的地点までの複数地点の近傍領域の集合である仮想的経路における前記近傍領域毎の交通量分布を算出する交通量分布算出工程と、
前記近傍領域毎の交通量分布を用いて前記近傍領域毎の交通量の同時確率の最適化を行い、前記近傍領域それぞれにおける交通量を推定する交通量算出工程と
を含んだことを特徴とする交通量推定方法。
発明の詳細な説明
【技術分野】
【0001】
本発明は、交通量推定装置及び交通量推定方法に関する。
続きを表示(約 2,000 文字)
【背景技術】
【0002】
近年、渋滞・混雑等の交通課題の解決のため、対象エリアの交通量を推定し、デジタルツイン上で高精度な交通流のシミュレーションを行うことで、実環境の交通流を再現して将来の交通流の予測を行う技術が検討されている。
【0003】
例えば、混雑具合を通知する技術として、各地点のスマートフォンから送られる位置情報及び速度データを用いて算出した交通情報を地図上に表示させるライブ交通情報やVICS(登録商標)(Vehicle Information and Communication System)による渋滞通知情報が存在する。また、スマートフォン上で動作する特定のアプリケーションからユーザの位置情報を取得して算出した混雑状況を、ヒートマップとして色で段階的に表現する混雑レーダーが提供されている。
【0004】
さらに、対象エリアの交通量の推定については、各種情報提供サービスからの情報提供の他に、クラウドに接続された車両から随時収集される速度情報を活用して、交通工学に基づくモデルを用いて、計測された地点の交通量を推定する技術が提案されている。この速度を計測した地点は、「リンク」と呼ばれる場合がある。
【先行技術文献】
【非特許文献】
【0005】
Google map,“ライブ交通情報”,(online),令和5年8月9日,Google,(令和5年8月9日検索),インターネット<URL: https://support.google.com/maps/answer/6337401?hl=ja>
VICSセンター,“渋滞情報”,(online),令和5年8月9日,一般財団法人 道路交通情報通信システムセンター,(令和5年8月9日検索),インターネット<URL: https://www.vics.or.jp/know/service/index.html>
Yahoo!マップ,“Yahoo混雑レーダー”,(online),令和5年8月9日,ヤフー株式会社,(令和5年8月9日検索),インターネット<URL: https://map.yahoo.co.jp/maps?layer=crowd&v=3>
三輪,山本,竹下,森川,“プローブカーの速度情報を用いた動的OD交通量の推定可能性に関する研究”,(online),令和5年8月9日,土木学会論文集D Vol.64 No.2,252-265,2008.5,(令和5年8月9日検索),インターネット<URL: https://www.jstage.jst.go.jp/article/jscejd/64/2/64_2_252/_pdf/-char/ja>
【発明の概要】
【発明が解決しようとする課題】
【0006】
しかしながら、ライブ交通情報やVICSによる渋滞通知情報は、速度情報を表示しており、交通量の情報は提供されていない。また、混雑レーダーは、地図を所定の大きさに区切ったメッシュ単位の混雑度であり、道路単位の交通量を把握することは困難である。
【0007】
また、従来の対象エリアの交通量の推定手法では、個別のリンク毎に推定を行うため、時間的/空間的距離の影響が考慮されないという問題がある。時間的/空間的距離の影響としては、例えば、時間帯が近く且つ距離が近い地点は同様の交通量となることが考えられる。また、従来の対象エリアの交通量の推定手法では、速度を測定していない地点においては交通量の推定ができないおそれがある。これらのことから、従来の対象エリアの交通量の推定手法では、交通量の推定を適切に行うことは困難であった。
【0008】
本発明は、上記に鑑みてなされたものであって、交通量の推定精度を向上させ、交通課題を適切に解決することを目的とする。
【課題を解決するための手段】
【0009】
上述した課題を解決し、目的を達成するために、交通量分布算出部は、対象エリア内の交通密度と速度との関係式と速度情報に基づき、前記対象エリアにおける出発地点から目的地点までの複数地点の近傍領域の集合である仮想的経路における前記近傍領域毎の交通量分布を算出する。交通量算出部は、前記近傍領域毎の交通量分布を用いて前記近傍領域毎の交通量の同時確率の最適化を行い、前記近傍領域それぞれにおける交通量を推定する。
【発明の効果】
【0010】
本発明によれば、交通量の推定精度を向上させ、交通課題を適切に解決することができる。
【図面の簡単な説明】
(【0011】以降は省略されています)
この特許をJ-PlatPat(特許庁公式サイト)で参照する
関連特許
NTT株式会社
計算装置
1か月前
NTT株式会社
計算装置
14日前
NTT株式会社
通信システム
5日前
NTT株式会社
無線通信システム及び無線通信方法
13日前
NTT株式会社
刺激制御装置、および刺激制御方法
13日前
NTT株式会社
窒素固定能を有する藻類の選抜方法
15日前
NTT株式会社
評価装置、評価方法およびプログラム
29日前
NTT株式会社
情報処理装置およびボットネット分析方法
20日前
NTT株式会社
数モードマルチコア光ファイバ及び光伝送システム
20日前
NTT株式会社
推定装置、復元装置、推定方法、およびプログラム
1か月前
NTT株式会社
学習装置、分類装置、学習方法、分類方法及びプログラム
20日前
NTT株式会社
植物の開花時期制御方法および開花時期が制御された植物の作出方法
5日前
NTT株式会社
連続発話推定方法、連続発話推定装置、およびプログラム
28日前
NTT株式会社
文生成装置、文生成学習装置、文生成方法、文生成学習方法及びプログラム
1か月前
NTT株式会社
植物の光合成応答を調節する方法、光合成応答が迅速化した植物の作出方法、および光合成応答が迅速化した植物の栽培のためのシステム
5日前
株式会社スターオークス
補助信号機及び信号機
12日前
トヨタ自動車株式会社
路側装置
12日前
国立大学法人九州工業大学
情報伝達システム
12日前
トヨタ自動車株式会社
路側装置
12日前
トヨタ自動車株式会社
路側装置
12日前
トヨタ自動車株式会社
路側装置
12日前
テイ・エス テック株式会社
車両内装システム
12日前
日本電気株式会社
監視装置、監視方法、及びプログラム
12日前
JR東日本コンサルタンツ株式会社
特別通行者判別システム
12日前
IHI運搬機械株式会社
飛行体誘導システムとその方法
12日前
太平洋工業株式会社
異常判定装置及び異常判定プログラム
13日前
株式会社エーワン
室内異常検出方法、そのシステム及びプログラム
7日前
株式会社J-QuAD DYNAMICS
車両用注意喚起装置
13日前
株式会社デンソー
データ記憶方法、データ記憶装置、記憶媒体
13日前
トヨタ自動車株式会社
監視装置
5日前
トヨタ自動車株式会社
情報処理装置及び情報処理方法
12日前
日産自動車株式会社
楽曲情報共有方法及び楽曲情報共有装置
12日前
トヨタ自動車株式会社
車載表示装置
13日前
トヨタ自動車株式会社
車載表示装置
13日前
トヨタ自動車株式会社
車載表示装置
13日前
大衆酷翼(北京)科技有限公司
駐車スペース自動通知システム
14日前
続きを見る
他の特許を見る