TOP
|
特許
|
意匠
|
商標
特許ウォッチ
Twitter
他の特許を見る
公開番号
2025169499
公報種別
公開特許公報(A)
公開日
2025-11-14
出願番号
2024074209
出願日
2024-05-01
発明の名称
通信システム
出願人
NTT株式会社
,
国立大学法人北海道国立大学機構
代理人
個人
,
個人
主分類
H04B
10/80 20130101AFI20251107BHJP(電気通信技術)
要約
【課題】光ファイバによる通信帯域の拡大と伝送距離の長延化を実現させる通信システムを提供する。
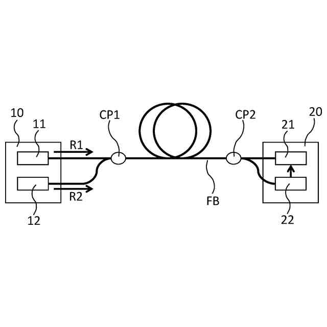
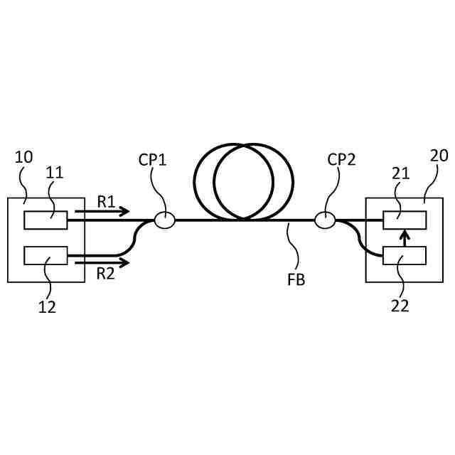
【解決手段】通信システムは、光ファイバFBと、光ファイバFBの一端側に設置され、第1伝送光R1及び第2伝送光R2を光ファイバFBに入力する第1装置10と、光ファイバFBの他端側に設置され、光ファイバFBを介して伝搬された、第1伝送光R1及び第2伝送光R2を受信する第2装置20と、を備える。第1伝送光R1の波長は、第2伝送光R2の波長よりも短く、光ファイバFBのラマン応答による吸収が2dB以下となる帯域に設定されている。
【選択図】図1
特許請求の範囲
【請求項1】
光ファイバと、
前記光ファイバの一端側に設置され、第1伝送光及び第2伝送光を前記光ファイバに入力する第1装置と、
前記光ファイバの他端側に設置され、前記光ファイバを介して伝搬された、前記第1伝送光及び前記第2伝送光を受信する第2装置と、
を備え、
前記第1伝送光の波長は、前記第2伝送光の波長よりも短く、前記光ファイバのラマン応答による吸収が2dB以下となる帯域に設定されている、通信システム。
続きを表示(約 400 文字)
【請求項2】
前記第2装置は、前記第2伝送光を変換して得られる電力を出力する光電変換器を備える、請求項1に記載の通信システム。
【請求項3】
前記第2装置は、前記第1伝送光を受信して、前記光ファイバを介して伝送された信号を出力する受信回路を備え、
前記受信回路は、前記光電変換器から出力された電力によって駆動する、
請求項2に記載の通信システム。
【請求項4】
前記第2装置は、第3伝送光を前記光ファイバに入力する送信回路を備え、
前記送信回路は、前記光電変換器から出力された電力によって駆動する、
請求項2に記載の通信システム。
【請求項5】
前記光ファイバは複数のコアを有し、
前記コアごとに、前記第1装置及び前記第2装置が設けられる、
請求項1~4のいずれか一項に記載の通信システム。
発明の詳細な説明
【技術分野】
【0001】
本開示は、通信システムに関する。
続きを表示(約 1,400 文字)
【背景技術】
【0002】
非特許文献1には、光ファイバによる伝送距離の長延化のため、光ファイバを用いて伝送される光をラマン増幅によって増幅する技術が開示されている。
【0003】
非特許文献2には、光ファイバを用いて伝送された高強度光と遠隔地の光電変換器によって電力を発生させることで、遠隔地での電力供給を実現する光ファイバ給電技術が開示されている。
【先行技術文献】
【非特許文献】
【0004】
M. N. Islam, "Raman amplifiers for telecommunications," IEEE Journal of Selected Topics in Quantum Electronics, vol. 8, no. 3, pp. 548-559 (2002)
K. Kurokawa et al., "Stimulated Raman Scattering and Power-over-Fiber Property of Multi-core Fiber," in Optical Fiber Communication Conference (OFC) 2022, paper Tu3F.3 (2022).
【発明の概要】
【発明が解決しようとする課題】
【0005】
非特許文献1に記載された技術で用いられるラマン増幅では、増幅対象の帯域に対して、10~15THz程度周波数の高い高強度光を、励起光として使用している。一方、高強度光よりも高い周波数を有する帯域を通信帯域として使用した場合における、高強度光が通信品質に与える影響は不明であり、光ファイバによる通信帯域の拡大と伝送距離の長延化が制限されているという問題がある。
【0006】
本開示は、上記問題に鑑みてなされたものである。その目的とするところは、光ファイバによる通信帯域の拡大と伝送距離の長延化を実現できる通信システムを提供することにある。
【課題を解決するための手段】
【0007】
上述した課題を解決するために、本開示の一態様に係る通信システムは、光ファイバと、光ファイバの一端側に設置され、第1伝送光及び第2伝送光を光ファイバに入力する第1装置と、光ファイバの他端側に設置され、光ファイバを介して伝搬された、第1伝送光及び第2伝送光を受信する第2装置と、を備える。第1伝送光の波長は、第2伝送光の波長よりも短く、光ファイバのラマン応答による吸収が2dB以下となる帯域に設定されている。
【発明の効果】
【0008】
本開示によれば、光ファイバによる通信帯域の拡大と伝送距離の長延化を実現できる通信システムを提供することができる。
【図面の簡単な説明】
【0009】
本開示に係る通信システムの構成を示す模式図である。
光ファイバのラマン応答特性の一例を示す図である。
ラマン利得係数と吸収量の関係の一例を示す図である。
ラマン応答スペクトルの一例を示す図である。
【発明を実施するための形態】
【0010】
次に、図面を参照して、本開示の実施の形態を詳細に説明する。説明において、同一のものには同一符号を付して重複説明を省略する。
(【0011】以降は省略されています)
特許ウォッチbot のツイートを見る
この特許をJ-PlatPat(特許庁公式サイト)で参照する
関連特許
個人
イヤーピース
14日前
個人
イヤーマフ
28日前
個人
監視カメラシステム
1か月前
キーコム株式会社
光伝送線路
1か月前
個人
スイッチシステム
22日前
個人
スキャン式車載用撮像装置
1か月前
サクサ株式会社
中継装置
1か月前
サクサ株式会社
中継装置
1か月前
サクサ株式会社
無線システム
1か月前
キヤノン電子株式会社
画像読取装置
1か月前
個人
映像表示装置、及びARグラス
23日前
サクサ株式会社
無線通信装置
1か月前
株式会社リコー
画像形成装置
1か月前
キヤノン電子株式会社
画像読取装置
22日前
サクサ株式会社
無線通信装置
1か月前
キヤノン電子株式会社
画像読取装置
14日前
ヤマハ株式会社
放音制御装置
22日前
日本電気株式会社
海底分岐装置
1か月前
キヤノン株式会社
画像処理装置
17日前
キヤノン株式会社
情報処理装置
1日前
個人
発信機及び発信方法
1か月前
キヤノン電子株式会社
シート搬送装置
14日前
株式会社JVCケンウッド
通信システム
1か月前
株式会社NTTドコモ
端末
1か月前
株式会社NTTドコモ
端末
1か月前
株式会社NTTドコモ
端末
1か月前
有限会社フィデリックス
マイクロフォン
1か月前
シャープ株式会社
表示装置
14日前
シャープ株式会社
表示装置
14日前
キヤノン電子株式会社
画像処理システム
1か月前
日本セラミック株式会社
超音波送受信器
1日前
株式会社NTTドコモ
端末
1か月前
沖電気工業株式会社
画像形成装置
1か月前
株式会社NTTドコモ
端末
1か月前
シャープ株式会社
端末装置
1か月前
技術開発合同会社
電子拡大鏡
23日前
続きを見る
他の特許を見る