TOP
|
特許
|
意匠
|
商標
特許ウォッチ
Twitter
他の特許を見る
10個以上の画像は省略されています。
公開番号
2025166850
公報種別
公開特許公報(A)
公開日
2025-11-07
出願番号
2024071000
出願日
2024-04-25
発明の名称
監視装置、監視方法、及びプログラム
出願人
日本電気株式会社
代理人
個人
主分類
G08B
21/02 20060101AFI20251030BHJP(信号)
要約
【課題】作業領域における監視対象の存在を適切に把握し、監視することが可能な監視装置を提供すること。
【解決手段】本開示にかかる監視装置は、所定の作業領域の環境を示す環境情報を取得する環境情報取得部と、環境情報に基づいて、作業領域に存在する監視対象を検出する監視対象検出部と、監視対象の状態を監視する監視部と、監視部における監視結果を出力する結果出力部と、を備える。
【選択図】図1
特許請求の範囲
【請求項1】
所定の作業領域の環境を示す環境情報を取得する環境情報取得部と、
前記環境情報に基づいて、前記作業領域に存在する監視対象を検出する監視対象検出部と、
前記監視対象の状態を監視する監視部と、
前記監視部における監視結果を出力する結果出力部と、を備える
監視装置。
続きを表示(約 1,200 文字)
【請求項2】
前記監視対象に対する監視の優先度を設定する優先度設定部をさらに備え、
前記監視部は、前記環境情報に基づいて前記監視対象の状態を特定し、前記監視対象の状態に基づいて、前記監視対象又は前記監視対象の周囲における危険度を算出し、
前記優先度設定部は、前記危険度に基づいて前記優先度を設定する
請求項1に記載の監視装置。
【請求項3】
前記結果出力部は、前記危険度が所定以上の場合に、前記監視対象に警告を出力する
請求項2に記載の監視装置。
【請求項4】
前記環境情報取得部は、前記作業領域又は前記作業領域の周辺に設けられたカメラの撮影画像、前記作業領域内を移動する移動体に設けられたカメラの撮影画像、及び前記作業領域内の作業者に装着されたウェアラブル端末から取得された情報の少なくともいずれか一つを、前記環境情報として時系列的に取得する
請求項1又は2に記載の監視装置。
【請求項5】
前記作業領域のうち、前記環境情報が取得されていない、又は前記環境情報が不足している領域である特定領域を特定する特定部と、
前記作業領域内を移動する移動体に前記特定領域の撮影を指示する指示部と、をさらに備え、
前記環境情報取得部は、前記指示部からの指示に従い撮影された前記特定領域の画像を前記環境情報として取得する
請求項1又は2に記載の監視装置。
【請求項6】
前記特定部は、前記特定領域を撮影するための撮影位置及び撮影方向を特定し、
前記指示部は、前記撮影位置及び前記撮影方向を前記移動体に指示する
請求項5に記載の監視装置。
【請求項7】
前記指示部は、前記移動体の移動経路、及び前記特定領域が複数ある場合の撮影順序の少なくとも一方を前記移動体に指示する
請求項5に記載の監視装置。
【請求項8】
前記指示部は、前記特定領域に存在する前記監視対象の撮影を指示する
請求項5に記載の監視装置。
【請求項9】
所定の作業領域の環境を示す環境情報を取得する環境情報取得ステップと、
前記環境情報に基づいて、前記作業領域に存在する監視対象を検出する監視対象検出ステップと、
前記監視対象の状態を監視する監視ステップと、
前記監視ステップにおける監視結果を出力する結果出力ステップと、を含む
監視方法。
【請求項10】
所定の作業領域の環境を示す環境情報を取得する環境情報取得ステップと、
前記環境情報に基づいて、前記作業領域に存在する監視対象を検出する監視対象検出ステップと、
前記監視対象の状態を監視する監視ステップと、
前記監視ステップにおける監視結果を出力する結果出力ステップと、をコンピュータに実行させる
プログラム。
発明の詳細な説明
【技術分野】
【0001】
本開示は、監視装置、監視方法、及びプログラムに関する。
続きを表示(約 1,700 文字)
【背景技術】
【0002】
ドローンなどの移動体を用いて所定の領域を撮影し、撮影画像に用いて当該領域にいる人物等を監視する技術が知られている。関連する技術として、特許文献1は、監視マップ情報を分割してできた小エリアの監視すべき時間間隔の初期値を設定し、当該初期値に対する残り時間が小さいエリアを優先して監視するように、無人機の移動経路を定める監視計画作成装置を開示する。
【先行技術文献】
【特許文献】
【0003】
特開2022-152215号公報
【発明の概要】
【発明が解決しようとする課題】
【0004】
例えば土木現場や建設現場では、重機や資材が配置されている中で多くの作業者が業務を行う。このような作業現場では、作業者や現場関係者に危険が及ばないよう、適切な安全管理が求められる。そのため、監視対象となる人物や物品の状況を適切に把握し、管理する必要がある。
【0005】
本開示の目的は、上述した課題を鑑み、作業領域における監視対象の存在を適切に把握し、監視することが可能な監視装置、監視方法、及びプログラムを提供することにある。
【課題を解決するための手段】
【0006】
本開示にかかる監視装置は、
所定の作業領域の環境を示す環境情報を取得する環境情報取得部と、
前記環境情報に基づいて、前記作業領域に存在する監視対象を検出する監視対象検出部と、
前記監視対象の状態を監視する監視部と、
前記監視部における監視結果を出力する結果出力部と、を備えるものである。
【0007】
本開示にかかる監視方法は、
所定の作業領域の環境を示す環境情報を取得する環境情報取得ステップと、
前記環境情報に基づいて、前記作業領域に存在する監視対象を検出する監視対象検出ステップと、
前記監視対象の状態を監視する監視ステップと、
前記監視ステップにおける監視結果を出力する結果出力ステップと、を含むものである。
【0008】
本開示にかかるプログラムは、
所定の作業領域の環境を示す環境情報を取得する環境情報取得ステップと、
前記環境情報に基づいて、前記作業領域に存在する監視対象を検出する監視対象検出ステップと、
前記監視対象の状態を監視する監視ステップと、
前記監視ステップにおける監視結果を出力する結果出力ステップと、をコンピュータに実行させるものである。
【発明の効果】
【0009】
本開示にかかる監視装置、監視方法、及びプログラムは、作業領域における監視対象の存在を適切に把握し、監視することを可能とする。
【図面の簡単な説明】
【0010】
図1は、監視装置の構成を示すブロック図である。
図2は、監視装置が行う処理を示すフローチャートである。
図3は、監視システムの構成を示すブロック図である。
図4は、ウェアラブル端末及び固定カメラが行う処理を示すフローチャートである。
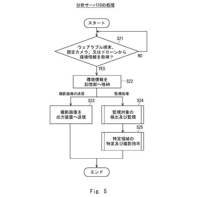
図5は、分析サーバが行う処理を示すフローチャートである。
図6は、分析サーバが行う処理を示すフローチャートである。
図7は、分析サーバが行う処理を示すフローチャートである。
図8は、ドローンが行う処理を示すフローチャートである。
図9は、出力装置が行う処理を示すフローチャートである。
図10は、特定領域の撮影を行う前の作業領域の例を示す図である。
図11は、特定領域の撮影を行う前のカメラの撮影範囲の例を示す図である。
図12は、複数のドローンにより特定領域の撮影を行っている作業領域の例を示す図である。
図13は、特定領域の撮影を行った後のカメラの撮影範囲の例を示す図である。
図14は、分析サーバ等を実現するコンピュータのハードウェア構成を例示するブロック図である。
【発明を実施するための形態】
(【0011】以降は省略されています)
この特許をJ-PlatPat(特許庁公式サイト)で参照する
関連特許
日本電気株式会社
監視装置
1か月前
日本電気株式会社
監視装置
1か月前
日本電気株式会社
特定装置
1日前
日本電気株式会社
管理装置
1か月前
日本電気株式会社
異常検知装置
1か月前
日本電気株式会社
光モジュール
1か月前
日本電気株式会社
推論装置および推論方法
24日前
日本電気株式会社
ラインカード及びイジェクタ
1か月前
日本電気株式会社
考査装置、考査方法、プログラム
25日前
日本電気株式会社
時刻維持装置および時刻維持方法
23日前
日本電気株式会社
考査装置、考査方法、プログラム
25日前
日本電気株式会社
交渉装置、交渉方法及びプログラム
9日前
日本電気株式会社
ボロメータアレイ、及び光検出方法
3日前
日本電気株式会社
交渉装置、交渉方法及びプログラム
1か月前
日本電気株式会社
監視装置、監視方法、及びプログラム
22日前
日本電気株式会社
レコメンド装置およびレコメンド方法
1か月前
日本電気株式会社
端末、端末の制御方法及びプログラム
1か月前
日本電気株式会社
店舗端末、情報処理方法、及びプログラム
24日前
日本電気株式会社
乗車誘導計画装置および乗車誘導計画方法
15日前
日本電気株式会社
情報処理装置、情報処理方法、プログラム
1日前
日本電気株式会社
情報処理装置、情報処理方法、プログラム
24日前
日本電気株式会社
経路選択装置、経路選択方法及びプログラム
22日前
日本電気株式会社
健康管理装置、健康管理方法及びプログラム
1か月前
日本電気株式会社
合意判定装置、合意判定方法及びプログラム
1か月前
日本電気株式会社
処理システム、処理方法、およびプログラム
1か月前
日本電気株式会社
合意判定装置、合意判定方法及びプログラム
9日前
日本電気株式会社
視聴支援装置、視聴支援方法及びプログラム
1か月前
日本電気株式会社
制御装置、無線端末、方法、及びプログラム
2日前
日本電気株式会社
行動推奨装置、行動推奨方法及びプログラム
1か月前
日本電気株式会社
発話認識装置、プログラム及び発話認識方法
3日前
日本電気株式会社
処理システム、処理方法、およびプログラム
1か月前
日本電気株式会社
情報処理装置、情報処理方法、及びプログラム
23日前
日本電気株式会社
情報処理装置、分析方法、及び分析プログラム
1か月前
日本電気株式会社
画像生成装置、画像生成方法、及びプログラム
1か月前
日本電気株式会社
情報処理装置、情報処理方法、及びプログラム
23日前
日本電気株式会社
質問処理装置、質問処理方法、及びプログラム
15日前
続きを見る
他の特許を見る