TOP
|
特許
|
意匠
|
商標
特許ウォッチ
Twitter
他の特許を見る
公開番号
2025166406
公報種別
公開特許公報(A)
公開日
2025-11-06
出願番号
2024070412
出願日
2024-04-24
発明の名称
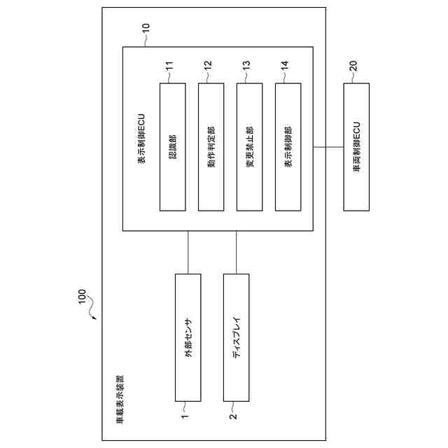
車載表示装置
出願人
トヨタ自動車株式会社
,
株式会社デンソー
代理人
個人
,
個人
,
個人
,
個人
主分類
G08G
1/16 20060101AFI20251029BHJP(信号)
要約
【課題】乗員が違和感を覚えることを抑制しつつ、車間距離制御における先行車両との設定車間表示をディスプレイに表示する。
【解決手段】車載表示装置100は、ディスプレイ2に、先行車両と自車両との車間距離制御の設定車間距離を示す設定車間表示を表示する。車載表示装置100は、自車両の車線変更動作の有無を判定する動作判定部12と、自車両アイコンVAと、自車両アイコンVAの前側に設定車間表示Wと、区画線KAと、をディスプレイ2に表示させる表示制御部14と、を備える。表示制御部14は、自車両の車線変更動作が有りと判定された場合、車線変更が完了するまで、設定車間表示Wを表示させない。
【選択図】図2
特許請求の範囲
【請求項1】
先行車両との車間距離が設定車間距離となるように車速を制御する車間距離制御を実行可能な自車両において、車載のディスプレイに、前記設定車間距離を示す設定車間表示を表示する車載表示装置であって、
前記自車両が自車線から隣接車線へ走行する車線を変更する動作である車線変更動作の有無を判定する動作判定部と、
前記自車両を示す自車両アイコンと、前記自車両アイコンの前側に前記設定車間表示と、走行車線の区画線と、を前記ディスプレイに表示させる機能を有し、前記自車両の車線変更に伴って前記自車両アイコンと、前記区画線と、の相対的な表示位置を変更する表示制御部と、
を備え、
前記表示制御部は、前記動作判定部によって前記車線変更動作が有りと判定された場合、車線変更が完了するまで、前記設定車間表示を表示させない、車載表示装置。
続きを表示(約 450 文字)
【請求項2】
前記表示制御部は、前記動作判定部によって前記車線変更動作が有りと判定された場合、前記車間距離制御が実行中であっても、車線変更が完了するまで前記設定車間表示を表示させない、請求項1に記載の車載表示装置。
【請求項3】
前記車線変更動作は、前記自車両が区画線を跨ぐ動作、前記自車両のウィンカーレバーが操作されたこと、および車線変更を自動で行う車線変更制御の実行が開始されたこと、のうち少なくともいずれかを含む、請求項1に記載の車載表示装置。
【請求項4】
前記動作判定部によって前記車線変更動作が有りと判定された場合、車線変更が完了するまで、前記設定車間距離の変更を禁止する変更禁止部を更に備える、請求項1に記載の車載表示装置。
【請求項5】
前記表示制御部は、前記動作判定部によって前記車線変更動作が有りと判定された場合、前記設定車間距離の変更ができないことを示す変更不可表示を表示する、請求項1~4のいずれか一項に記載の車載表示装置。
発明の詳細な説明
【技術分野】
【0001】
本開示は、先行車両との車間距離を制御する車間距離制御を実行可能な自車両において、車間距離制御における設定車間表示をディスプレイに表示する車載表示装置に関する。
続きを表示(約 1,700 文字)
【背景技術】
【0002】
例えば、特許文献1には、自車両と先行車両との間に設定された設定車間距離が保たれるように、自車両の車速を制御する車間距離制御を実行可能な装置が記載されている。この装置では、ディスプレイにおいて、車間距離制御における設定車間距離を示す設定車間表示を自車両アイコンの前側に表示している。これにより、自車両のドライバは、自車両アイコンの前側に表示された設定車間表示に基づいて、先行車両と自車両との間に設定された設定車間距離を把握することができる。
【先行技術文献】
【特許文献】
【0003】
特開2021-028777号公報
【発明の概要】
【発明が解決しようとする課題】
【0004】
上述した装置において、設定車間表示、走行車線の区画線、および自車両アイコンをディスプレイに表示することがある。この場合、自車両が車線変更を行うと自車両アイコンもそれに伴って区画線を跨ぐように移動する。ここで、先行車両に対する車間距離制御は、自車両が走行線内を走行中に実行される。このため、自車両アイコンが走行車線の区画線を跨いでいるにも関わらず、自車両アイコンの前側に車間距離制御の設定車間表示がディスプレイに表示されていると、自車両の乗員が違和感を覚えることがある。
【0005】
このため、本開示は、乗員が違和感を覚えることを抑制しつつ、車間距離制御における先行車両との設定車間表示を表示することができる車載表示装置について説明する。
【課題を解決するための手段】
【0006】
本開示の一態様は、[1]「先行車両との車間距離が設定車間距離となるように車速を制御する車間距離制御を実行可能な自車両において、車載のディスプレイに、前記設定車間距離を示す設定車間表示を表示する車載表示装置であって、前記自車両が自車線から隣接車線へ走行する車線を変更する動作である車線変更動作の有無を判定する動作判定部と、前記自車両を示す自車両アイコンと、前記自車両アイコンの前側に前記設定車間表示と、前記走行車線の区画線と、を前記ディスプレイに表示させる機能を有し、前記自車両の車線変更に伴って前記自車両アイコンと、前記区画線と、の相対的な表示位置を変更する表示制御部と、を備え、前記表示制御部は、前記動作判定部によって前記車線変更動作が有りと判定された場合、車線変更が完了するまで、前記設定車間表示を表示させない、車載表示装置。」である。
【0007】
この車載表示装置は、自車両に車線変更動作が有りと判定された場合、車線変更が完了するまで、設定車間表示をディスプレイに表示しない。つまり、ディスプレイにおいて自車両アイコンが走行車線の区画線を跨いでいる状態のときには、自車両アイコンの前側に設定車間表示が表示されない。そして、車載表示装置は、自車両の車線変更が完了した場合に、自車両アイコンの前側に設定車間表示を表示させる。これにより、車載表示装置は、乗員が違和感を覚えることを抑制しつつ、車間距離制御における先行車両との設定車間表示を表示することができる。
【0008】
本開示の一態様は、[2]「前記表示制御部は、前記動作判定部によって前記車線変更動作が有りと判定された場合、前記車間距離制御が実行中であっても、車線変更が完了するまで前記設定車間表示を表示させない、上記[1]に記載の車載表示装置。」であってもよい。
【0009】
本開示の一態様は、[3]「前記車線変更動作は、前記自車両が区画線を跨ぐ動作、前記自車両のウィンカーレバーが操作されたこと、および車線変更を自動で行う車線変更制御の実行が開始されたこと、のうち少なくともいずれかを含む、上記[1]または[2]に記載の車載表示装置。」であってもよい。
【0010】
本開示の一態様は、[4]「前記動作判定部によって前記車線変更動作が有りと判定された場合、車線変更が完了するまで、前記設定車間距離の変更を禁止する変更禁止部を更に備える、上記[1]~[3]のいずれかに記載の車載表示装置。」であってもよい。
(【0011】以降は省略されています)
この特許をJ-PlatPat(特許庁公式サイト)で参照する
関連特許
トヨタ自動車株式会社
電池
10日前
トヨタ自動車株式会社
車両
1か月前
トヨタ自動車株式会社
電池
10日前
トヨタ自動車株式会社
車両
1か月前
トヨタ自動車株式会社
車両
4日前
トヨタ自動車株式会社
方法
3日前
トヨタ自動車株式会社
電池
1か月前
トヨタ自動車株式会社
車両
1か月前
トヨタ自動車株式会社
電池
24日前
トヨタ自動車株式会社
電池
18日前
トヨタ自動車株式会社
配管
19日前
トヨタ自動車株式会社
方法
1か月前
トヨタ自動車株式会社
車体
1か月前
トヨタ自動車株式会社
車両
18日前
トヨタ自動車株式会社
車両
19日前
トヨタ自動車株式会社
電動車
18日前
トヨタ自動車株式会社
電動車
19日前
トヨタ自動車株式会社
蓄電池
1か月前
トヨタ自動車株式会社
ロータ
19日前
トヨタ自動車株式会社
モータ
1か月前
トヨタ自動車株式会社
タンク
3日前
トヨタ自動車株式会社
エンジン
10日前
トヨタ自動車株式会社
路側装置
1か月前
トヨタ自動車株式会社
蓄電装置
10日前
トヨタ自動車株式会社
蓄電装置
10日前
トヨタ自動車株式会社
蓄電装置
10日前
トヨタ自動車株式会社
蓄電装置
11日前
トヨタ自動車株式会社
蓄電装置
10日前
トヨタ自動車株式会社
路側装置
1か月前
トヨタ自動車株式会社
蓄電装置
10日前
トヨタ自動車株式会社
蓄電装置
11日前
トヨタ自動車株式会社
路側装置
1か月前
トヨタ自動車株式会社
電動車両
1か月前
トヨタ自動車株式会社
鋳造装置
1か月前
トヨタ自動車株式会社
判定装置
18日前
トヨタ自動車株式会社
蓄電装置
10日前
続きを見る
他の特許を見る