TOP
|
特許
|
意匠
|
商標
特許ウォッチ
Twitter
他の特許を見る
10個以上の画像は省略されています。
公開番号
2025140268
公報種別
公開特許公報(A)
公開日
2025-09-29
出願番号
2024039559
出願日
2024-03-14
発明の名称
映像処理装置、方法及びプログラム
出願人
NTT株式会社
,
国立大学法人 筑波大学
代理人
弁理士法人アイル知財事務所
主分類
G06T
7/10 20170101AFI20250919BHJP(計算;計数)
要約
【課題】本開示は、処理遅延を抑制しつつ、検出対象でない画像を目的の物体の画像であると誤って判定してしまうことを抑制することが可能な映像処理装置を提供することを目的とする。
【解決手段】映像処理装置10は、入力画像が入力される入力部11と、指定した記憶画像を記憶するデータベース13と、前記入力画像の任意の画素と前記記憶画像における前記任意の画素に関連付けられる画素とを比較し、前記比較の結果と前記任意の画素の周辺の画素の画素値とに基づいて、所定範囲の画素値を有する前記任意の画素を検出対象画素であると判定する、判定処理部12と、を備える。
【選択図】図2
特許請求の範囲
【請求項1】
入力画像が入力される入力部と、
指定した記憶画像を記憶する記憶部と、
前記入力画像の任意の画素と前記記憶画像における前記任意の画素に関連付けられる画素とを比較し、前記比較の結果と前記任意の画素の周辺の画素の画素値とに基づいて、所定範囲の画素値を有する前記任意の画素を検出対象画素であると判定する、判定処理部と、
を備える映像処理装置。
続きを表示(約 2,300 文字)
【請求項2】
前記判定処理部は、
前記入力画像の任意の画素の画素値と前記記憶画像の前記任意の画素に関連付けられる画素の画素値との差分を算出し、
前記差分、及び、前記任意の画素を含む入力画像において前記任意の画素に近接する画素の画素値、前記任意の画素を含む入力画像とは異なる入力画像における前記任意の画素に関連する位置に位置する画素の画素値、又は、前記異なる入力画像における前記任意の画素に関連する位置に近接して位置する画素の画素値に基づいて、所定の範囲の画素値を有する前記任意の画素を検出対象画素であると判定する、
請求項1に記載の映像処理装置。
【請求項3】
前記判定処理部は、前記任意の画素が検出対象画素であるかを判定するにあたり、
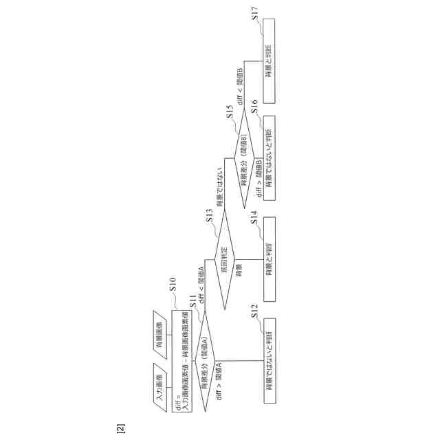
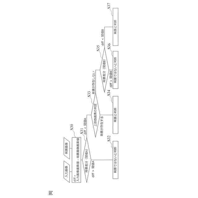
前記差分と第1の閾値とを比較し、
前記差分が前記第1の閾値との関係で所定の条件を満たす場合に、検出対象画素である又は検出対象画素でないと判断し、
前記差分が前記第1の閾値との関係で前記所定の条件を満たさない場合において、
近接する画素が検出対象画素である及び検出対象画素でないのいずれか一方を満たすと判定されていた場合に、前記差分が前記第1の閾値との関係で前記所定の条件を満たさない画素を、前記近接する画素の判定に合わせるように検出対象画素である及び検出対象画素でないのいずれか一方を満たすと判定し、
近接する画素が検出対象画素である及び検出対象画素でないのいずれか他方を満たすと判定されていた場合に、前記第1の閾値とは異なる第2の閾値と前記差分とを比較することにより、前記差分が前記第1の閾値との関係で前記所定の条件を満たさない画素が検出対象画素であるか否かを判定する、
請求項2に記載の映像処理装置。
【請求項4】
前記判定処理部は、
前記差分が前記第1の閾値との関係で前記所定の条件を満たさない場合において、
前記任意の画素に対する検出対象画素か否かの判定の前に近接する画素が検出対象画素である及び検出対象画素でないのいずれか一方を満たすと判定されていた場合に、前記差分が前記第1の閾値との関係で前記所定の条件を満たさない画素を、前記近接する画素の判定に合わせるように検出対象画素である及び検出対象画素でないのいずれか一方を満たすと判定し、
前記任意の画素に対する検出対象画素か否かの判定の前に近接する画素が検出対象画素である及び検出対象画素でないのいずれか他方を満たすと判定されていた場合に、前記第1の閾値とは異なる前記第2の閾値と前記差分とを比較することにより、前記差分が前記第1の閾値との関係で前記所定の条件を満たさない画素が検出対象画素であるか否かを判定する、
請求項3に記載の映像処理装置。
【請求項5】
前記判定処理部は、
前記差分が前記第1の閾値との関係で前記所定の条件を満たさない場合において、
前記任意の画素に対する検出対象画素か否かの判定の前に近接する複数の画素が連続して検出対象画素である及び検出対象画素でないのいずれか一方を満たすと判定されていた場合に、前記差分が前記第1の閾値との関係で前記所定の条件を満たさない画素を、前記近接する複数の画素の判定に合わせるように検出対象画素である及び検出対象画素でないのいずれか一方を満たすと判定し、
前記任意の画素に対する検出対象画素か否かの判定の前に近接する複数の画素が連続して検出対象画素である及び検出対象画素でないのいずれか他方を満たすと判定されていた場合に、前記第1の閾値とは異なる前記第2の閾値と前記差分とを比較することにより、前記差分が前記第1の閾値との関係で前記所定の条件を満たさない画素が検出対象画素であるか否かを判定する、
請求項3に記載の映像処理装置。
【請求項6】
前記判定処理部は、
前記差分が前記第1の閾値との関係で前記所定の条件を満たさない場合において、
前記任意の画素の上部の複数の画素が連続して検出対象画素である及び検出対象画素でないのいずれか一方を満たすと判定されていた場合に、前記差分が前記第1の閾値との関係で前記所定の条件を満たさない画素を前記上部の複数の画素の判定に合わせるように検出対象画素である及び検出対象画素でないのいずれか一方を満たすと判定し、
前記任意の画素の上部の複数の画素が連続して検出対象画素である及び検出対象画素でないのいずれか他方を満たすと判定されていた場合に、前記第1の閾値とは異なる前記第2の閾値と前記差分とを比較することにより、前記差分が前記第1の閾値との関係で前記所定の条件を満たさない画素が検出対象画素であるか否かを判定する、
請求項3に記載の映像処理装置。
【請求項7】
入力画像が入力される入力部、指定した記憶画像を記憶する記憶部、及び、判定処理部を備える映像処理装置が実行する映像処理方法であって、
前記判定処理部が、
前記入力画像の任意の画素と前記記憶画像における前記任意の画素に関連付けられる画素とを比較すること、
前記比較の結果と前記任意の画素に近接する画素の画素値とに基づいて、所定範囲の画素値を有する前記任意の画素を検出対象画素であると判定すること、
を含む映像処理方法。
【請求項8】
請求項1から6のいずれか一項に記載の映像処理装置に備わる各機能部としてコンピュータを実現させるためのプログラム。
発明の詳細な説明
【技術分野】
【0001】
本開示は、画像から目的の部分を切り抜く映像処理方法に関する。
続きを表示(約 2,400 文字)
【背景技術】
【0002】
リアルタイムの映像音声を用いたコミュニケーションには、映像から人物などの物体を抽出したり切り抜いたりする映像処理が重要である。そこで、従来より、Web会議などで使用されるリアルタイムの映像音声を用いたコミュニケーションツールにおいて、目的の物体の映像を背景から切り抜いて、別の背景と合成する技術が用いられている。このようなコミュニケーションツールでは、適切な背景などと合成することで、より円滑なコミュニケーションを可能としている。
【0003】
また、特にリアルタイム性が求められる映像音声コミュニケーションでは、その映像音声を用いたコミュニケーションのリアルタイム性の要件を満たす処理時間内に映像音声処理を実行することが必要となる。例えば、遠隔合奏では、240BPM(beat per minute)の曲で、1拍あたり1/10程度のずれまでが許容されると仮定すると、1拍の時間は60秒/240BPM=0.25秒であり、その1/10である0.025秒、すなわち25ミリ秒程度のずれが許容限度となる。
【0004】
当該処理時間には、カメラの撮影時間、カメラ内部での処理時間、ネットワークでの伝送時間、コミュニケーションシステム自体の映像音声処理時間等のすべてが含まれる。したがって、物体抽出や切り抜き処理に利用することができる時間は、数ミリ秒以下に限定される。
【0005】
例えば、非特許文献1には、画像を認識するための手法として、領域や境界の情報に基づいて画像を分割する画像セグメンテーションの手法が開示されている。また、非特許文献2には、画像セグメンテーションの一環として、ファジー理論、ディープラーニング、遺伝的アルゴリズムなどの人間の思考を模す手法が開示されている。
【0006】
また、非特許文献3には、人物写真の背景を抽出したうえで削除し別の背景を合成する切り抜き精度の高い、MODNetによる切り抜き手法が開示されている。具体的には、非特許文献3では、前景画像(目的の物体の画像)と背景画像との分離に用いるマスク画像を用いて、前景画像を切り抜く。さらに、非特許文献4には、入力画像の画素値とあらかじめ用意した背景画像の画素値とを比較して特定の画素値を有する画素を抽出する背景差分法が開示されている。
【先行技術文献】
【非特許文献】
【0007】
Freixenet, Jordi, et al. “Yet Another Survey on Image Segmentation: Region and Boundary Information Integration. ”European conference on computer vision. Springer,Berlin, Heidelberg, 2002.
Chouhan, Siddharth Singh, Ajay Kaul, and Uday Pratap Singh. “Soft computing approaches for image segmentation: a survey” Multimedia Tools and Applications 77.21 (2018): 28483-28537
Z. Ke et al., “Modnet: Real-Time Trimap-Free Portrait Matting via Objective Decomposition,” vol. 36, pp. 1140-1147, Jun. 2022. インターネット <https://ojs.aaai.org/index.php/AAAI/article/view/19999>
J. Morita, Y. Iwai, and M. Yachida, “Separation of background and object in an indoor scene” IPSJ SIG Computer Vision and Image Media, vol. 34(2002-CVIM-133), pp. 9-16, May 2002.
【発明の概要】
【発明が解決しようとする課題】
【0008】
しかしながら、非特許文献3に示されるMODNetで前景画像を切り抜く場合には、あらかじめ入力画像を学習モデルに入力してマスク画像を生成する必要がある。そのうえでマスク画像を使用して前景画像を抽出し、オリジナル画像、前景画像及びマスク画像を連結する。このように非特許文献3の技術では、複数の処理が必要となるとともに各処理間の連結処理も必要となる(前処理・後処理・処理前後の連結処理)。このため、上記のように物体抽出や切り抜き処理に利用することのできる時間は数ミリ秒以下であるところ、非特許文献3に示される方法では最低でも3フレーム以上の遅延(60fpsで50ms以上)が発生してしまう。
【0009】
一方、非特許文献4に示される背景差分法によれば比較的処理遅延を小さくすることはできるが、画素値を比較するため、影、照明、太陽光等の光の影響を受け、抽出する範囲を誤ってしまう可能性がある。
【0010】
このため、映像から目的の物体を抽出する映像処理において、処理遅延を抑制しつつ、
検出対象でない画像を目的の物体の画像であると誤って判定してしまうことを抑制することが望まれていた。
(【0011】以降は省略されています)
特許ウォッチbot のツイートを見る
この特許をJ-PlatPat(特許庁公式サイト)で参照する
関連特許
NTT株式会社
計算装置
1か月前
NTT株式会社
計算装置
14日前
NTT株式会社
通信システム
5日前
NTT株式会社
復号装置及び復号方法
1か月前
NTT株式会社
情報処理装置、及び情報処理方法
1か月前
NTT株式会社
情報処理装置、及び情報処理方法
1か月前
NTT株式会社
通信システム、方法及びプログラム
1か月前
NTT株式会社
無線通信システム及び無線通信方法
13日前
NTT株式会社
刺激制御装置、および刺激制御方法
13日前
NTT株式会社
窒素固定能を有する藻類の選抜方法
15日前
NTT株式会社
通信システム、方法及びプログラム
1か月前
NTT株式会社
評価装置、評価方法およびプログラム
29日前
NTT株式会社
量子鍵配送システム及び量子鍵配送方法
1か月前
NTT株式会社
座屈剥離構造の予測装置および予測方法
1か月前
NTT株式会社
電子署名システム、方法及びプログラム
1か月前
NTT株式会社
微生物の土壌中での生存性を調節する方法
1か月前
NTT株式会社
情報処理装置およびボットネット分析方法
20日前
NTT株式会社
測定装置、測定方法、及び、測定プログラム
1か月前
NTT株式会社
数モードマルチコア光ファイバ及び光伝送システム
20日前
NTT株式会社
推定装置、復元装置、推定方法、およびプログラム
1か月前
NTT株式会社
情報処理システム、情報処理装置および情報処理方法
1か月前
NTT株式会社
組合せ最適化方法、組合せ最適化装置、及びプログラム
1か月前
NTT株式会社
学習装置、分類装置、学習方法、分類方法及びプログラム
20日前
NTT株式会社
伝搬グラフ復元装置、伝搬グラフ復元方法、及びプログラム
1か月前
NTT株式会社
植物の開花時期制御方法および開花時期が制御された植物の作出方法
5日前
NTT株式会社
連続発話推定方法、連続発話推定装置、およびプログラム
28日前
NTT株式会社
文生成装置、文生成学習装置、文生成方法、文生成学習方法及びプログラム
1か月前
NTT株式会社
植物の光合成応答を調節する方法、光合成応答が迅速化した植物の作出方法、および光合成応答が迅速化した植物の栽培のためのシステム
5日前
個人
詐欺保険
1か月前
個人
縁伊達ポイン
1か月前
個人
5掛けポイント
12日前
個人
職業自動販売機
5日前
個人
RFタグシート
23日前
個人
QRコードの彩色
1か月前
個人
ペルソナ認証方式
20日前
個人
地球保全システム
1か月前
続きを見る
他の特許を見る